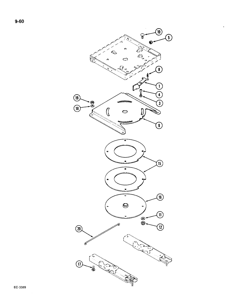
Запчасти Case IH 1896 (9-060) - SEAT SWIVEL KIT (09) - CHASSIS/ATTACHMENTS

Схема запчастей Case IH 1896 - (9-060) - SEAT SWIVEL KIT (09) - CHASSIS/ATTACHMENTS
16
1
5
11
15
8
12
18
4
20
9
19
3
17
10
FIT
1:1
100%

Артикул

Название

Примечание

Количество

A165295

KIT - swivel, seat, Includes: Ref. 1 - 20

1шт.

1

A48225

HANDLE

- swivel

1шт.

3

113-291

BOLT,Hex, 3/8" - 16 x 3/4", Gr 5, Full Thd

- hex, 3/8 NC x 3/4 inch, grade 5

1шт.

4

A48224

BUSHING

SPACER - latch

1шт.

5

129-775

NUT

- weld, 3/8 inch NC

1шт.

8

A45521

SPRING

- latch

1шт.

9

A47378

PLATE

- swivle

1шт.

10

11-620

CARRIAGE BOLT,Short NK, 3/8"-16 x 1 1/4", G2

BOLT - round head square neck, 3/8 NC x 1-1/4 inch

4шт.

11

495-11041

WASHER,0.406" ID x 0.812" OD x 0.065" W

(Flat, 13/32 x 13/16 x 1/16") 3/8", SAE

5шт.

12

131-6

LOCK NUT,3/8"-16, GC

NUT - hex lock, 3/8 inch NC

4шт.

15

A45514

DISC

BEARING - swivel

2шт.

16

A45526

PLATE

- bottom swivel

1шт.

17

411-516

CARRIAGE BOLT,Sq Nk, 5/16" - 18 x 1", Gr 2

4шт.

18

192-45

LOCK WASHER

- lock, 5/16 inch

4шт.

19

129-518

NUT,5/16"-18, G5

- hex, 5/16 inch NC

4шт.

20

A45524

ROD

- connecting, latch

1шт.

Выбрано товаров: 0