Запчасти Case IH 1896 (9-118) - AIR CONDITIONING, COMPRESSOR MOUNTING AND DRIVE (09) - CHASSIS/ATTACHMENTS

Схема запчастей Case IH 1896 - (9-118) - AIR CONDITIONING, COMPRESSOR MOUNTING AND DRIVE (09) - CHASSIS/ATTACHMENTS
22
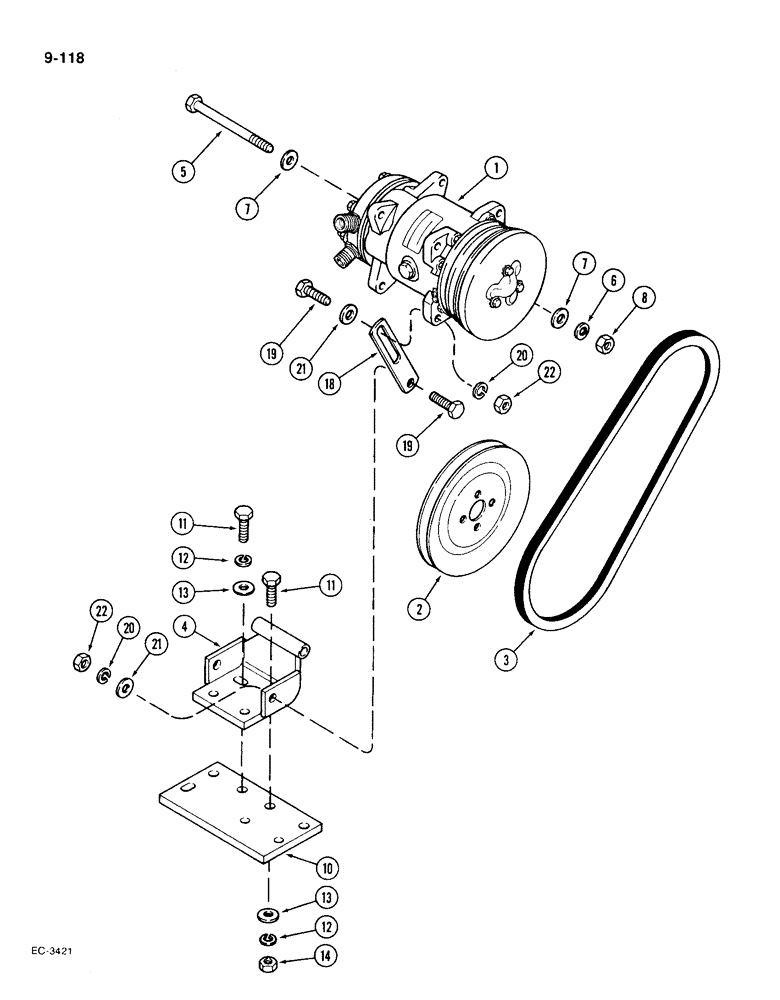
11
13
21
19
2
19
22
5
14
18
12
6
10
4
8
12
13
7
21
3
20
11
7
1
20
FIT
1:1
100%

Артикул

Название

Примечание

Количество

1

A177068

AIRCOND. COMPRESSOR

ASSEMBLY - air conditioning (See Figure 9-120)

1шт.

A177068R

REMAN-A/C COMPRESSOR

1896 DIESEL S/N 17895000 THRU 002 & UP (1/84-12/86)

1шт.

A177068C

CORE-DISTRIB KIT-FUE

Return Number

1шт.

2

A177276

PULLEY

- compressor drive

1шт.

3

A169970

BELT,0.50" W x 39.25" L

Drive, Compressor 0.50" W x 39.25" L

1шт.

4

1537178C1

SUPPORT

BRACKET - compressor mounting

1шт.

5

814-10130

BOLT,Hex, M10 x 1.5 x 130mm, Cl 8.8

- hex, 10 mm x 130 mm, class 8.8

1шт.

6

892-11010

LOCK WASHER,M10

1шт.

7

895-15010

WASHER,11mm ID x 24mm OD x 2mm Thk

2шт.

8

825-1110

NUT,M10, Cl 8

- hex, 10 mm, class 8

1шт.

10

A177345

PLATE

- base, compressor mounting

1шт.

11

814-10035

BOLT,Hex, M10 x 1.5 x 35mm, Cl 8.8, Full Thd

5шт.

12

892-11010

LOCK WASHER,M10

5шт.

13

895-15010

WASHER,11mm ID x 24mm OD x 2mm Thk

5шт.

14

825-1110

NUT,M10, Cl 8

- hex, 10 mm, class 8

2шт.

18

K207316

STRAP

- compressor adjusting

2шт.

19

814-10035

BOLT,Hex, M10 x 1.5 x 35mm, Cl 8.8, Full Thd

4шт.

20

892-11010

LOCK WASHER,M10

4шт.

21

895-15010

WASHER,11mm ID x 24mm OD x 2mm Thk

4шт.

22

825-1110

NUT,M10, Cl 8

- hex, 10 mm, class 8

4шт.

Выбрано товаров: 20