Качественные детали и логистика
Оригинальные и аналоговые запчасти с доставкой по России, Казахстану и Беларуси
©2022 PartSell ООО "Система" ИНН 2463123282 ОГРН 1212400004838
Центральный офис: г. Красноярск, Академика Киренского, д.87, пом.4
Телефон: 8 (800) 777-65-74 Email: zakaz@partsell.ru
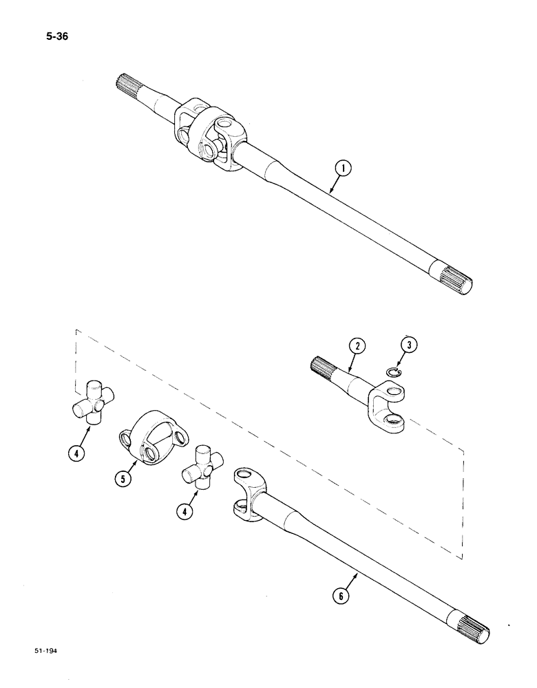
(5-36) - CARRARO FOUR WHEEL DRIVE FRONT AXLE, P.I.N. 17895962 AND AFTER, DRIVE SHAFTS
№
Артикул
Название
Примечание
Количество
1975363C1
AXLE
ASSEMBLY - front, Includes: Ref. 1 - 6
1шт.
1
NSS
NOT SOLD SEPARAT
SHAFT ASSEMBLY - drive, Includes: Ref. 2 - 6
2шт.
2
D143005
FORK
SHAFT - axle, wheel side
3
N14410
RING
- retaining, universal joint
8шт.
4
222625A1
SPIDER ASSY.
SPIDER - universal joint
5
D143002
BODY
- universal joint
6
222627A1
SHAFT
- axle, differential side
Выбрано товаров: 0