Запчасти Case IH 2090 (6-214) - POWER SHIFT TRANSMISSION, POWER SHIFT LINKAGE (06) - POWER TRAIN

Схема запчастей Case IH 2090 - (6-214) - POWER SHIFT TRANSMISSION, POWER SHIFT LINKAGE (06) - POWER TRAIN
38
36
26
28
24
20
17
26
18
10
7
37
17
15
5
2
3
6
22
4
21
1
9
25
27
9
14
10
8
13
16
29
23
35
19
FIT
1:1
100%

Артикул

Название

Примечание

Количество

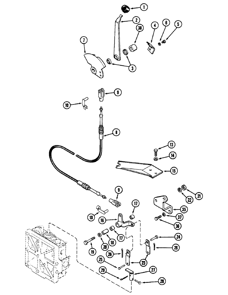
1

A137806

KNOB

- hand lever

1шт.

2

A149898

LEVER

- hand

1шт.

3

A59662

WASHER

- pivot, hand lever

2шт.

4

NLS

NO LONGER SERVICED

- stop, hand lever

1шт.

5

113-6

BOLT,Hex, 1/4" - 20 x 3/8", Gr 5, Full Thd

2шт.

6

192-19

LOCK WASHER,Helical Spring, 0.256" ID, CST, ZND

WASHER, LOCK, 1/4"

2шт.

7

A143835

QUADRANT

- lever

1шт.

8

A139235

CABLE

- quadrant to bellcrank (Order A143872)

1шт.

9

A60661

YOKE

- cable

2шт.

10

A147652

PIN

- yoke, spring

2шт.

13

113-207

BOLT,Hex, 3/8" - 16 x 1", Gr 5

2шт.

14

195-525

WASHER,3/8", SAE

- 13/32 x 13/16 x 1/16 inch (10 x 21 x 2 mm)

2шт.

15

A139248

STRAP

- mounting, control cable

1шт.

16

A139252

LEVER ASSY.

BELLCRANK ASSEMBLY - cable, Includes: Ref. 17

1шт.

17

A59429

BUSHING,15.95mm ID x 19.13mm OD x 12.83mm L

- pivot

2шт.

18

A65345

SHAFT

- pivot, bellcrank

1шт.

19

113-257

BOLT,Hex, 3/8" - 16 x 2-1/2", Gr 5

1шт.

20

195-525

WASHER,3/8", SAE

- 13/32 x 13/16 x 1/16 inch (10 x 21 x 2 mm)

1шт.

21

129-103

NUT,Hex, 3/8" - 16, Gr 5

NUT, 3/8"-16, G5

1шт.

22

92-6

LOCK WASHER,3/8"

1шт.

23

A63027

LINK

-, Serial Range: bellcrank-spool

2шт.

24

141-54

CLEVIS PIN,3/8" x 1 1/16"

link to bellcrank (10 x 28 mm) 3/8" x 1 1/16"

1шт.

25

A8824

PIN

- link to spool, 1/4 x 1-7/64 inch (6 x 28 mm)

1шт.

26

132-320

COTTER PIN,3/32" x 3/4"

PIN, SPLIT (COTTER), 3/32" x 3/4"

2шт.

27

A63028

LEVER

- return, valve spool

1шт.

28

A8823

PIN,6.29mm OD x 26.99mm L

- return lever, 1/4 x 27/64 inch (6 x 11 mm)

1шт.

29

132-26

COTTER PIN

Pin, Split (Cotter), 3/32" x 3/4"

1шт.

35

A63022

BRACKET

PLATE - bellcrank support

1шт.

36

113-208

BOLT,Hex, 3/8" - 16 x 1-1/4", Gr 5

2шт.

37

92-6

LOCK WASHER,3/8"

2шт.

38

A59664

SPACER

- hand lever

1шт.

Выбрано товаров: 31