Запчасти Case IH 2090 (6-234) - POWER SHIFT TRANSMISSION, INTERMEDIATE SHAFT (06) - POWER TRAIN

Схема запчастей Case IH 2090 - (6-234) - POWER SHIFT TRANSMISSION, INTERMEDIATE SHAFT (06) - POWER TRAIN
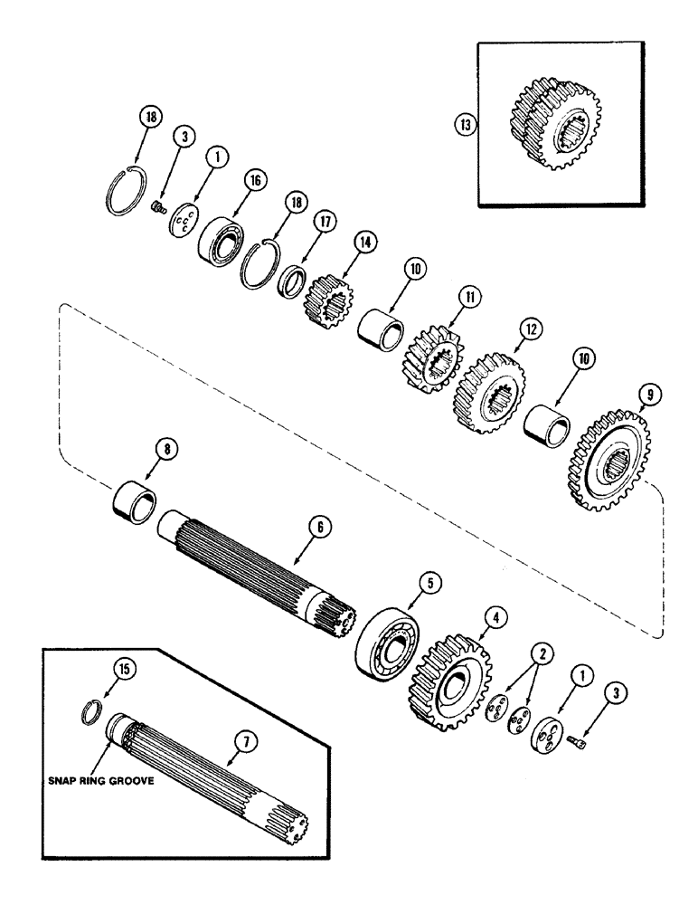
10
14
17
3
15
1
12
11
13
2
3
5
18
10
8
7
16
9
6
1
4
18
FIT
1:1
100%

Артикул

Название

Примечание

Количество

1

A150007

PLATE

- retaining

2шт.

2

A150006

SHIM

- plate, 0.005 inch (0.127 mm)

1шт.

2

A150005

SHIM

- plate, 0.007 inch (0.178 mm)

1шт.

3

165-120

HEX SOC SCREW,Prev Torque, 3/8" - 16 x 7/8"

SCREW - hex socket head nylock, 3/8 x 7/8 inch

6шт.

4

A150123

GEAR

- drop, driven (33 teeth)

1шт.

5

A142054

ROLLER BEARING,54.99mm ID x 120mm OD x 29mm W

BEARING - roller

1шт.

6

A154667

SHAFT

- intermediate (Transmission serial no. 10266957 and after)

1шт.

7

A151841

SHAFT

- intermediate (Prior to transmission serial no. 10266957)

1шт.

For repairs order 1-A154667 shaft, 1-A150007 plate and 3-165-120 screw.

1шт.

8

A151823

BUSHING

SPACER - fourth gear and center bearing

1шт.

9

A150003

GEAR

- driver, fourth (40 teeth) (Order A168039)

1шт.

10

A151822

SPACER

- gear, first and second, third and fourth (2-1/4 inch wide) (57 mm)

2шт.

11

A155486

GEAR

- driver, second (20 teeth) (Transmission serial no. 10240925 and after) (Order A168042)

1шт.

12

A155487

GEAR

- driver, third (30 teeth) (Transmission serial no. 10240925 and after) (Order A168041)

1шт.

13

A150440

GEAR

- driver, 20 and 30 external teeth and 33 internal splines (Prior to transmission serial no. 10240925) (Order A168041 and A168042)

1шт.

14

A150530

GEAR

- driver, first (17 teeth) (Order A168040)

1шт.

15

A27089

SNAP RING,2.36mm Thk, Ext

RING - snap, gear retaining (Used with A151841 shaft)

1шт.

16

A67350

BALL BEARING,49.99mm ID x 90mm OD x 30.16mm W

BEARING - ball, double row

1шт.

17

A153624

BUSHING

SPACER - rear bearing

1шт.

18

A150931

RING

- snap, bearing outer

2шт.

Выбрано товаров: 20