Запчасти Case IH 2090 (7-330) - G103198 POWER BRAKE VALVE (07) - BRAKES

Схема запчастей Case IH 2090 - (7-330) - G103198 POWER BRAKE VALVE (07) - BRAKES
6
4
49
20
21
24
30
33
10
12
11
13
8
51
2
25
7
4
45
36
46
31
32
17
18
3
22
47
48
50
15
5
35
37
9
41
1
16
44
34
23
19
40
FIT
1:1
100%

Артикул

Название

Примечание

Количество

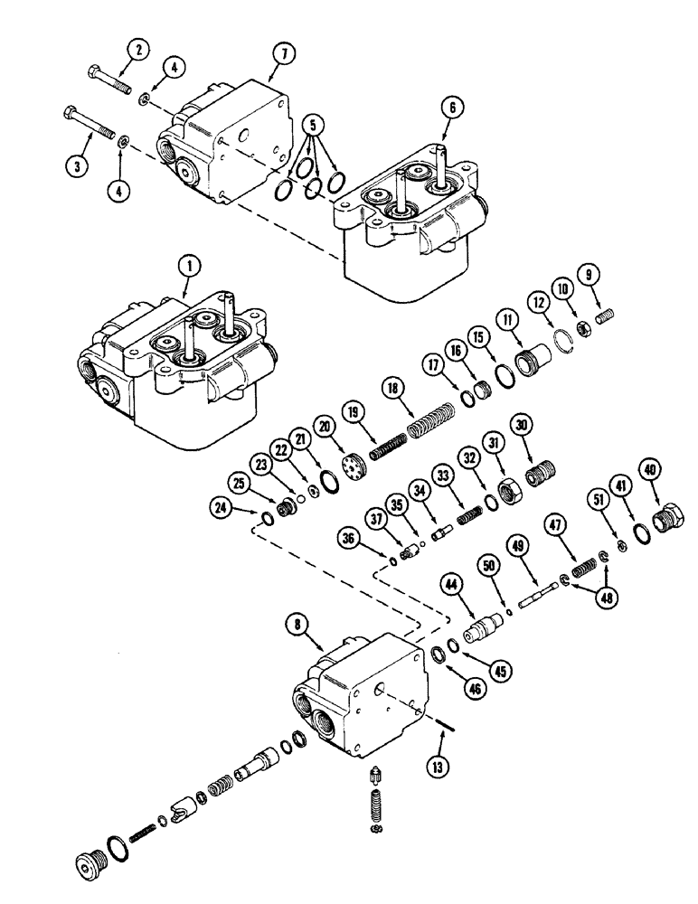
1

G103198

VALVE

ASSEMBLY - power brake (Replaces G100807) (Prior to P.I.N. 9916383, order G105178, Figure 7-336), Includes: Ref. 2 - 51, 53 - 67 on Figure 7-332 and 2 - 40 on Figure 7-334

1шт.

2

13-532

BOLT,Hex, 5/16" - 18 x 2", Gr 5

2шт.

3

13-540

BOLT,Hex, 5/16" - 18 x 2-1/2", Gr 5

2шт.

4

92-5

LOCK WASHER,5/16"

4шт.

5

G102086

O-RING,0.07" Thk x 0.864" ID, -20, Cl 6, 90 Duro

- 7/8 x 1 x 1/16 inch (22 x 25 x 2 mm) (Replaces G15366)

4шт.

6

REF

INSTRUCTION

VALVE ASSEMBLY - master cylinder

1шт.

7

G103366

COVER

ASSEMBLY - valve (Replaces G101143), Includes: Ref. 8 - 51 and 53 - 67 on Figure 7-332

1шт.

8

G101026

COVER

- valve

1шт.

9

178-457

SET SCREW,Hex Soc, 3/8"-16 x 3/4"

SCREW - hex socket head, flat point, 3/8 NC x 3/4 inch

1шт.

10

25-146

JAM NUT,Jam, 3/8"-16, G5

- hex jam, 3/8 inch NC

1шт.

11

G100761

RETAINER

- spring

1шт.

12

G100769

RING

- retaining, spring retainer

1шт.

13

138-14

LOCK PIN,1/16" x 1", Slotted

Pin, 1/16" x 1", Slotted

1шт.

15

A58602

O-RING,0.103" Thk x 0.924" ID, -119, Cl 5, 75 Duro

- 15/16 x 1-1/8 x 3/32 inch (24 x 29 x 2 mm)

1шт.

16

G100762

PISTON

- relief valve

1шт.

17

A17526

O-RING,0.614" ID x 0.754" OD x 0.7"

- 5/8 x 3/4 x 1/16 inch (16 x 19 x 2 mm)

1шт.

18

G100760

SPRING

- outer, 11/16 inch OD (17 mm)

1шт.

19

G100759

SPRING

- inner, 7/16 inch OD (11 mm)

1шт.

20

G102877

GUIDE

- spring (Replaces G100985)

1шт.

21

R15365

O-RING,0.989" ID x 1.129" OD x 0.07"

- spring guide

1шт.

22

G100588

WASHER

- 1/4 x 9/16 x 5/64 inch (6 x 14 x 2 mm)

1шт.

23

211-259

BALL,5/16" Dia

- pressure relief, 5/16 inch diameter (8 mm)

1шт.

24

D26872

O-RING

- 1/2 x 5/8 x 1/16 inch (13 x 16 x 2 mm) (Order A18414)

1шт.

25

G35351

SEAT

- ball

1шт.

30

G101153

PLUG

- locking relief valve

1шт.

31

218-1278

BHD LOCK NUT,Blkhd, 3/4"-16

NUT - lock, relief valve plug

1шт.

33

G101509

SPRING

- 3/8 OD x 1-5/32 inch free length (10 x 29 mm)

1шт.

34

G101513

GUIDE

- ball

1шт.

35

211-255

BALL,3/16 Dia

(5 mm) 3/16 Dia

1шт.

36

G103122

O-RING,0.064" Thk x 0.239" ID, -902, Cl 6, 90 Duro

1шт.

37

G101154

SEAT

- ball

1шт.

40

G100940

PLUG

- brake equalizer

1шт.

41

237-6010

O-RING,0.097" Thk x 0.755" ID, -910, Cl 6, 90 Duro

- 3/4 x 5/8 x 3/32 inch (19 x 16 x 2 mm)

1шт.

G101097

PISTON

PRESSURE EQUALIZER ASSEMBLY, Includes: Ref. 44 - 51

1шт.

G101098

PISTON

ASSEMBLY - pressure equalizer, Includes: Ref. 44 - 46

1шт.

44

NSS

NOT SOLD SEPARAT

PISTON - equalizer (Reference no. G100789)

1шт.

45

D26872

O-RING

- 1/2 x 5/8 x 1/16 inch (13 x 16 x 2 mm) (Order A18414)

1шт.

46

G100797

RING

- seal, 11/16 x 3/4 x 1/16 inch (17 x 19 x 2 mm)

1шт.

47

G100796

SPRING

- equalizer, 27/64 OD x 1-1/64 inch free length (11 x 26 mm)

1шт.

48

G100941

WASHER

- spring

2шт.

49

G100790

PIN

- piston

1шт.

50

T30271

O-RING,0.07" Thk x 0.114" ID, -6, Cl 5, 75 Duro

- 1/8 x 1/4 x 1/16 inch (3 x 6 x 2 mm)

1шт.

51

A59947

SNAP RING,0.453", Int, #45

Ring, Snap, 0.453", Int, #45

1шт.

32

218-5006

O-RING,0.087" Thk x 0.644" ID, -908, Cl 6, 90 Duro

- 41/64 x 13/16 x 3/32 inch (16 x 21 x 2 mm)

1шт.

Выбрано товаров: 44