Запчасти Case IH 2090 (8-380) - HYDRAULICS, GEAR AND PISTON PUMP ASSEMBLY, PRIOR TO TRANSMISSION SERIAL NUMBER 16210895 (CONTD) (08) - HYDRAULICS

Схема запчастей Case IH 2090 - (8-380) - HYDRAULICS, GEAR AND PISTON PUMP ASSEMBLY, PRIOR TO TRANSMISSION SERIAL NUMBER 16210895 (CONTD) (08) - HYDRAULICS
4
22
19
15
6
3
7
1
15
16
10
20
17
2
13
9
14
5
11
21
16
8
18
17
FIT
1:1
100%

Артикул

Название

Примечание

Количество

A163166

PUMP

ASSEMBLY - complete, hydraulic (Transmission serial no. 10265818 through 16210894), Includes: Ref. 1 - 22, 2 - 25 on Figure 8-372, 1 - 30 on Figure 8-374, 31 - 59 on Figure 8-376 and 1 - 41 on Figure 8-378

1шт.

1346425C1

REMAN-HYD PUMP

2090 PRIOR TO TRANSMISSION SERIAL NUMBER 16210895, Hydraulic Transmission Serial no. 10265818 though 16210894 (1/79-12/83), Reman for New PN A163166

1шт.

1346426C1

CORE-HYDRAULIC PUMP

Return Number

1шт.

A160318

PUMP

ASSEMBLY - gear and piston (Prior to transmission serial no. 10265818) (Order A163166), Includes: Ref. 1 - 22, 2 - 25 on Figure 8-372, 1 - 30 on Figure 8-374, 31 - 59 on Figure 8-376 and 1 - 41 on Figure 8-378

1шт.

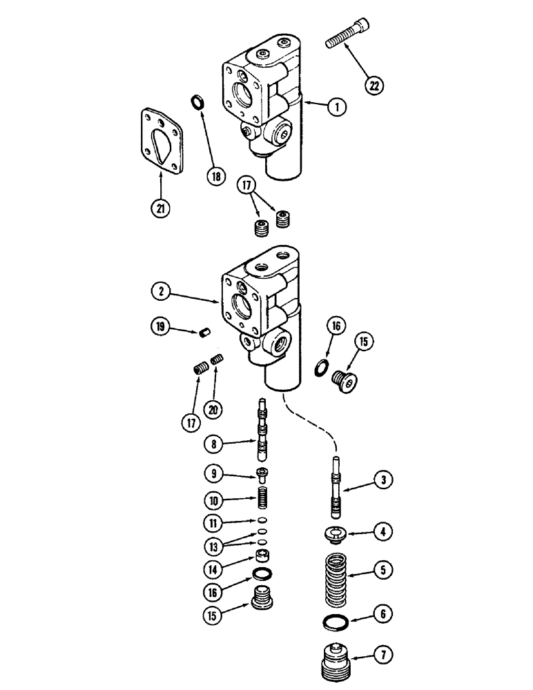
1

A49493

BALANCE VALVE

COMPENSATOR ASSEMBLY - (Replaces A47310), Includes: Ref. 2 - 22

1шт.

2

NSS

NOT SOLD SEPARAT

BODY - valve

1шт.

3

A47316

SPOOL

- pressure limiter

1шт.

4

A47317

PLUG

SEAT - pressure limiter spool

1шт.

5

A47318

SPRING

- pressure limiter spool

1шт.

6

A65918

O-RING,0.551" ID x 0.691" OD

- pressure plug

1шт.

Part of seal and gasket kit P/N A47567

1шт.

7

A47320

PLUG

- pressure limiter spool adjusting

1шт.

8

A47321

SPOOL

- load sensing

1шт.

9

A47322

SEAT

- load sensing spool

1шт.

10

A47323

SPRING

- load sensing spool

1шт.

11

A47324

DISC

- load sensing spool

1шт.

A47325

KIT

- shim, load sensing spool, Includes: Ref. 13

1шт.

13

NSS

NOT SOLD SEPARAT

SHIM - 0.005 inch (0.127 mm)

1шт.

13

NSS

NOT SOLD SEPARAT

SHIM - 0.010 inch (0.254 mm)

1шт.

13

NSS

NOT SOLD SEPARAT

SHIM - 0.020 inch (0.508 mm)

1шт.

14

A47326

CUP

- load sensing

1шт.

15

278548

PLUG,Hex, 7/16"-20 ORB

2шт.

16

218-5003

O-RING,0.072" Thk x 0.351" ID, -904, Cl 6, 90 Duro

- 23/64 x 1/2 x 5/64 inch (9 x 13 x 2 mm)

2шт.

17

221-850

PLUG,Hex Soc, 1/16"-27

3шт.

18

A138385

O-RING,0.07" Thk x 0.301" ID, -11, Cl 6, 90 Duro

- compensator

1шт.

19

A47645

PLUG

- valve body (Replaces A47422)

1шт.

20

A47327

FITTING

ORIFICE - valve body

1шт.

21

A47328

GASKET

- valve

1шт.

22

165-26

HEX SOC SCREW,#10 - 24 x 1 1/4"

SCREW - socket head cap, no. 10 x 1-1/4 inch

4шт.

A47567

KIT

- seal and gasket: Includes: Ref. 6, See Figure 8-372

1шт.

Выбрано товаров: 30