Запчасти Case IH 2090 (8-406) - REMOTE HYDRAULICS, REMOTE ATTACHMENT, NUMBER THREE CIRCUIT (08) - HYDRAULICS

Схема запчастей Case IH 2090 - (8-406) - REMOTE HYDRAULICS, REMOTE ATTACHMENT, NUMBER THREE CIRCUIT (08) - HYDRAULICS
4
21
20
14
16
1
15
10
23
12
7
13
19
16
8
11
2
22
12
24
18
3
5
6
20
17
9
FIT
1:1
100%

Артикул

Название

Примечание

Количество

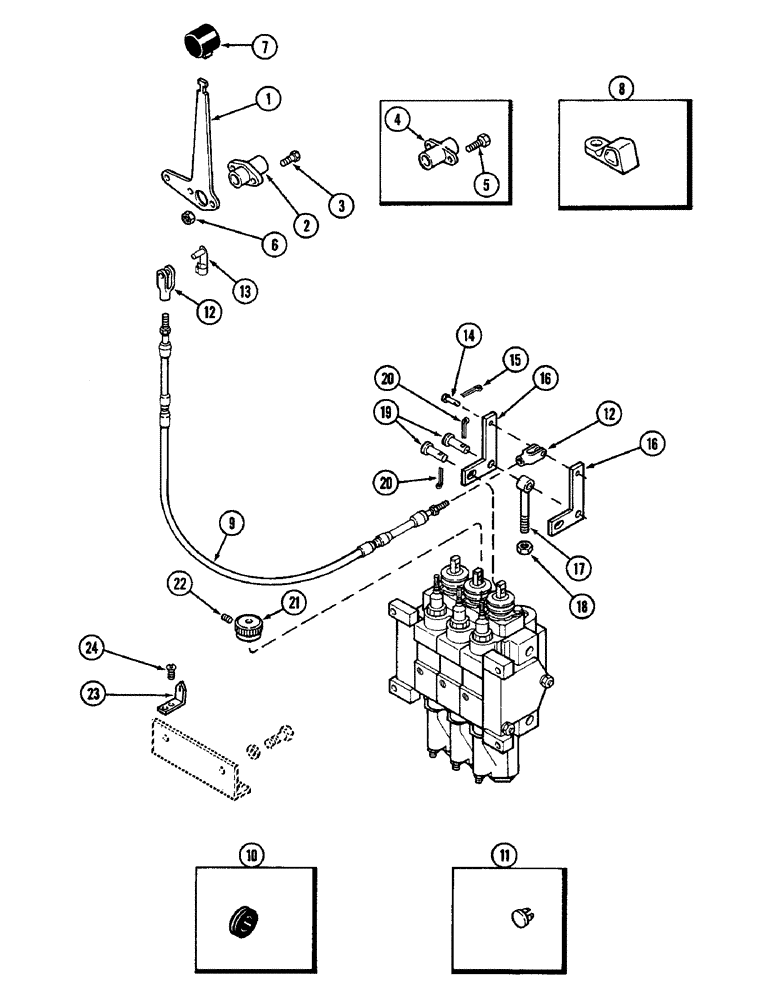
A67388

ATTACHMENT

- remote hydraulics, no. 3 circuit (Machinery item), Includes: Ref. 1 - 24 and 25 - 55 on Figure 8-408

1шт.

1

A141392

LEVER

- control, inner

1шт.

2

A160500

BUSHING,15.95mm ID x 25.4mm OD x 55.37mm L

BEARING - lever (Replaced A141371)

1шт.

3

113-3

BOLT,Hex, 1/4" - 20 x 3/4", Gr 5

(Used with A160500 bearing) Hex, 1/4"-20 x 3/4", G5, Full Thd

2шт.

4

A141371

BEARING

- lever (Order A160500)

1шт.

5

113-2

BOLT,Hex, 1/4" - 20 x 5/8", Gr 5

(Used with A141371 bearing) Hex, 1/4"-20 x 5/8", G5, Full Thd

2шт.

6

131-1180

LOCK NUT,1/4"-20, GA

NUT, LOCK, 1/4"-20, GA

2шт.

7

A139945

KNOB

- hand lever

1шт.

8

A141542

LEVER

TAB - float lockout

1шт.

9

A141402

CABLE

- control, Serial Range: lever-bellcrank

1шт.

10

A141389

GROMMET

- control cable (In cab floor)

1шт.

11

A67295

PLUG

- cable retainer (In mounting bracket)

2шт.

12

213-1

ADJUSTABLE CLEVIS,#10-32

YOKE - cable

2шт.

13

A149683

PIN

- yoke

1шт.

14

A67313

PIN

- bellcrank

1шт.

15

132-329

COTTER PIN,1/16" x 3/4"

1/16" x 3/4"

1шт.

16

A145598

LEVER

- bellcrank

2шт.

17

A145597

EYE

- bellcrank pivot

1шт.

18

25-146

JAM NUT,Jam, 3/8"-16, G5

- hex, 3/8 inch NC

1шт.

19

141-54

CLEVIS PIN,3/8" x 1 1/16"

2шт.

20

132-320

COTTER PIN,3/32" x 3/4"

PIN, SPLIT (COTTER), 3/32" x 3/4"

2шт.

21

A160814

KNOB

- flow control (Replaces A145805)

1шт.

22

178-1108

SET SCREW,Hex Soc, #10-32 x 5/8"

SCREW - socket head cone point, no. 10-32 x 5/8 inch

1шт.

23

A64179

INDEX

- flow control knob

1шт.

24

187-1037

SELF-TAP SCREW,Slotted Pan Hd, #8 x 3/8"

SCREW - round head self-tapping, no. 8 x 3/8 inch

2шт.

Выбрано товаров: 25