Запчасти Case IH 2090 (8-440) - REMOTE VALVE BODY ASSY, 2 CIRCUIT & ADD ON FOR 3RD & 4TH CIRCUIT (CONTD) (08) - HYDRAULICS

Схема запчастей Case IH 2090 - (8-440) - REMOTE VALVE BODY ASSY, 2 CIRCUIT & ADD ON FOR 3RD & 4TH CIRCUIT (CONTD) (08) - HYDRAULICS
54
75
51
53
40
68
45
50
41
70
55
48
66
60
61
59
62
72
49
40
71
67
52
74
42
76
63
69
43
66
73
65
58
FIT
1:1
100%

Артикул

Название

Примечание

Количество

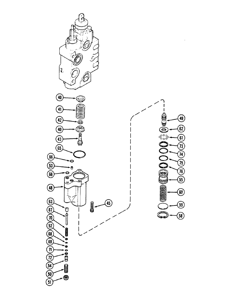
A169029

VALVE

BODY ASSEMBLY - remote valve, Includes: Ref. 40 - 76 and 2 - 36 on Figure 8-438

1шт.

40

A47197

RETAINER

- spring

2шт.

41

A47177

SPRING

- centering

1шт.

42

A47199

BUSHING

SPACER - detent

1шт.

43

A47193

COUPLING, BREAK AWAY

COUPLER - detent

1шт.

45

61-416

HEX SOC SCREW,1/4"-20 x 1"

SCREW - socket head cap, 1/4 NC x 1 inch

3шт.

A48940

KIT

HOUSING KIT - detent, Includes: Ref. 48 - 76

1шт.

48

NSS

NOT SOLD SEPARAT

HOUSING ASSEMBLY - detent, Includes: Ref. 49 - 76

1шт.

49

A52409

SHAFT

- detent

1шт.

50

A47173

SCREW,3/8" - 24 x 0.96"

- adjusting

1шт.

51

86585245

SPECIAL NUT,JAM, 5/8" - 18

- hex jam, 3/8 inch NF

1шт.

52

A48935

WASHER

- poppet

1шт.

53

A47658

PLUG

- orifice

1шт.

54

A48936

GOVERNOR

PISTON - regulator

1шт.

55

A48932

PISTON

- kickout

1шт.

58

A30975

SNAP RING,1.188", Int, #118

1шт.

59

A48933

RING

- retainer, detent

1шт.

60

A48934

SPRING

- detent

1шт.

61

211-256

BALL

BEARING - ball, 7/32 inch (6 mm) diameter

8шт.

62

A48931

WASHER

- guide

1шт.

63

A46924

SEAT

- pilot

1шт.

A48942

KIT

SEAL KIT - detent, Includes: Ref. 65 - 76

1шт.

65

A59066

O-RING,1.239" ID x 1.379" OD

- housing

1шт.

66

D31411

O-RING,0.07" Thk x 0.239" ID, -10, Cl 6, 90 Duro

-010, 90 Duro, .239" ID x .070" Thk, detent

2шт.

67

NSS

NOT SOLD SEPARAT

POPPET - detent (Order A48942) (Reference no. A48958)

1шт.

68

T30271

O-RING,0.07" Thk x 0.114" ID, -6, Cl 5, 75 Duro

- poppet

1шт.

69

A52378

RING,Split, 3.56mm ID x 6.3mm OD x 1.32mm Thk

- backup

1шт.

70

NSS

NOT SOLD SEPARAT

SPRING - relief (Order A48942) (Reference no. A48961)

1шт.

71

A27880

O-RING,0.07" Thk x 0.18" ID, -8, Cl 5, 75 Duro

- piston

1шт.

72

D71056

RING,Split, 4.47mm ID x 7.21mm OD x 1.32mm Thk

- backup

1шт.

73

L35295

SEALING RING,Split, 24.38mm ID x 27.13mm OD x 1.32mm Thk

RING - backup

1шт.

74

A62239

O-RING,0.07" Thk x 0.926" ID, -21, Cl 5, 75 Duro

- piston

1шт.

75

R15365

O-RING,0.989" ID x 1.129" OD x 0.07"

- piston

1шт.

76

A52208

SEAL,25.98mm ID x 28.73mm OD x 1.32mm Thk

RING - backup

1шт.

Выбрано товаров: 34