Запчасти Case IH 2090 (8-442) - REMOTE CONTROL VALVE, WITH LOCKOUT (08) - HYDRAULICS

Схема запчастей Case IH 2090 - (8-442) - REMOTE CONTROL VALVE, WITH LOCKOUT (08) - HYDRAULICS
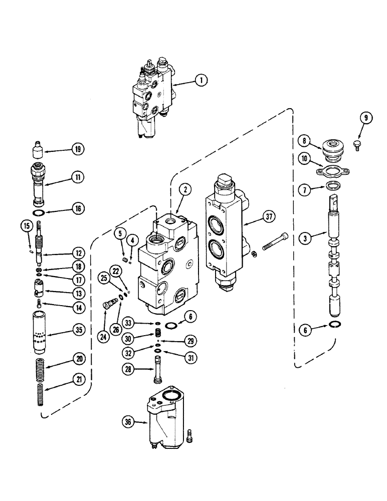
11
9
25
6
19
2
15
20
8
7
16
12
1
3
18
24
5
13
32
14
17
4
28
33
30
10
35
31
26
29
22
21
36
37
6
FIT
1:1
100%

Артикул

Название

Примечание

Количество

A162851

LOCK VALVE

VALVE ASSEMBLY - remote control, Includes: Ref. 1 - 35, 36 - 69 on Figure 8-444 and 75 - 91 on Figure 8-446

1шт.

1

A46913

BODY

ASSEMBLY - remote hydraulic control valve, Includes: Ref. 2 - 35 and 36 - 69 on Figure 8-444

1шт.

2

NSS

NOT SOLD SEPARAT

BODY - valve (Order A46913)

1шт.

3

NSS

NOT SOLD SEPARAT

SPOOL - valve (Order A46913) (Reference no. A47187)

1шт.

4

A47105

PLUG

- expansion

1шт.

5

A47213

PLUG

- orifice

1шт.

A47570

KIT

- seal, valve body spool (Order components), Includes: Ref. 6 - 9

1шт.

6

A27365

O-RING,0.103" Thk x 0.75" ID, -116, Cl 5, 75 Duro

- 3/4 x 15/16 x 3/32 inch (19 x 24 x 2 mm)

2шт.

7

A47205

SEAL,22.61mm ID x 32.13mm OD x 2.67mm Thk

FILTER - float

1шт.

8

A47188

COVER

- dust

1шт.

9

86019274

SCREW,Hex, 1/4"-20 x 1/2", G5

- hex lock, retainer, 1/4 NC x 1/2 inch

2шт.

10

A47196

RETAINER

- filter

1шт.

A47754

LOCK VALVE

HOUSING ASSEMBLY - flow control (Order components), Includes: Ref. 11 - 18

1шт.

11

A47194

HOUSING

- flow control

1шт.

12

A47191

SHAFT

- adjusting

1шт.

13

A47755

TUBE

- flow control

1шт.

14

61-46

HEX SOC SCREW,1/4"-20 x 3/8"

SCREW - socket head, 1/4 NC x 3/8 inch

1шт.

A47571

KIT

- repair, flow control (Order components), Includes: Ref. 15 - 21

1шт.

15

138-2

LOCK PIN,1/16" x 1/4", Slotted

Pin, 1/16" x 1/4", Slotted

1шт.

16

237-6010

O-RING,0.097" Thk x 0.755" ID, -910, Cl 6, 90 Duro

- 3/4 x 61/64 x 3/32 inch (19 x 24 x 2 mm)

1шт.

17

A27358

O-RING,0.07" Thk x 0.239" ID, -10, Cl 5, 75 Duro

- 1/4 x 3/8 x 1/16 inch (6 x 10 x 2 mm)

1шт.

18

L35305

RING

- backup

1шт.

19

A47189

COVER

- dust

1шт.

20

A47184

SPRING

- outer, 5/8 OD x 2-13/32 inch free length (16 x 61 mm)

1шт.

21

A47186

SPRING

- inner, 27/64 OD x 2-13/64 inch free length (11 x 56 mm)

1шт.

22

211-255

BALL,3/16 Dia

(5 mm), chrome steel 3/16 Dia

1шт.

A47210

PLUG

ASSEMBLY - shuttle seat, Includes: Ref. 24 - 26

1шт.

24

A47204

PLUG

- seat

1шт.

A47575

KIT

- seal (Order components), Includes: Ref. 25 & 26

1шт.

25

A47101

O-RING,0.07" Thk x 0.176" ID, -8, Cl 6, 90 Duro

-008, 90 Duro, .176" ID x .070" Thk (3/16 x 5/16 x 1/16") (5 x 8 x 2 mm)

1шт.

26

218-5002

O-RING,0.064" Thk x 0.301" ID, -903, Cl 6, 90 Duro

3-1, .301" ID x .064" Thk

1шт.

A47209

SPOOL

HOUSING ASSEMBLY - primary

1шт.

28

NSS

NOT SOLD SEPARAT

BODY - housing (Reference no. A47776)

1шт.

29

NSS

NOT SOLD SEPARAT

BALL - steel, 5/32 inch diameter (4 mm)

1шт.

30

NSS

NOT SOLD SEPARAT

SEAT - primary

1шт.

A47574

KIT

- seal, primary housing, Includes: Ref. 31 - 33

1шт.

31

218-5003

O-RING,0.072" Thk x 0.351" ID, -904, Cl 6, 90 Duro

- 11/32 x 1/2 x 5/64 inch (9 x 13 x 2 mm)

1шт.

32

D31411

O-RING,0.07" Thk x 0.239" ID, -10, Cl 6, 90 Duro

-010, 90 Duro, .239" ID x .070" Thk (1/4 x 3/8 x 1/16") (6 x 10 x 2 mm)

1шт.

33

A47223

O-RING,0.07" Thk x 0.208" ID, -9, Cl 6, 90 Duro

- 7/32 x 11/32 x 1/16 inch (6 x 9 x 2 mm)

1шт.

35

A47187

SPOOL

- flow control

1шт.

36

REF

INSTRUCTION

HOUSING ASSEMBLY - detent, See Figure 8-444

1шт.

37

REF

INSTRUCTION

HOUSING ASSEMBLY - lockout, See Figure 8-446

1шт.

Выбрано товаров: 42