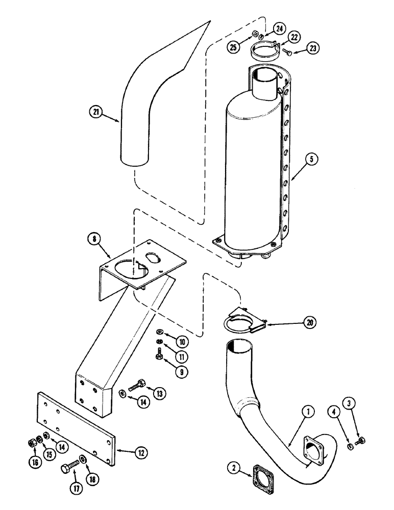
Запчасти Case IH 2090 (2-18) - VERTICAL MUFFLER, 504BD DIESEL ENGINE (02) - ENGINE

Схема запчастей Case IH 2090 - (2-18) - VERTICAL MUFFLER, 504BD DIESEL ENGINE (02) - ENGINE
5
16
15
24
1
9
11
18
14
3
22
2
25
17
20
10
23
13
21
8
12
4
14
FIT
1:1
100%

Артикул

Название

Примечание

Количество

A162369

MUFFLER ATTACHMENT - vertical (Machinery item), Includes: Ref. 1 - 25

1шт.

1

A162293

PIPE

- exhaust

1шт.

2

L14218

MANIFOLD GASKET

- exhaust pipe

1шт.

3

113-207

BOLT,Hex, 3/8" - 16 x 1", Gr 5

4шт.

4

192-21

LOCK WASHER,3/8"

WASHER, LOCK, 3/8"

4шт.

5

A162977

MUFFLER

- exhaust

1шт.

8

A165290

FITTING

BRACKET - muffler mounting

1шт.

9

113-208

BOLT,Hex, 3/8" - 16 x 1-1/4", Gr 5

3шт.

10

195-525

WASHER,3/8", SAE

- flat, 13/32 x 13/16 x 1/16 inch (10 x 21 x 2 mm)

3шт.

11

192-21

LOCK WASHER,3/8"

WASHER, LOCK, 3/8"

3шт.

12

A162592

BRACKET

PLATE - stiffener, side rail

2шт.

13

113-441

BOLT,Hex, 1/2" - 13 x 2-1/4", Gr 5

Hex, 1/2"-13 x 2 1/4", G5

4шт.

14

195-106

WASHER,1/2"

- flat, 9/16 x 1-3/8 x 7/64" (14 x 35 x 3 mm)

8шт.

15

192-23

LOCK WASHER,1/2"

WASHER, LOCK, 1/2"

4шт.

16

129-105

NUT,Hex, 1/2" - 13, Gr 5

4шт.

17

113-2617

BOLT,Hex, 5/8" - 11 x 2-1/4", Gr 8

Hex, 5/8"-11 x 2-1/4", G8

3шт.

18

A35147

WASHER

- hardened

3шт.

20

A162896

CLAMP

ASSEMBLY -, Serial Range: muffler-exhaust

1шт.

21

A147045

PIPE

- exhaust extension

1шт.

22

A162895

CLAMP

- extension

1шт.

23

113-208

BOLT,Hex, 3/8" - 16 x 1-1/4", Gr 5

1шт.

24

192-21

LOCK WASHER,3/8"

WASHER, LOCK, 3/8"

1шт.

25

129-770

NUT,3/8"-16, G5

- hex, 3/8 inch NC

1шт.

Выбрано товаров: 23