Запчасти Case IH 2090 (9-490) - DRAWBAR, WITH HITCH (09) - CHASSIS/ATTACHMENTS

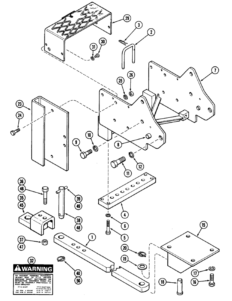
Схема запчастей Case IH 2090 - (9-490) - DRAWBAR, WITH HITCH (09) - CHASSIS/ATTACHMENTS
37
30
38
7
31
39
29
8
5
48
50
24
19
15
20
6
47
3
26
35
1
40
4
49
10
36
46
18
32
12
9
25
23
16
17
11
2
45
FIT
1:1
100%

Артикул

Название

Примечание

Количество

1

A137939

DRAWBAR, SWINGING

DRAWBAR

1шт.

2

A135985

RETAINER

- drawbar swing

1шт.

3

136-166

COTTER PIN,Int, 9/32" x .120"

PIN - cotter, internal hairpin type 1

1шт.

4

A135981

BAR

- support, drawbar rear

1шт.

5

113-441

BOLT,Hex, 1/2" - 13 x 2-1/4", Gr 5

Hex, 1/2"-13 x 2 1/4", G5

4шт.

6

92-8

LOCK WASHER,1/2"

4шт.

7

A160057

BRACKET

- support, drawbar (Prior to transmission serial no. 10207171) (Order A161354)

1шт.

7

A161354

BRACKET

- support, drawbar (Transmission serial no. 10207171 and after)

1шт.

8

A161440

PIN

- crossbar link

2шт.

9

113-708

BOLT,Hex, 3/4" - 10 x 2", Gr 5

4шт.

10

92-12

LOCK WASHER,3/4"

WASHER, LOCK, 3/4"

4шт.

11

113-917

BOLT,Hex, 1" - 8 x 2-3/4", Gr 5, Full Thd

2шт.

12

192-31

LOCK WASHER,1"

WASHER, LOCK, 1"

2шт.

15

A160747

BRACKET

- front support and pivot (Transmission serial no. 10205163 and after)

1шт.

15

A137932

BRACKET

- front support and pivot (Prior to transmission serial no. 10205163) (Order A160747)

1шт.

16

113-712

BOLT,Hex, 3/4" - 10 x 2-1/4", Gr 5

4шт.

17

92-12

LOCK WASHER,3/4"

WASHER, LOCK, 3/4"

4шт.

18

A137940

PIN,25.4mm OD x 95.25mm L

- pivot, drawbar

1шт.

19

A160059

WASHER

- pivot pin

1шт.

20

A30338

PIN

- klik

1шт.

23

A143193

STOP

- draft arm sway

2шт.

24

113-412

BOLT,Hex, 1/2" - 13 x 1-3/4", Gr 5

4шт.

25

92-8

LOCK WASHER,1/2"

4шт.

26

129-105

NUT,Hex, 1/2" - 13, Gr 5

4шт.

29

A145209

GUARD

SHIELD - PTO

1шт.

30

113-205

BOLT,Hex, 3/8" - 16 x 5/8", Gr 5

4шт.

31

92-6

LOCK WASHER,3/8"

4шт.

32

321-5459

DECAL

- drawbar pin

1шт.

A64384

ATTACHMENT

YOKE ATTACHMENT - drawbar (Machinery attachment) (Prior to transmission serial no. 10205163), Includes: Ref. 35 - 40

1шт.

35

A64201

YOKE

- (Order Ref. 45 - 47)

1шт.

36

26-1260

BOLT,Hex, 3/4" - 10 x 3-3/4", Gr 8

- hex, 3/4 NC x 3-3/4 inch (Grade 8)

2шт.

37

129-138

NUT,3/4"-10, G8

2шт.

38

A65764

PIN

ASSEMBLY - implement, Includes: Ref. 39 & 40

1шт.

39

135-817

GROOVED PIN,3/8" x 3 1/4", Type E

Pin, Grooved, 3/8" x 3 1/4", Type E

1шт.

40

A30338

PIN

- klik

1шт.

A67493

CLEVIS

YOKE ATTACHMENT - drawbar (Machinery item) (Transmission serial no. 10205163 and after), Includes: Ref. 45 - 50

1шт.

45

A161230

CLEVIS

YOKE - drawbar (Replaces A160726)

1шт.

46

26-1244

BOLT,Hex, 3/4" - 10 x 2-3/4", Gr 8

- hex, 3/4 NC x 2-3/4 inch (Grade 8)

1шт.

46

26-1044

BOLT,Hex, 5/8" - 11 x 2-3/4", Gr 8

- hex, 5/8 NC x 2-3/4 inch (Grade 8)

1шт.

47

129-138

NUT,3/4"-10, G8

1шт.

47

129-183

NUT,5/8"-11, G8

1шт.

48

A65764

PIN

ASSEMBLY - implement, Includes: Ref. 49 & 50

1шт.

49

135-817

GROOVED PIN,3/8" x 3 1/4", Type E

Pin, Grooved, 3/8" x 3 1/4", Type E

1шт.

50

A30338

PIN

- klik

1шт.

Выбрано товаров: 44