Запчасти Case IH 2090 (9-496) - WEIGHT SUPPORT FRAME AND SIDE RAILS, WITH 23-3/16 INCH (589 MM) INSIDE WIDTH OF WEIGHT SUPPORT FRAME (09) - CHASSIS/ATTACHMENTS

Схема запчастей Case IH 2090 - (9-496) - WEIGHT SUPPORT FRAME AND SIDE RAILS, WITH 23-3/16 INCH (589 MM) INSIDE WIDTH OF WEIGHT SUPPORT FRAME (09) - CHASSIS/ATTACHMENTS
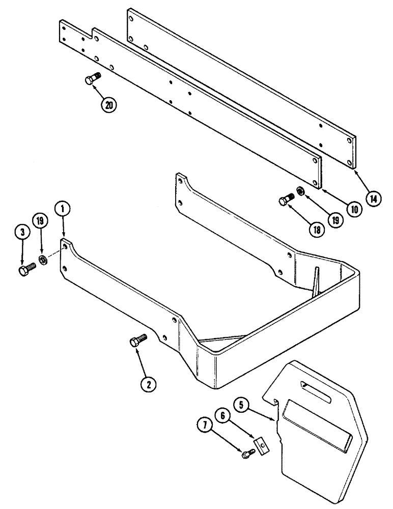
20
1
2
7
19
19
6
5
10
14
18
3
FIT
1:1
100%

Артикул

Название

Примечание

Количество

A67326

FRAME

ATTACHMENT - support, front end weight (Machinery item), Includes: Ref. 1 - 3

1шт.

For repairs order A67488 frame, A160534 rail and A163959 rail, See Figure 9-498.

1шт.

1

NSS

NOT SOLD SEPARAT

FRAME - support, 23-3/16 inch (589 mm) inside width

1шт.

2

113-708

BOLT,Hex, 3/4" - 10 x 2", Gr 5

Front of frame Hex, 3/4"-10 x 2", G5

4шт.

3

113-705

BOLT,Hex, 3/4" - 10 x 2-1/2", Gr 5

- hex, 3/4 NC x 2-1/2, inch rear of frame

4шт.

A67373

WEIGHT

ATTACHMENT - front end (Machinery item), Includes: Ref. 5 - 7

1шт.

5

NSS

NOT SOLD SEPARAT

WEIGHT - 75 pounds (35 kg) (Order A67373)

1шт.

6

A145919

CLAMP

- weight

1шт.

7

113-421

BOLT,Hex, 1/2" - 13 x 2", Gr 5

1шт.

10

A147088

RAIL ASSY.

RAIL - side, right, 53-13/23 inch long (1 356 mm) (Order A160534)

1шт.

For repairs order A67488 frame, A160534 rail and A163959 rail, See Figure 9-498.

1шт.

14

A147089

RAIL ASSY.

RAIL - side, left, 46-13/32 inch long (1 178 mm)

1шт.

For repairs order A67488 frame, A160534 rail and A163959 rail, See Figure 9-498.

1шт.

18

113-713

BOLT,Hex, 3/4" - 10 x 1-3/4", Gr 5

Used without weight, support frame Hex, 3/4"-10 x 1 3/4", G5

4шт.

19

A26462

WASHER

- hardened, 49/64 x 1-1/4 x 5/64 inch (20 x 32 x 2 mm)

4шт.

20

113-600

BOLT,Hex, 5/8" - 11 x 1-3/4", Gr 5

6шт.

Выбрано товаров: 16