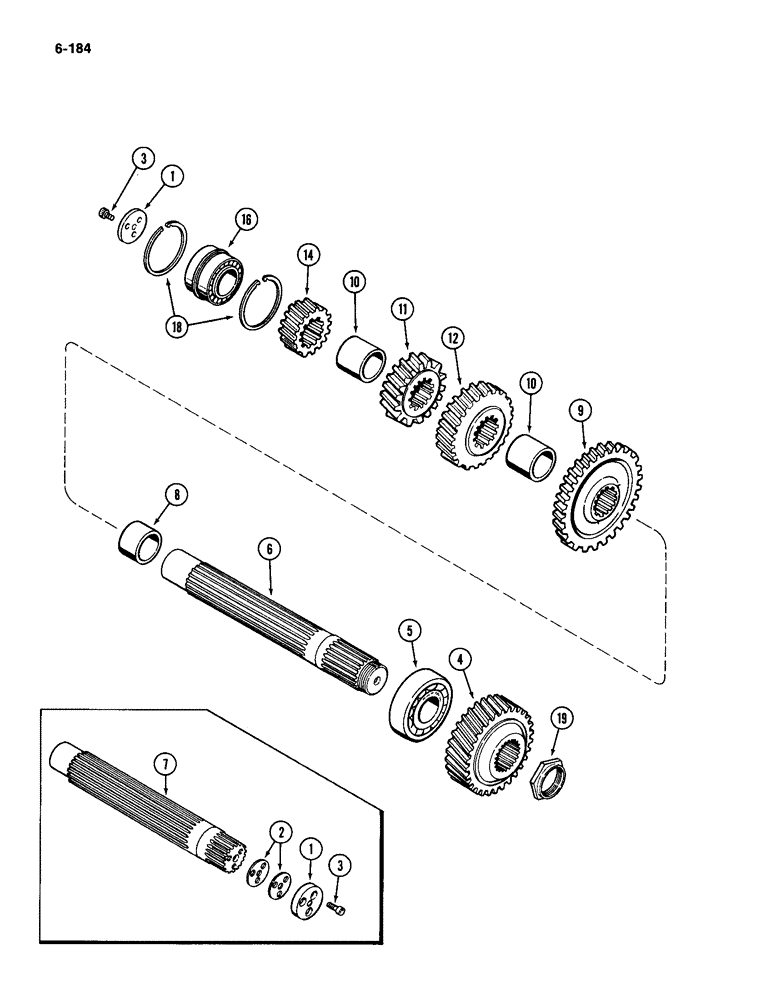
Запчасти Case IH 2094 (6-184) - POWER SHIFT TRANSMISSION, INTERMEDIATE SHAFT (06) - POWER TRAIN

Схема запчастей Case IH 2094 - (6-184) - POWER SHIFT TRANSMISSION, INTERMEDIATE SHAFT (06) - POWER TRAIN
1
18
14
6
7
11
4
10
1
9
8
2
3
5
16
3
19
12
10
FIT
1:1
100%

Артикул

Название

Примечание

Количество

1

A150007

PLATE

- retaining

1шт.

2

A150006

SHIM

- plate, 0.005 inch (0.127 mm) (If equipped)

1шт.

2

A150005

SHIM

- plate, 0.007 inch (0.178 mm) (If equipped)

1шт.

3

165-120

HEX SOC SCREW,Prev Torque, 3/8" - 16 x 7/8"

SCREW - hex socket head nylock, 3/8 x 7/8 inch

1шт.

4

A179010

GEAR

- drop, driven, 33 teeth (Replaces A168024)

1шт.

5

R32301

BALL BEARING

BEARING - roller

1шт.

6

A168027

SHAFT

- intermediate

1шт.

7

A154667

SHAFT

- intermediate (If equipped)

1шт.

8

A151823

BUSHING

SPACER - fourth gear and center bearing

1шт.

9

A168039

GEAR

- driver, fourth

1шт.

10

A151822

SPACER

- gear, first and second, third and fourth, 2-1/4 inch wide (57 mm)

2шт.

11

A168042

GEAR

- driver, second, 20 teeth

1шт.

12

A168041

GEAR

- driver, third, 30 teeth

1шт.

14

A168040

GEAR

- driver, first, 17 teeth

1шт.

16

A159435

BEARING ASSY,49.99mm ID x 90mm OD x 62mm W

BEARING - ball, double row

1шт.

18

A150931

RING

- snap, bearing outer

2шт.

19

A168038

NUT

- adjusting

1шт.

Выбрано товаров: 17