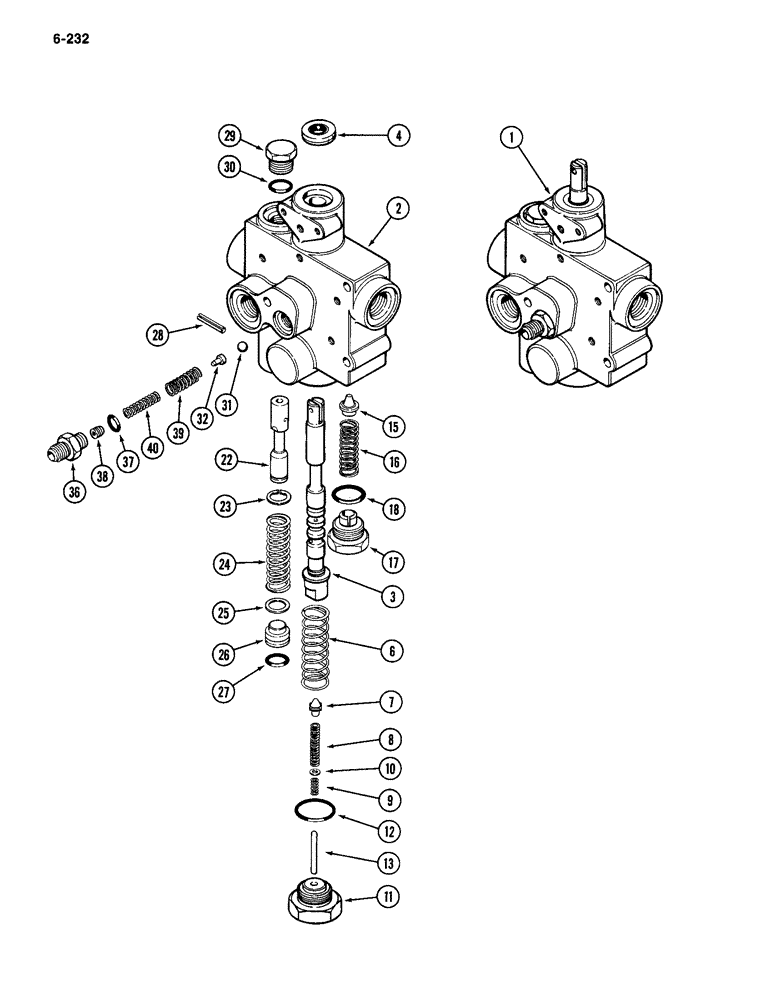
Запчасти Case IH 2094 (6-232) - VALVE ASSEMBLY, PTO AND CLUTCH CONTROL (06) - POWER TRAIN

Схема запчастей Case IH 2094 - (6-232) - VALVE ASSEMBLY, PTO AND CLUTCH CONTROL (06) - POWER TRAIN
23
11
3
31
17
36
7
8
29
24
2
26
28
30
27
22
1
32
37
6
40
4
12
39
25
38
13
10
15
9
18
16
FIT
1:1
100%

Артикул

Название

Примечание

Количество

1

G107952

VALVE

ASSEMBLY - PTO control, Includes: Refs. 2 - 40

1шт.

2

NSS

NOT SOLD SEPARAT

BODY ASSEMBLY - valve (Includes relief valve seat) (Reference No. G107954)

1шт.

3

G107955

SPOOL

- control, PTO

1шт.

4

G105700

OIL SEAL

-spool

1шт.

6

A139739

SPRING

- return, spool

1шт.

7

A61991

POINT

- modulator, control spool

1шт.

8

G109048

SPRING

- primary, modulator

1шт.

9

G107969

SPRING

- secondary, modulator

1шт.

10

A61989

WASHER,4.95mm ID x 9.27mm OD x 1.02mm Thk

- spring guide

1шт.

11

G107958

PLUG

ASSEMBLY - modulator, Includes: Ref. 12

1шт.

12

218-5009

O-RING,0.116" Thk x 1.048" ID, -914, Cl 6, 90 Duro

- 1-3/64 x 1-9/32 x 7/64 inch (27 x 33 x 3 mm)

1шт.

13

A139687

AXLE PIN

PIN - plug (Order G107958)

1шт.

15

A60687

VALVE POPPET

POPPET - relief valve

1шт.

16

G109164

SPRING

- relief valve

1шт.

17

A139173

PLUG

ASSEMBLY - relief valve, 7/8-14 inch thread, Includes: Ref. 18

1шт.

18

237-6010

O-RING,0.097" Thk x 0.755" ID, -910, Cl 6, 90 Duro

- 3/4 x 61/64 x 3/32 inch (19 x 24 x 2 mm)

1шт.

22

A139708

SPOOL

- pressure regulator

1шт.

23

A60273

SNAP RING,#62, Ext

Ring, Snap, #62, Ext

1шт.

24

G109129

SPRING

- regulator spool

1шт.

25

A149281

SHIM

- regulator spring, 1/64 inch (0.40 mm)

1шт.

26

A149282

PLUG

- regulator spring

1шт.

27

F62114

O-RING,0.103" Thk x 0.674" ID, -115, Cl 5, 75 Duro

- plug, 7/8 inch (22 mm)

1шт.

28

138-100

LOCK PIN,3/16" x 1 1/2", Slotted

PIN - roll, 3/16 x 1-1/4 inch

1шт.

29

214389

PLUG,3/4" - 16 ORB

Assy, Regulator spool, Includes Ref. 30 Hex Hd, 3/4"-16 ORB

1шт.

31

211-28

BALL,13/32" Dia

- detent, 13/32 inch diameter (10 mm)

1шт.

32

G109022

AXLE PIN

PIN - detent spring guide

1шт.

36

G109024

CONNECTOR, ELEC

CONNECTOR ASSEMBLY - clutch tube, Includes: Refs. 37 and 38

1шт.

37

218-5005

O-RING,0.078" Thk x 0.468" ID, -906, Cl 6, 90 Duro

6-1, 90 Duro, .468" ID x .078" Thk (12 x 16 x 2 mm)

1шт.

38

A160657

SET SCREW,3/8" - 16

- set

1шт.

39

G109025

SPRING

- detent, outer

1шт.

40

G109026

SPRING

- detent, inner

1шт.

30

218-5006

O-RING,0.087" Thk x 0.644" ID, -908, Cl 6, 90 Duro

- 41/64 x 13/16 x 3/32 inch (16 x 21 x 2 mm)

1шт.

Выбрано товаров: 32