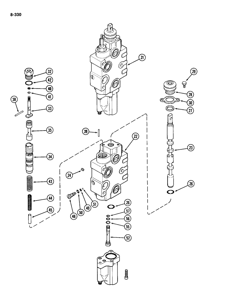
Запчасти Case IH 2094 (8-330) - REMOTE CONTROL VALVE, ADD ON FOR THIRD CIRCUIT, WITH LOAD CHECK (08) - HYDRAULICS

Схема запчастей Case IH 2094 - (8-330) - REMOTE CONTROL VALVE, ADD ON FOR THIRD CIRCUIT, WITH LOAD CHECK (08) - HYDRAULICS
38
23
26
28
34
49
27
32
50
44
33
29
39
40
22
52
45
30
51
41
42
56
21
26
35
24
57
43
48
55
FIT
1:1
100%

Артикул

Название

Примечание

Количество

A169456

VALVE

ASSEMBLY - remote control (Continued from Figure 8-328), Includes: Refs. 21 - 57, 1 - 20 on fig. 8-328 and 60 - 96 on fig. 8-332

1шт.

21

A48945

HOUSING

BODY ASSEMBLY - remote valve

1шт.

22

NSS

NOT SOLD SEPARAT

BODY - valve (Order A48945)

1шт.

23

NSS

NOT SOLD SEPARAT

SPOOL - valve (Order A48945)

1шт.

24

A47105

PLUG

- expansion

1шт.

26

A27365

O-RING,0.103" Thk x 0.75" ID, -116, Cl 5, 75 Duro

- body

2шт.

A48938

KIT

FILTER KIT - body and spool (Order components), Includes: Refs. 27 - 30

1шт.

27

A47205

SEAL,22.61mm ID x 32.13mm OD x 2.67mm Thk

FILTER - spool

1шт.

28

A47188

COVER

- dust

1шт.

29

86019274

SCREW,Hex, 1/4"-20 x 1/2", G5

- retainer

2шт.

30

A47196

RETAINER

- filter

1шт.

32

A48925

PLUG

HOUSING - flow control

1шт.

33

A48929

SHAFT

- adjusting

1шт.

34

A48956

TUBE

- flow control

1шт.

35

A48957

SPOOL

- flow control

1шт.

A48941

SEAL

KIT - flow control (Order components), Includes: Refs. 38 - 44

1шт.

38

138-63

LOCK PIN,1/8" x 1 1/4", Slotted

PIN, 1/8" x 1 1/4", Slotted

1шт.

39

138-305

LOCK PIN,1/8" x 1", Slotted, Stainless

Pin, 1/8" x 1, Slotted, Stainless

1шт.

40

D71056

RING,Split, 4.47mm ID x 7.21mm OD x 1.32mm Thk

- backup

1шт.

41

A27880

O-RING,0.07" Thk x 0.18" ID, -8, Cl 5, 75 Duro

- shaft

1шт.

42

237-6010

O-RING,0.097" Thk x 0.755" ID, -910, Cl 6, 90 Duro

- 3/4 x 61/64 x 3/32 inch (19 x 24 x 2 mm)

1шт.

43

A48963

SPRING

- outer

1шт.

44

A48964

SPRING

- inner

1шт.

45

A48937

PIN

- guide, spring

1шт.

A47210

PLUG

ASSEMBLY - shuttle, secondary, Includes: Refs. 48 - 50

1шт.

48

A47204

PLUG

- shuttle

1шт.

A48939

KIT

SEAL KIT - shuttle (Order components)

1шт.

49

A47101

O-RING,0.07" Thk x 0.176" ID, -8, Cl 6, 90 Duro

-008, 90 Duro, .176" ID x .070" Thk, shuttle

1шт.

50

218-5002

O-RING,0.064" Thk x 0.301" ID, -903, Cl 6, 90 Duro

3-1, .301" ID x .064" Thk

1шт.

51

211-255

BALL,3/16 Dia

(5 mm), chrome steel 3/16 Dia

1шт.

52

A47209

SPOOL

SHUTTLE ASSEMBLY - primary

1шт.

N6632

SEAL KIT

SEAL KIT - shuttle (Order components), Includes: Refs. 55 - 57

1шт.

55

218-5003

O-RING,0.072" Thk x 0.351" ID, -904, Cl 6, 90 Duro

- 11/32 x 1/2 x 5/64 inch (9 x 13 x 2 mm)

1шт.

56

D31411

O-RING,0.07" Thk x 0.239" ID, -10, Cl 6, 90 Duro

-010, 90 Duro, .239" ID x .070" Thk (6 mm ID), shuttle

1шт.

57

A47223

O-RING,0.07" Thk x 0.208" ID, -9, Cl 6, 90 Duro

- shuttle, 7/32 inch (6 mm) ID

1шт.

Выбрано товаров: 35