Запчасти Case IH 2094 (9-372) - IMPLEMENT SAFETY CHAIN SUPPORT (09) - CHASSIS/ATTACHMENTS

Схема запчастей Case IH 2094 - (9-372) - IMPLEMENT SAFETY CHAIN SUPPORT (09) - CHASSIS/ATTACHMENTS
2
5
12
3
4
10
8
9
11
FIT
1:1
100%

Артикул

Название

Примечание

Количество

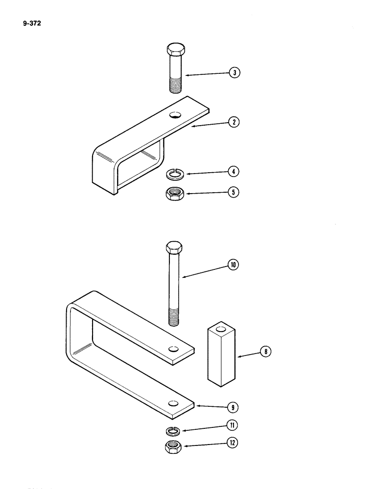
A169123

KIT - safety chain support (Order Components), Includes: Refs. 2 - 12

1шт.

2

A166390

RETAINER

- support spring

1шт.

3

113-716

BOLT,Hex, 3/4" - 10 x 3", Gr 5

1шт.

4

192-167

LOCK WASHER,3/4"

WASHER, LOCK, 3/4"

1шт.

5

25-1612

NUT,3/4"-10, G5, Hvy

- heavy hex, 3/4 inch NC

1шт.

8

A166965

BLOCK

- clevis

1шт.

9

A165682

CLEVIS

- safety chain

1шт.

10

113-630

BOLT,Hex, 5/8" - 11 x 6", Gr 5

- hex, 5/8 NC x 6 inch

1шт.

11

192-165

LOCK WASHER,5/8"

WASHER, LOCK, 5/8"

1шт.

12

25-1610

NUT,5/8"-11, G5, Hvy

- heavy hex, 5/8 inch NC

1шт.

Выбрано товаров: 10