Запчасти Case IH 2094 (9-424) - STEPS (09) - CHASSIS/ATTACHMENTS

Схема запчастей Case IH 2094 - (9-424) - STEPS (09) - CHASSIS/ATTACHMENTS
8
16
11
7
12
17
18
9
1
19
10
2
4
3
FIT
1:1
100%

Артикул

Название

Примечание

Количество

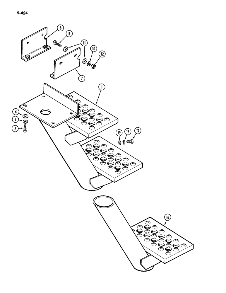
1

A176393

STEP

- mounting (Replaces A164995)

1шт.

2

113-2244

BOLT,Hex, 3/8" - 16 x 1-1/4", Gr 8, Full Thd

4шт.

3

192-21

LOCK WASHER,3/8"

WASHER, LOCK, 3/8"

4шт.

4

195-104

WASHER,3/8"

- 7/16 x 1 x 5/64 inch (11 x 25 x 2 mm)

4шт.

7

A169726

BRACKET

PLATE - step hanger, left (Replaces A164718)

1шт.

8

A169725

BRACKET

PLATE - step hanger, right (Replaces A164719)

1шт.

9

113-2244

BOLT,Hex, 3/8" - 16 x 1-1/4", Gr 8, Full Thd

4шт.

10

192-21

LOCK WASHER,3/8"

WASHER, LOCK, 3/8"

4шт.

11

195-104

WASHER,3/8"

- 7/16 x 1 x 5/64 inch (11 x 25 x 2 mm)

8шт.

12

129-103

NUT,Hex, 3/8" - 16, Gr 5

NUT, 3/8"-16, G5

4шт.

16

A164717

STEP

- extension

1шт.

17

113-207

BOLT,Hex, 3/8" - 16 x 1", Gr 5

Step extension Hex, 3/8"-16 x 1", G5, Full Thd

2шт.

18

192-21

LOCK WASHER,3/8"

WASHER, LOCK, , Step extension 3/8"

2шт.

19

195-104

WASHER,3/8"

- 7/16 x 1 x 5/64 inch (11 x 25 x 2 mm), step extension

2шт.

Выбрано товаров: 14