Запчасти Case IH 2094 (9-430) - CAB AND ROPS, ROOF CAP (09) - CHASSIS/ATTACHMENTS

Схема запчастей Case IH 2094 - (9-430) - CAB AND ROPS, ROOF CAP (09) - CHASSIS/ATTACHMENTS
2
8
1
6
23
5
13
9
21
25
3
24
2
26
19
12
3
4
22
4
8
14
20
7
18
FIT
1:1
100%

Артикул

Название

Примечание

Количество

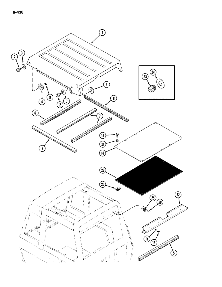
1

A177245

ROOF

CAP - cab roof

1шт.

2

A163030

BOLT

- cab roof cap

4шт.

3

A163031

WASHER

- roof cap retaining

4шт.

4

A166399

WASHER

- roof cap retaining

4шт.

5

A166496

FOAM

- cap, front

1шт.

6

A166493

FOAM

- cap, rear

1шт.

7

A166494

FOAM

- cap, center (Order D71360, cut to desired length)

2шт.

8

A166495

FOAM

- cap, side

2шт.

9

A177335

WASHER

- roof cap retaining (Replaces A167690)

2шт.

12

F66024

SUPPORT

CHANNEL -lamp support, front (Replaces F64406)

1шт.

13

187-1900

SELF-TAP SCREW,Hex Washer, 1/4" - 20 x 3/4"

BOLT - hex, 1/4 NC x 1/2 inch

6шт.

14

192-83

LOCK WASHER,1/4"

WASHER, LOCK, 1/4"

6шт.

18

F64316

ROOF

- cab (cab only)(Replaces F64794)

1шт.

19

163-14

SCREW,Hex Wshr Hd, 1/4" - 20 x 1"

BOLT - hex washer head, 1/4 NC x 1 inch (Cab only)

18шт.

20

131-825

NUT,Tinn, U, 1/4"-20

- J lock, 1/4 inch (Cab only)

18шт.

21

F64531

SEALING WASHER

WASHER - sealing (Cab only)

18шт.

22

F64781

SEAL

- roof, foam (cab only)

1шт.

23

353-550

PLUG,Slotted, 1/2"-13

Plastic, Lifting holes Slotted, 1/2"-13

4шт.

24

A165395

WASHER,.50mm ID x 1.0mm OD x .060 Thk

- plug

4шт.

25

F64909

TERMINAL CONNECTOR

BUSHING - terminal (Replaces F64712)

4шт.

26

F64483

COVER

CAP -terminal

9шт.

Выбрано товаров: 21