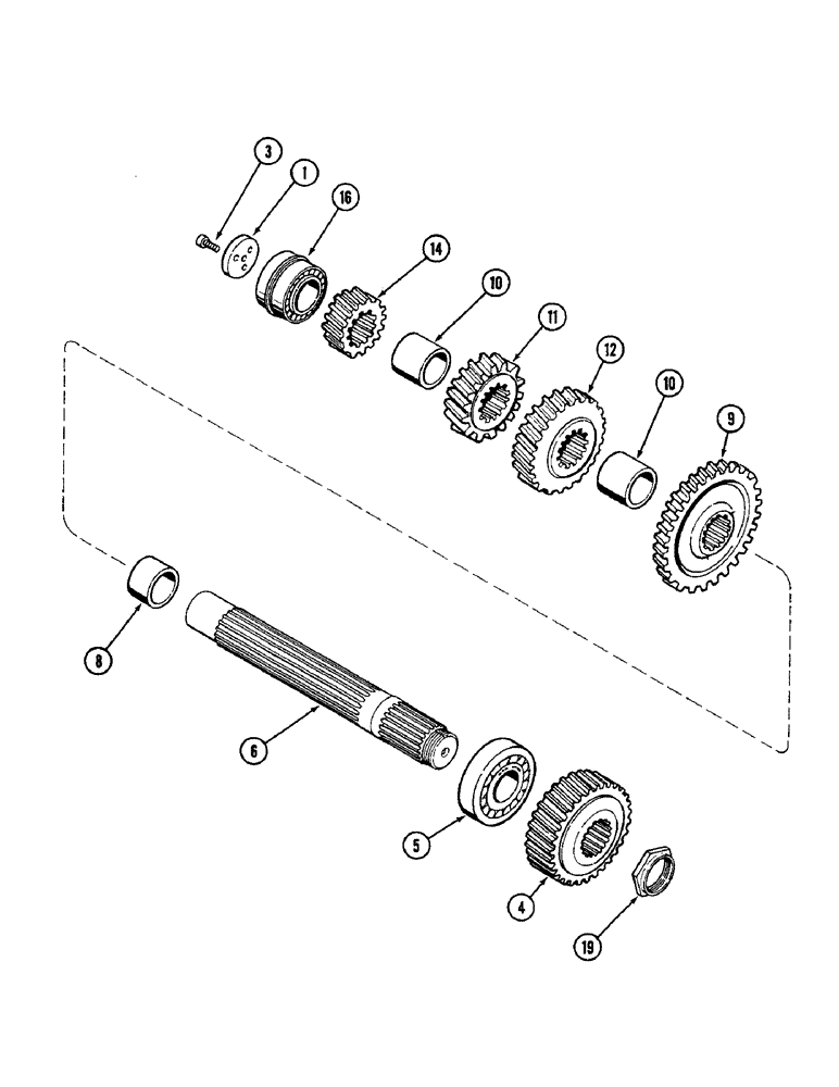
Запчасти Case IH 2096 (6-178) - POWER SHIFT TRANSMISSION, INTERMEDIATE SHAFT (06) - POWER TRAIN

Схема запчастей Case IH 2096 - (6-178) - POWER SHIFT TRANSMISSION, INTERMEDIATE SHAFT (06) - POWER TRAIN
4
3
12
10
5
8
19
11
9
16
10
1
14
6
FIT
1:1
100%

Артикул

Название

Примечание

Количество

1

A150007

PLATE

- retaining

1шт.

3

165-120

HEX SOC SCREW,Prev Torque, 3/8" - 16 x 7/8"

SCREW - hex socket head nylock, 3/8 x 7/8 inch

3шт.

4

A179010

GEAR

- drop, driven, 33 teeth

1шт.

5

A142054

ROLLER BEARING,54.99mm ID x 120mm OD x 29mm W

BEARING - roller

1шт.

6

A168027

SHAFT

- intermediate

1шт.

8

A151823

BUSHING

SPACER - fourth gear and center bearing

1шт.

9

A168039

GEAR

- drive, fourth

1шт.

10

A151822

SPACER

- gear, first and second, third and fourth, 2-1/4 inch wide (57 MM)

2шт.

11

A168042

GEAR

- driver, second, 20 teeth

1шт.

12

A168041

GEAR

- driver, third, 30 teeth

1шт.

14

A168040

GEAR

- driver, first, 17 teeth

1шт.

16

A159435

BEARING ASSY,49.99mm ID x 90mm OD x 62mm W

BEARING - tapered roller, double row

1шт.

19

A168038

NUT

- adjusting

1шт.

Выбрано товаров: 13