Запчасти Case IH 2096 (9-382) - SEAT, AIR/OIL SUSPENSION (09) - CHASSIS/ATTACHMENTS

Схема запчастей Case IH 2096 - (9-382) - SEAT, AIR/OIL SUSPENSION (09) - CHASSIS/ATTACHMENTS
18
22
11
6
8
7
23
33
1
25
9
28
10
34
6
24
21
12
13
8
16
19
23
29
12
5
20
31
30
15
17
FIT
1:1
100%

Артикул

Название

Примечание

Количество

A181028

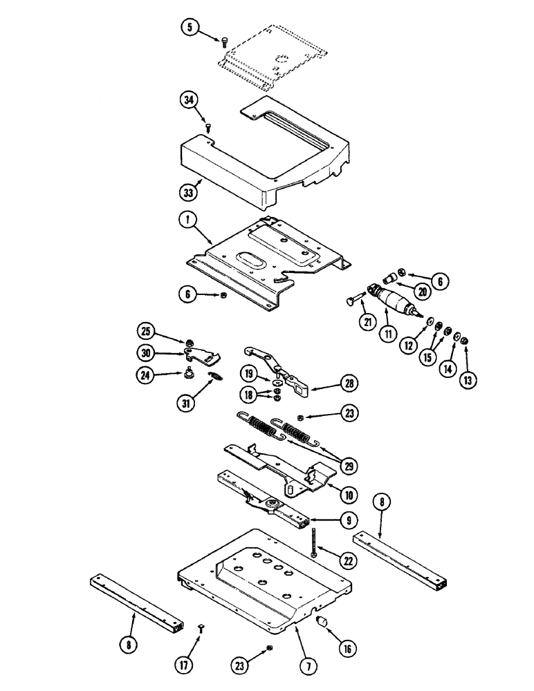
SEAT

ASSEMBLY - air/oil suspension, Includes: Ref. 1 - 34 in this figure and parts in Figures 9-380, 9-384 and 9-386

1шт.

A49818

HOUSING

ISOLATOR ASSEMBLY - seat, Includes: Ref. 1 - 31 in this figure and parts in Figure 9-384

1шт.

1

A49820

PLATE ASSY.

PLATE - top

1шт.

5

113-205

BOLT,Hex, 3/8" - 16 x 5/8", Gr 5

2шт.

6

131-179

LOCK NUT,3/8"-16, GA

NUT - hex lock, 3/8 inch NC

4шт.

7

A49539

CLIP

HOUSING - isolator, upper

1шт.

8

A49540

SLIDE

ASSEMBLY - isolator

2шт.

9

A49824

SLIDER

SLIDE ASSEMBLY - isolator (With latch)

1шт.

10

A49819

BRACKET

- mounting, shock absorber

1шт.

11

A49543

SHOCK ABSORBER

- isolator

1шт.

12

195-525

WASHER,3/8", SAE

- flat, 13/32 x 13/16 x 1/16 inch (10 x 21 x 2 MM)

1шт.

13

131-151

LOCK NUT

NUT - 5/16 inch NF

1шт.

14

A49678

WASHER

- flat, 1 inch

1шт.

15

A49679

BUSHING

2шт.

16

A49549

INSULATOR BLOCK

BUMPER - isolator

2шт.

17

117-101

BOLT

BOLT - square head, 5/16 NC x 3/4 inch

5шт.

18

131-413

PUSH-ON NUT,Rd Flat Push, 1/4" x 17/32"

NUT - push, 1/4 x 17/32 inch

2шт.

19

195-2014

WASHER,.281" x 1 1/8" x .065"

- flat, 9/32 x 1-1/8 x 1/16 (37 x 29 x 2 MM)

1шт.

20

A45501

BUSHING,0.504" ID x 0.87" OD x 1.417"

BEARING - shock absorber

1шт.

21

A45056

STEP BOLT

BOLT - shock

1шт.

22

113-118

BOLT,Hex, 5/16" - 18 x 5/8", Gr 5

- hex, 5/16 x 3-1/2 inch

6шт.

23

131-351

LOCK NUT,5/16"-18, GA

NUT - hex lock, 5/16 inch NC

12шт.

24

A49546

BOLT

- shoulder

1шт.

25

131-179

LOCK NUT,3/8"-16, GA

NUT - hex lock, 3/8 inch NC

1шт.

28

A49821

HANDLE

LEVER ASSEMBLY - isolator

1шт.

29

A49823

SPRING

- shock absorber

1шт.

30

A49547

LATCH

- isolator

1шт.

31

A49548

SPRING

- latch

1шт.

33

A49816

CABLE ASSY.

SHROUD - isolator

1шт.

34

A49622

CLIP

- retaining

4шт.

Выбрано товаров: 30