Запчасти Case IH 2096 (9-416) - CAB, DOOR RETAINING PARTS (09) - CHASSIS/ATTACHMENTS

Схема запчастей Case IH 2096 - (9-416) - CAB, DOOR RETAINING PARTS (09) - CHASSIS/ATTACHMENTS
41
37
22
38
5
26
4
24
25
36
30
3
2
29
5
27
23
40
4
1
28
3
FIT
1:1
100%

Артикул

Название

Примечание

Количество

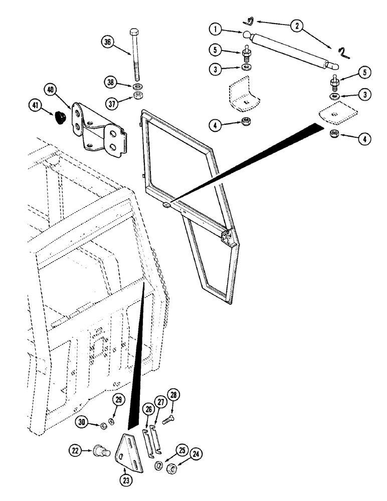
1

A181297

SPRING

CYLINDER ASSEMBLY - spring, door

1шт.

REF: #1 & 5 - FOR 10 MM SIZE SPRING AND STUD. FOR 13 MM BALL SIZE, SEE LATER S/N 2096 FIGURE 9-88. 23-MAY-96

1шт.

2

F44883

CLIP,DIN 71805 - S10

- retainer

2шт.

3

195-103

WASHER,5/16"

- flat, 3/8 x 7/8 x 3/32 inch (10 x 22 x 2 MM)

2шт.

4

131-176

LOCK NUT,Prev Torque, Hex, 5/16" - 18, Gr A

NUT - hex lock, 5/16 inch NC

2шт.

5

A180015

STUD

- ball, 5/16 inch NC

2шт.

REF: #1 & 5 - FOR 10 MM SIZE SPRING AND STUD. FOR 13 MM BALL SIZE, SEE LATER S/N 2096 FIGURE 9-88. 23-MAY-96

1шт.

22

F45073

PIN

STRIKER - door latch

1шт.

23

F64301

BRACKET

- mounting, striker

1шт.

24

231-1447

NUT,7/16"-14, GB

NUT, LOCK, 7/16"-14, GB

1шт.

25

195-2018

WASHER,.469" x 3/4" x .065"

- flat

2шт.

26

F63785

SHIM

- striker bracket, 5/64 inch (2.03 MM)

2шт.

27

F63786

SHIM

- striker bracket, 3/64 inch (1.27 MM)

2шт.

28

171-243

SCREW,Cross Flat Hd, 5/16" - 18 x 1/2", W/ Nylon Insert

- flat head, 1/4 NC x 1 inch

2шт.

29

195-518

WASHER,1/4", SAE

- flat, 9/32 x 5/8 x 1/16 inch (7 x 16 x 2 mm)

2шт.

30

86625061

NUT,1/4"-20, GB

NUT - lock special, 1/4 inch NC

2шт.

36

113-2237

BOLT,Hex, 3/8" - 16 x 4-3/4", Gr 5

2шт.

37

131-1306

JAM NUT,Jam, 3/8"-16

NUT - hex lock, 3/8 inch NC

2шт.

38

F64046

WASHER,9.91mm ID x 19.05mm OD x 0.76mm Thk

- thrust

2шт.

40

A176027

DOOR

STOP - door

2шт.

41

A181270

BUMPER

- door stop

8шт.

Выбрано товаров: 21