Запчасти Case IH 2096 (2-022) - CYLINDER HEAD AND MECHANISM, 6TA-590 DIESEL ENGINE (02) - ENGINE

Схема запчастей Case IH 2096 - (2-022) - CYLINDER HEAD AND MECHANISM, 6TA-590 DIESEL ENGINE (02) - ENGINE
16
38
2
15
10
24
35
1
33
25
31
8
17
11
6
30
7
23
8
5
24
23
40
38
27
9
3
20
26
40
28
18
36
7
3
32
22
4
FIT
1:1
100%

Артикул

Название

Примечание

Количество

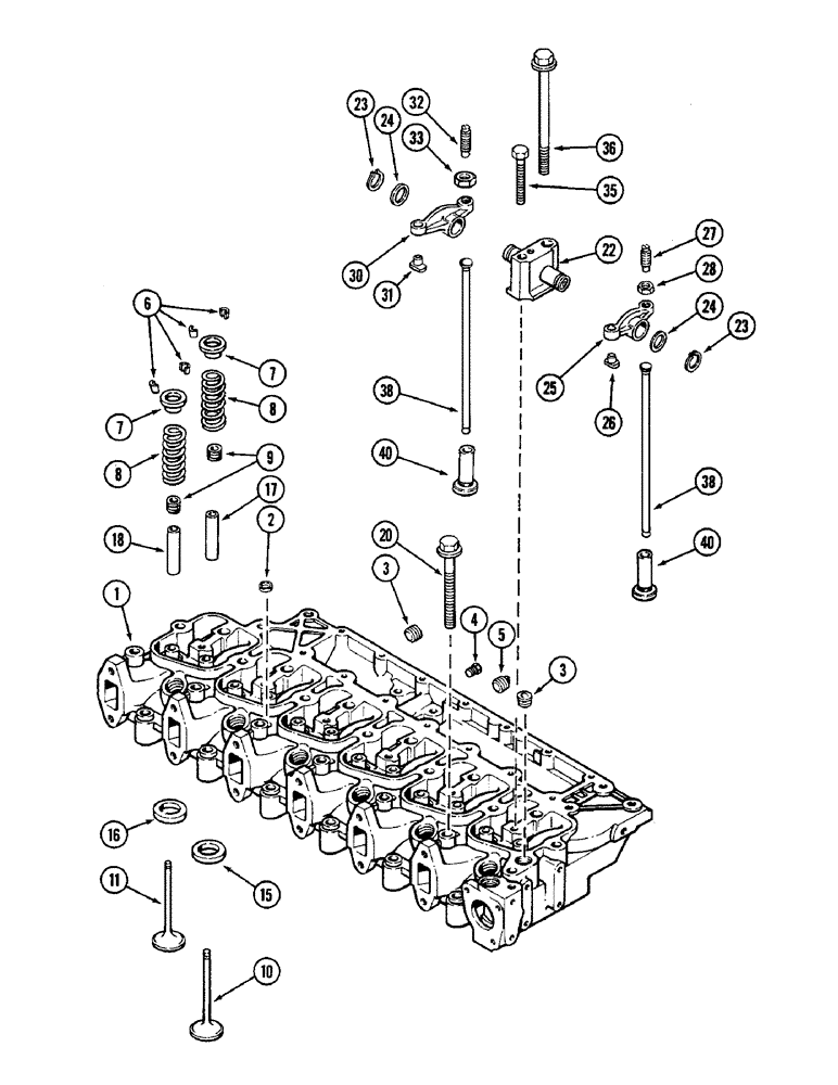
1

JR906455

HEAD

Head Assembly, Cylinder (Remanufactured)

1шт.

1

JC906455

HEAD

Return Part Number, Cylinder Head Assembly (Use This Number For Intransit Core For Credit)

1шт.

1

J906455

HEAD (CYLINDER)

HEAD ASSEMBLY - cylinder (New), Includes: Ref. 1 P/N J904575 - Ref. 11

1шт.

1

J904575

HEAD (CYLINDER)

HEAD ASSEMBLY - cylinder, Includes: Ref. 2 - 11

1шт.

1

87430149

REMAN-CYLINDER HEAD

Cylinder Head

1шт.

1

87430150

CORE-CYLINDER HEAD

Return Part Number

1шт.

2

J902606

PLUG

PLUG - expansion (21 MM) OD

4шт.

3

A77429

PLUG

PLUG - hex socket pipe, 1/2-18 inch PT

5шт.

4

J906619

PLUG,1/8" - 27

PLUG - hex socket pipe, 1/8-27 inch PT

2шт.

5

A77505

PLUG

PLUG - square head pipe, 1/2-18 inch PT

1шт.

6

J900250

SCREW

KEEPER - valve

24шт.

7

J900299

RETAINER

RETAINER - valve spring

12шт.

8

J900276

VALVE SPRING

SPRING - valve

12шт.

9

J901097

SEAL

SEAL - valve stem

12шт.

10

J901117

VALVE

VALVE - intake

6шт.

11

J901607

VALVE

VALVE - exhaust

6шт.

15

J906854

SEAT, VALVE

SEAT - insert, intake valve (Service repair only)

6шт.

16

J904105

SEAT, VALVE

SEAT - insert, exhaust valve (Service repair only)

6шт.

17

J904408

GUIDE

GUIDE - valve, intake (Service repair only)

6шт.

18

J904409

GUIDE

GUIDE - valve, exhaust (Service repair only)

6шт.

20

J903938

BOLT

BOLT - hex flanged, M12 x 70 MM

6шт.

20

J903939

BOLT

BOLT - hex flanged, M12 x 120 MM

14шт.

22

J907048

SUPPORT

SUPPORT AND SHAFT ASSEMBLY - rocker arm (Replaces J902583)

6шт.

23

J900242

SNAP RING

RING - retaining

12шт.

24

J900245

WASHER

WASHER - thrust

12шт.

25

J900540

ARM ASSY.

ARM ASSEMBLY - rocker, intake, Includes: Ref. 26 - 28

6шт.

26

NSS

NOT SOLD SEPARAT

INSERT - rocker arm (Reference no. J900705)

1шт.

27

J937438

ADJUSTMENT SCREW,Hex Skt, 3/8" - 24 x 33mm, Adj, Ball Point

SCREW - slotted adjusting, 3/8 inch NF x 40 MM

1шт.

28

A77434

JAM NUT,Jam, 3/8"-24, G5

NUT - hex jam, 3/8 inch NF

1шт.

30

J900539

ARM ASSY.

ARM ASSEMBLY - rocker, exhaust, Includes: Ref. 31 - 33

6шт.

31

NSS

NOT SOLD SEPARAT

INSERT - rocker arm (Reference no. J900705)

1шт.

32

J937438

ADJUSTMENT SCREW,Hex Skt, 3/8" - 24 x 33mm, Adj, Ball Point

SCREW - slotted adjusting, 3/8 inch NF x 40 MM

1шт.

33

A77434

JAM NUT,Jam, 3/8"-24, G5

NUT - hex jam, 3/8 inch NF

1шт.

35

813-8075

BOLT,Hex, M8 x 1.25 x 75mm, Cl 8.8

BOLT - hex flanged, M8 x 75 MM

6шт.

36

J903940

BOLT

BOLT - hex flanged, M12 x 180 MM

6шт.

38

J904679

PUSH ROD

ROD - push, rocker arm

12шт.

40

J907240

TAPPET

TAPPET - valve, push rod

12шт.

Выбрано товаров: 37