Запчасти Case IH 2096 (6-038) - POWER SHIFT TRANSMISSION, INTERMEDIATE SHAFT (06) - POWER TRAIN

Схема запчастей Case IH 2096 - (6-038) - POWER SHIFT TRANSMISSION, INTERMEDIATE SHAFT (06) - POWER TRAIN
16
6
19
11
10
1
3
8
12
4
10
9
5
14
FIT
1:1
100%

Артикул

Название

Примечание

Количество

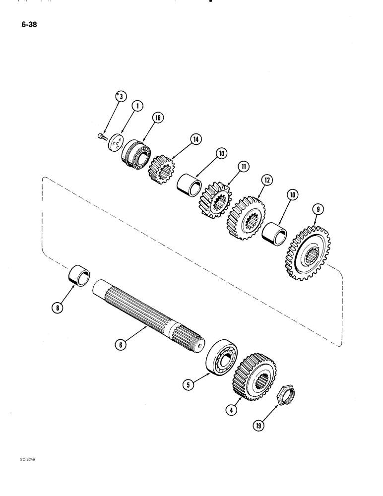
1

A150007

PLATE

- retaining

1шт.

3

61-23814

HEX SOC SCREW,3/8"-16 x 7/8", Locking

SCREW - cap, hex socket, 3/8 NC x 7/8 inch

3шт.

4

A179010

GEAR

- drop, driven (33 teeth)

1шт.

5

A142054

ROLLER BEARING,54.99mm ID x 120mm OD x 29mm W

BEARING - roller

1шт.

6

A168027

SHAFT

- intermediate

1шт.

8

A151823

BUSHING

SPACER - 4th gear and center bearing

1шт.

9

A168039

GEAR

- driven, 4th

1шт.

10

A151822

SPACER

- drive gear

2шт.

11

A168042

GEAR

- driven, 2nd (20 teeth)

1шт.

12

A168041

GEAR

- driven, 3rd (30 teeth)

1шт.

14

A168040

GEAR

- driven, 1st (17 teeth)

1шт.

16

A159435

BEARING ASSY,49.99mm ID x 90mm OD x 62mm W

BEARING - tapered roller, double row

1шт.

19

A168038

NUT

- adjusting

1шт.

Выбрано товаров: 13