Запчасти Case IH 2096 (6-078) - PTO CONTROL LINKAGE (06) - POWER TRAIN

Схема запчастей Case IH 2096 - (6-078) - PTO CONTROL LINKAGE (06) - POWER TRAIN
14
2
29
13
24
19
4
16
1
17
6
26
30
12
12
15
11
13
22
5
9
7
21
27
10
3
23
18
28
8
FIT
1:1
100%

Артикул

Название

Примечание

Количество

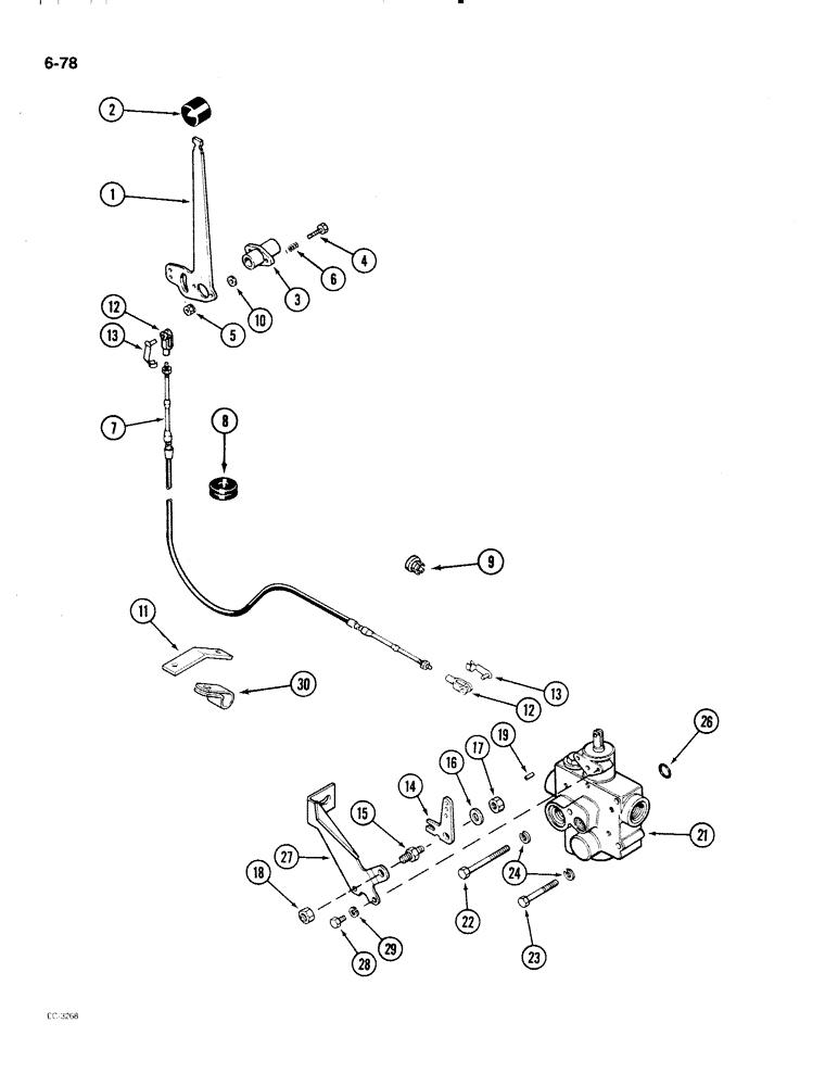
1

A162858

LEVER

- hand, PTO

1шт.

2

A177440

KNOB

- lever (Yellow)

1шт.

3

A160500

BUSHING,15.95mm ID x 25.4mm OD x 55.37mm L

BEARING - control lever

1шт.

5

131-1180

LOCK NUT,1/4"-20, GA

NUT, LOCK, 1/4"-20, GA

2шт.

6

B51407

SPRING

- detent, hand lever

2шт.

7

A177635

CABLE

- PTO control

1шт.

8

A141389

GROMMET

- cable

1шт.

9

A162961

PLUG

- cable

2шт.

10

495-11028

WASHER,1/4", SAE

(flat, 9/32 x 5/8 x 1/16") 1/4", SAE

4шт.

11

A185811

STRAP

- clutch cable to step bolt

1шт.

12

213-1

ADJUSTABLE CLEVIS,#10-32

CLEVIS - adjustable, No. 10

2шт.

13

A149683

PIN

- clevis, 3/16 inch

2шт.

14

A181455

LEVER

- PTO valve

1шт.

15

A160040

STUD

- PTO lever

1шт.

16

495-21038

WASHER,5/16"

(flat, 3/8 x 7/8 x 5/64") 5/16"

1шт.

17

131-1306

JAM NUT,Jam, 3/8"-16

NUT - hex, jam, self-locking 3/8 inch NC

1шт.

18

425-108

NUT,1/2" - 13, Gr 5

NUT, , Hex 1/2"-13, G5

1шт.

19

138-71

LOCK PIN,5/32" x 5/8", Slotted

PIN, 5/32" x 5/8", Slotted

1шт.

21

G110272

VALVE

ASSEMBLY - PTO control (See Figure 6-080)

1шт.

22

413-660

BOLT,Hex, 3/8" - 16 x 3-3/4", Gr 5

- hex, 3/8 NC x 3-3/4 inch

1шт.

23

413-644

BOLT,Hex, 3/8" - 16 x 2-3/4", Gr 5

- hex, 3/8 NC x 2-3/4 inch

2шт.

24

492-11038

LOCK WASHER,3/8"

3шт.

26

A42597

O-RING,0.734" ID x 1.012" OD x 0.139"

- regulator valve

1шт.

27

A163044

BRACKET

- PTO cable mounting

1шт.

28

13-410

BOLT,Hex, 1/4" - 20 x 5/8", Gr 5, Full Thd

2шт.

29

92-11025

LOCK WASHER,6.4mm ID x 12.37mm OD x 1.57mm Thk

WASHER, LOCK, 1/4"

2шт.

30

49859

CLAMP

CLIP - cable

1шт.

4

413-420

BOLT,Hex, 1/4" - 20 x 1-1/4", Gr 5

2шт.

Выбрано товаров: 0