Запчасти Case IH 2096 (8-016) - TRANSMISSION LUBRICATION (08) - HYDRAULICS

Схема запчастей Case IH 2096 - (8-016) - TRANSMISSION LUBRICATION (08) - HYDRAULICS
8
21
23
20
2
34
1
11
33
12
6
30
7
22
18
3
16
23
34
13
28
22
15
32
31
17
29
4
14
FIT
1:1
100%

Артикул

Название

Примечание

Количество

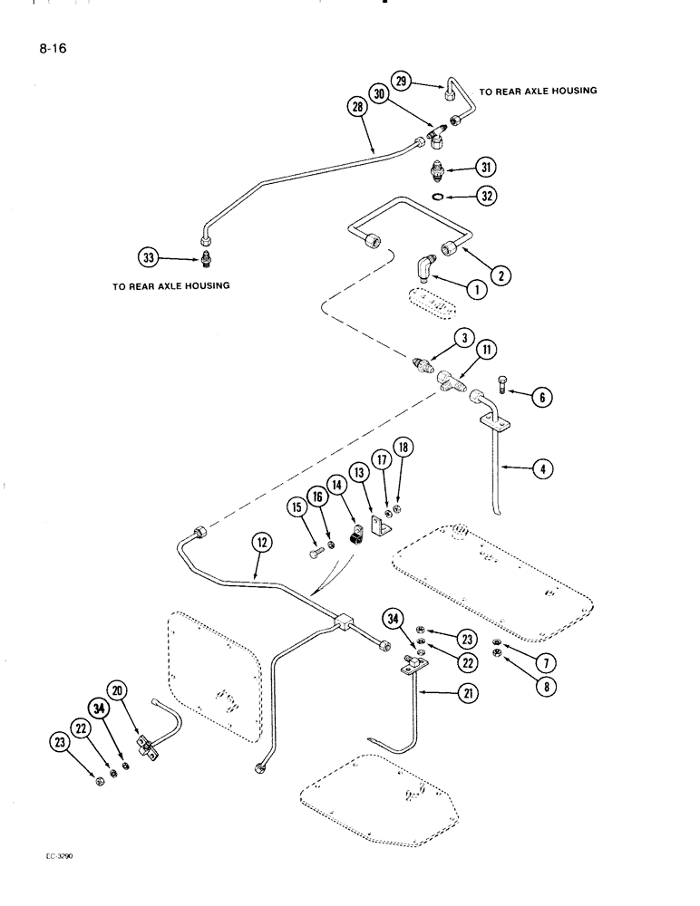
1

218-1084

ELBOW,90 Degree, 3/4"-16, 37 Degree x 1/2"-12 NPTF, XLG

- 90 degree, 1/2 inch tube, 3/4 inch NF x 1/4 inch PT

1шт.

2

A167843

TUBE

- supply, spiral bevel

1шт.

3

A160216

FITTING

VALVE - check, lubrication tube

1шт.

4

A165324

PIPE

TUBE - lubrication, spiral bevel

1шт.

6

13-516

BOLT,Hex, 5/16" - 18 x 1", Gr 5

2шт.

7

92-11031

LOCK WASHER,5/16"

WASHER, LOCK, 5/16"

2шт.

8

9635082

NUT,5/16" - 18, Gr 5

2шт.

11

218-845

TEE,37 Degree, 3/4"-16 x 3/4"-16, Fem Sw Run

- 3/4-16 inch flare branch x flare x adj. straight thread

1шт.

12

A177203

TUBE

- lubrication, transmission gear

1шт.

13

A162527

BRACKET

- clamp

2шт.

14

49838

CLAMP

- retaining

2шт.

15

13-512

BOLT,Hex, 5/16" - 18 x 3/4", Gr 5

2шт.

16

95-81159

WASHER,3/8" x 7/8" x .083"

- flat, 3/8 inch

2шт.

17

92-11031

LOCK WASHER,5/16"

WASHER, LOCK, 5/16"

2шт.

18

9635082

NUT,5/16" - 18, Gr 5

2шт.

20

A179070

PIPE

TUBE - lubrication, 2nd and 3rd gear

1шт.

21

A168919

PIPE

TUBE - lubrication, transfer gear

1шт.

22

492-11038

LOCK WASHER,3/8"

4шт.

23

25-106

NUT,3/8"-16, G5

- hex, 3/8 inch NC

4шт.

28

A180575

TUBE

- planetary lubrication, right

1шт.

Transmission S/N 16246636 and after

1шт.

29

A180574

TUBE

- planetary lubrication, left

1шт.

Transmission S/N 16246636 and after

1шт.

30

218-856

TEE,37 Degree, 9/16"-18, x 3/4"-16, Fem Sw Br

- swivel, 3/8 tube, 9/16 inch NF x 1/2 tube, 3/4 inch NF 1/2 inch tube, 3/4 inch NF

1шт.

31

A160216

FITTING

VALVE - check

1шт.

Transmission S/N 16246636 and after

1шт.

32

237-6008

O-RING,0.087" Thk x 0.644" ID, -908, Cl 6, 90 Duro

8-1, 90 Duro, .644" ID x .087" Thk

1шт.

33

A149515

CONNECTOR, ELEC

UNION - straight

2шт.

Transmission S/N 16246636 and after

1шт.

34

495-21044

WASHER,3/8"

(flat, 7/16 x 1 x 5/64 inch) 3/8"

4шт.

Выбрано товаров: 30