Запчасти Case IH 2096 (9-048) - SEAT, AIR/OIL SUSPENSION (09) - CHASSIS/ATTACHMENTS

Схема запчастей Case IH 2096 - (9-048) - SEAT, AIR/OIL SUSPENSION (09) - CHASSIS/ATTACHMENTS
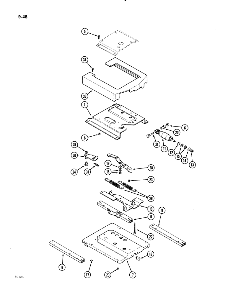
8
5
22
10
25
16
17
18
28
34
21
14
7
24
15
11
6
23
9
1
13
19
23
8
6
33
29
30
31
12
20
FIT
1:1
100%

Артикул

Название

Примечание

Количество

A181028

SEAT

ASSEMBLY - air/oil suspension, Includes: hydraulic suspension assembly, later and early production seat isolator assemblies, and Ref. 1 - 34 in this figure and parts in Figures 9-046, 9-050 and 9-052

1шт.

A49817

SUSPENSION

ASSEMBLY - hydraulic (Later production), Includes: later and early production seat isolator assemblies and Ref. 1 - 31 in this figure and parts in Figures 9-050 and 9-052

1шт.

A49818

HOUSING

ISOLATOR ASSEMBLY - seat (Later production), Includes: Ref. 1 - 31 in this figure and parts in Figure 9-050

1шт.

A49525

SEAT

ISOLATOR ASSEMBLY - seat (Early production), Includes: Ref. 1 - 31 in this figure and parts in Figure 9-050

1шт.

1

A49820

PLATE ASSY.

PLATE - top (Later production)

1шт.

1

A49544

PLATE

- top (Early production)

1шт.

5

113-290

BOLT,Hex, 3/8" - 16 x 5/8", Gr 5, Full Thd

- hex, 3/8 NC x 5/8 inch

4шт.

6

131-179

LOCK NUT,3/8"-16, GA

NUT - hex, self-locking, 3/8 inch NC

1шт.

7

A49539

CLIP

HOUSING - isolator, upper

1шт.

8

A49540

SLIDE

ASSEMBLY - isolator

2шт.

9

A49824

SLIDER

SLIDE ASSEMBLY - isolator (With latch) (Later production)

1шт.

9

A49541

RAIL

SLIDE ASSEMBLY - isolator (With latch) (Early production)

1шт.

10

A49819

BRACKET

- mounting, shock absorber (Later production)

1шт.

10

NLS

NO LONGER SERVICED

- mounting, shock absorber (Early production)

1шт.

11

A49543

SHOCK ABSORBER

ABSORBER - shock, isolator

1шт.

12

495-11041

WASHER,0.406" ID x 0.812" OD x 0.065" W

(Flat, 13/32 x 13/16 x 1/16") 3/8", SAE

1шт.

13

131-151

LOCK NUT

NUT - hex, self-locking, 5/16 inch NF

1шт.

14

A49678

WASHER

- flat, 21/64 x 1 x 5/64 inch

1шт.

15

A49679

BUSHING

- rubber

2шт.

16

A49549

INSULATOR BLOCK

BUMPER - isolator

1шт.

17

117-101

BOLT

BOLT - square head, 5/16 NC x 3/4 inch

1шт.

18

131-413

PUSH-ON NUT,Rd Flat Push, 1/4" x 17/32"

NUT - push-on type, 1/4 x 17/32 inch

2шт.

19

495-81286

WASHER,.281" x 1 1/8" x .060"

- flat, 9/32 x 1-1/8 x 1/16 inch

1шт.

20

A45501

BUSHING,0.504" ID x 0.87" OD x 1.417"

- shock absorber

1шт.

21

A45056

STEP BOLT

BOLT - shoulder

1шт.

22

113-168

BOLT,Hex, 5/16" - 18 x 5/8", Gr 5, Full Thd

- hex, 5/16 NC x 5/8 inch

6шт.

23

131-351

LOCK NUT,5/16"-18, GA

NUT - hex, self-locking, 5/16 inch NC

12шт.

24

A49546

BOLT

- shoulder

1шт.

25

131-179

LOCK NUT,3/8"-16, GA

NUT - hex, self-locking, 3/8 inch NC

1шт.

28

A49821

HANDLE

- isolator (Later production)

1шт.

28

A49545

LEVER

HANDLE - isolator, with knob (Early production)

1шт.

29

A49823

SPRING

- shock absorber (Later production)

1шт.

29

A48356

SPRING

- shock absorber (Early production)

1шт.

30

A49547

LATCH

- isolator

1шт.

31

A49548

SPRING

- latch

1шт.

33

A49816

CABLE ASSY.

SHROUD - isolator (Later production)

1шт.

34

A49622

CLIP

- retaining

4шт.

Выбрано товаров: 37