Запчасти Case IH 2096 (5-036) - CARRARO MFD FRONT AXLE, P.I.N. 17898102 AND AFTER, DRIVE SHAFTS (05) - STEERING

Схема запчастей Case IH 2096 - (5-036) - CARRARO MFD FRONT AXLE, P.I.N. 17898102 AND AFTER, DRIVE SHAFTS (05) - STEERING
3
1
5
2
4
4
6
FIT
1:1
100%

Артикул

Название

Примечание

Количество

1975363C1

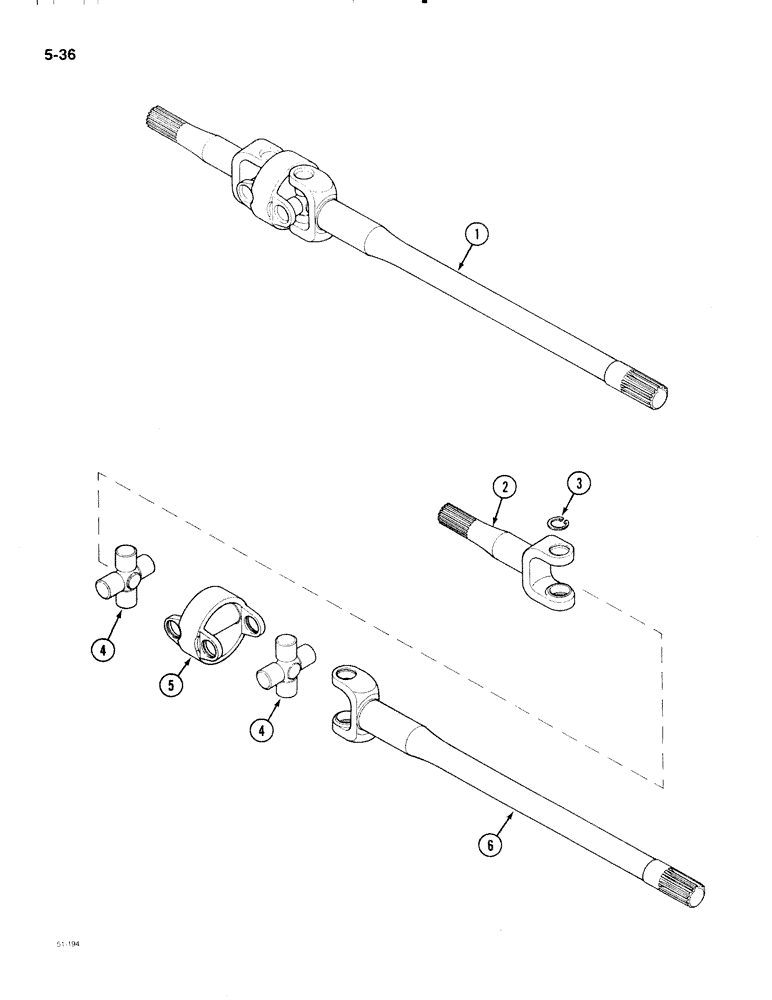
AXLE

ASSEMBLY - front, Includes: Ref. 1 - 6 in this figure and parts in Figures 5-030 thru 5-034, 5-038 and 5-040

1шт.

1

222622A1

SHAFT

ASSEMBLY - drive, Includes: Ref. 2 - 6

2шт.

2

D143005

FORK

SHAFT - axle, wheel side

1шт.

3

N14410

RING

- retaining, universal joint

8шт.

4

222625A1

SPIDER ASSY.

SPIDER - universal joint

2шт.

5

D143002

BODY

- universal joint

1шт.

6

222627A1

SHAFT

- axle, differential side

1шт.

Выбрано товаров: 7