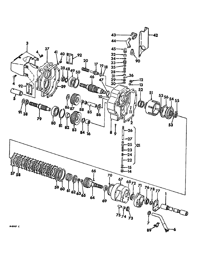
Запчасти Case IH 21026 (07-46) - DRIVE TRAIN, INDEPENDENT POWER TAKE-OFF, DUAL SPEED (04) - Drive Train

Схема запчастей Case IH 21026 - (07-46) - DRIVE TRAIN, INDEPENDENT POWER TAKE-OFF, DUAL SPEED (04) - Drive Train
3
44
4
20
53
85
48
24
14
7
29
54
79
56
21
10
70
40
73
38
9
6
15
55
23
38
16
80
77
19
43
8
35
41
65
90
58
17
42
26
78
89
83
49
13
69
53
72
86
67
88
82
81
18
47
60
37
84
62
25
50
5
57
92
36
66
45
2
92
32
51
75
59
27
1
28
63
33
86
64
74
39
31
22
87
76
4
46
12
91
71
52
34
68
11
30
61
FIT
1:1
100%

Артикул

Название

Примечание

Количество

ATTACHMENT, power take-off, 540 & 1000 RPM, 399639R93

1шт.

1

381513R11

SHAFT

ASSY, PTO extension

1шт.

2

381467R1

GASKET

PTO housing

1шт.

3

536212R1

SHIELD

ASSY, independent power take-off safety

1шт.

4

364713R1

AXLE PIN

BOLT, independent power take-off safety shield

4шт.

5

393116R1

TUBE

independent power take-off shaft protection

1шт.

6

395120R1

TUBE

ASSEMBLY, suction

1шт.

7

381526R1

SEAL,25.3mm ID x 36.2mm OD x 4.78mm Thk

suction tube

1шт.

8

381462R11

HOUSING

W/BALL, 16008R1, ball, 16020R1, & plug, 444660, independent power take-off

1шт.

179885

BOLT,Hex, 1/2" - 13 x 1 1/2", Gr 5

1шт.

9

444660

DRAIN PLUG,Sq Soc, 3/8"-18 NPTF

PLUG, 3/8-18 auto. sq-soc-hd pipe

1шт.

10

16008R1

BALL,1/4" Dia, Steel

1/4 grade 2 cr-stl

1шт.

11

16020R1

BALL

5/8 grade 2 cr-stl

1шт.

12

9410355

PLUG,Hex Hd, 3/8"-24 ORB

3/8-24 str thd o-ring boss, gauge hole

1шт.

13

359158R1

O-RING,0.301" ID x 0.07" Width

-011, 70 Duro, .031" ID x .070" Thk, Gauge hole plug

1шт.

14

9410360

PLUG

7/8-14 str thd o-ring boss, valve stop

1шт.

15

364885R1

O-RING,0.097" Thk x 0.755" ID, -910, Cl 6, 90 Duro

3/4 x 15/16 x 3/32, valve stop plug

1шт.

16

576539R91

NEEDLE BEARING

540 RPM output shaft front

1шт.

17

381464R22

PISTON

ASSY, anti-creep brake

3шт.

18

370920R1

O-RING,1/2" ID

1/2 x 5/8 x 1/16, anti creep brake piston

3шт.

19

293739R1

O-RING,0.139" Thk x 1.359" ID, -220, Cl 5, 75 Duro

1-3/8 x 1-5/8 x 1/16, anti-creep brake piston

3шт.

20

381466R1

SPRING

anti-creep brake piston

3шт.

21

534386R91

LOCK VALVE

VALVE ASSY, control, replaces 381468R94

1шт.

22

381469R12

GUIDE

ASSY, control valve

1шт.

23

381760R1

SPRING

control valve light

1шт.

24

403905R2

VALVE SPRING

SPRING, control valve heavy

1шт.

25

381472R1

VALVE

control

1шт.

26

381473R2

STEM

control valve guide, order fitting, 381476R3, nut, 102635, seal, 381477R91 and valve, 534386R91 for Farmall tractors w/serial no. 9960 & below, International tractors w/serial no. 7549 & below

1шт.

26

534387R1

VALVE, CHECK

STEM, control valve guide, Farmall tractors w/serial no. 9661 & above, International tractors w/serial no. 7550 & above

1шт.

102635

NUT,3/8"-16, G5

1шт.

27

400518R1

PIN

control valve dowel

1шт.

28

381762R1

VALVE SPRING

SPRING, control valve bumper

1шт.

29

384562R1

SHIM

bumper spring, use as required

1шт.

30

384564R1

SPACER

bumper spring pre-load sleeve

1шт.

31

381763R1

SEAT

SLEEVE, bumper spring pre-load

1шт.

32

384876R1

SPACER,12.7mm ID x 25.4mm OD x 14.22mm L

control valve stem, Farmall tractors w/serial no. 9660 & below, International tractors w/serial no. 7549 & below

1шт.

32

528486R1

STOP

control valve stem, Farmall tractors w/serial no. 9661 & above, International tractors w/serial no. 7550 & above

1шт.

33

381476R3

PLUG

FITTING, control valve

1шт.

34

381477R91

SEAL,9.73mm ID x 22.33mm OD x 6.35mm Thk

control valve cover oil

1шт.

35

297459R1

O-RING,0.116" Thk x 1.048" ID, -914, Cl 6, 90 Duro

1-3/64 x 1-7/32 x 7/64, control valve cover

1шт.

36

384875R1

WASHER

control valve stem

1шт.

37

384213R91

COVER ASSY

COVER W/PINS, 19846R1 independent power take-off housing

1шт.

19846R1

DOWEL,1/2" x 1 1/4"

PIN, 1/4 x 1-1/4 dowel

2шт.

179885

BOLT,Hex, 1/2" - 13 x 1 1/2", Gr 5

2шт.

187201

BOLT,Hex, 1/2" - 13 x 4 3/4", Gr 5

SCREW, 1/2-13 x 4-3/4 hex-hd cap

6шт.

38

381480R91

OIL SEAL

output shaft oil

2шт.

39

381481R1

GASKET

independent power take-off cover and housing

1шт.

40

9410357

PLUG

1/2-20 str thd o-ring boss, belt pulley lub port

1шт.

42

399626R1

SUPPORT

ASSY, valve linkage

1шт.

103373

COTTER PIN,3/32" x 3/4"

Pin, Split (Cotter), 3/32" x 3/4"

1шт.

189787

BOLT,Hex, 1/2" - 13 x 5 1/4", Gr 5

SCREW, 1/2-13 x 5-1/4 hex-hd cap

2шт.

95-11041

WASHER,3/8"

(13/32 x 13/16 x 16 ga) 3/8"

1шт.

43

384189R12

LEVER

ASSY, over-center

1шт.

103373

COTTER PIN,3/32" x 3/4"

Pin, Split (Cotter), 3/32" x 3/4"

1шт.

95-11034

WASHER,1/4"

11/32 x 11/16 x 16 ga

1шт.

44

384192R11

LEVER

LINK ASSY, valve stem actuating

1шт.

103373

COTTER PIN,3/32" x 3/4"

Pin, Split (Cotter), 3/32" x 3/4"

1шт.

95-11034

WASHER,1/4"

11/32 x 11/16 x 16 ga

1шт.

45

384194R2

NUT,3/8" - 16

valve adjustment

1шт.

46

405595R1

SHAFT

independent power take-off, 1000 RPM output

1шт.

47

364145R1

O-RING,0.103" Thk x 2.112" ID, -138, Cl 5, 75 Duro

2-1/8 x 2-5/16 x 3/32 independent power take-off 1000 RPM output shaft

1шт.

48

359894R1

RING, SNAP

RING, 1000 RPM output shaft locating snap

1шт.

49

381483R91

ROLLER BEARING,1.7717" ID x 3.337" OD x 0.9843"

1000 RPM output shaft rear

1шт.

50

357201R1

RING

1000 RPM shaft rear bearing retaining snap

1шт.

51

381484R1

DISC

CUP, clutch

1шт.

52

381485R1

RING,67.13mm ID x 72.21mm OD x 3.12mm Thk

clutch cup seal

2шт.

53

258400C1

SNAP RING,#187, Ext

Ring, Snap, , clutch cup #187, Ext

2шт.

54

405473R1

PISTON

CLUTCH, piston

1шт.

55

558636R1

O-RING

1-7/8 x 2-1/4 x 3/16, clutch piston

1шт.

56

381488R1

RING,120.78mm ID x 134.34mm OD x 4.78mm Thk

SEAL, clutch piston oil

1шт.

57

381489R2

DISC

clutch driven

12шт.

58

381490R91

DISC

PLATE ASSY, clutch

5шт.

59

381491R1

RETAINER

clutch driven disc

1шт.

60

381492R1

CIRCLIP,M137.16 x 3.07mm Thk, Int

RING, clutch driven disc retainer snap

1шт.

61

381493R1

SPRING

clutch release

1шт.

62

381494R1

RETAINER

clutch release spring

1шт.

63

370504R1

RING

clutch release spring retainer snap

1шт.

64

389529R1

SHAFT

drive

1шт.

65

10026R

NEEDLE BEARING,0.875" ID x 1.1245" OD x 0.5"

BEARING, 1000 RPM drive shaft front

1шт.

66

124545

WOODRUFF KEY,#5, 1/8" x 5/8", HT

1шт.

67

529564R11

CARRIER

ASSY, independent power take-off clutch

1шт.

179849

BOLT,Hex, 3/8" - 16 x 2 1/2", Gr 5

4шт.

68

19879R1

SPLIT PIN/SAFETY PIN

PIN, 5/16 x 3/4 dowel

2шт.

69

359950R91

NEEDLE BEARING

BEARING, drive shaft rear

1шт.

70

529565R1

GASKET

IPTO clutch carrier

1шт.

71

381498R1

HOUSING

pump

1шт.

179839

BOLT,Hex, 3/8" - 16 x 1", Gr 5

2шт.

179847

BOLT,Hex, 3/8" - 16 x 2", Gr 5

3шт.

72

381499R1

PINION

GEAR, pump driver

1шт.

73

381500R1

PINION

GEAR, pump idler

1шт.

74

381501R91

NEEDLE BEARING

pump idler gear needle

1шт.

75

381502R1

SHAFT

pump idler gear

1шт.

76

ST568

BALL BEARING,35 mm ID x 62 mm OD x 14 mm

BEARING, drive shaft front

1шт.

77

381503R1

RETAINER

drive shaft front bearing

1шт.

179793

BOLT,Hex, 1/4" - 20 x 5/8", Gr 5, Full Thd

4шт.

103319

LOCK WASHER,1/4"

WASHER, LOCK, 1/4"

4шт.

78

359141R1

RING, SNAP

RING, drive shaft front bearing snap

1шт.

79

393111R2

SHAFT

independent power take-off, 540 RPM output

1шт.

80

ST293

BALL BEARING,45mm ID x 100mm OD x 25mm W

BEARING, independent power take-off 540 RPM output shaft rear

1шт.

81

357201R1

RING

independent power take-off 540 RPM shaft rear bearing retaining

1шт.

82

381505R1

SPACER,44.7mm ID x 57.15mm OD x 16.76mm L

independent power take-off 540 RPM output shaft

1шт.

83

381506R1

GEAR

independent power take-off driven

1шт.

84

359894R1

RING, SNAP

RING, independent power take-off driven gear retaining snap

1шт.

85

381507R1

SHAFT,31.74mm OD x 98.81mm L

independent power take-off idler

1шт.

86

381508R1

THRUST WASHER,32.26mm ID x 57.15mm OD x 2.39mm Thk

independent power take-off idler gear thrust

4шт.

87

381509R1

GEAR

independent power take-off idler

1шт.

88

287057R91

BEARING, NEEDLE

BEARING, independent power take-off idler gear

2шт.

89

381525R1

SUPPORT TUBE,2.8" Length

SUPPORT, suction tube

1шт.

109084

NUT,1/4"-20, G5

2шт.

413-412

BOLT,Hex, 1/4" - 20 x 3/4", Gr 5

SCREW, 1/4-20 x 3/4 hex-hd cap

2шт.

103319

LOCK WASHER,1/4"

WASHER, LOCK, 1/4"

2шт.

90

393071R1

BOOT

independent PTO control dust

1шт.

91

393211R1

SHIELD

independent PTO shaft seal

1шт.

398739R1

RING

external retaining

1шт.

92

393115R11

EXTENSION

ASSY, independent PTO safety shield

2шт.

179835

BOLT,Hex, 3/8" - 16 x 5/8", Gr 5, Full Thd

4шт.

374539R1

FLUID

SEALANT, loctite

1шт.

41

369384R1

O-RING,0.072" Thk x 0.414" ID, -905, Cl 6, 90 Duro

5-1, 90 Duro, .414" ID x .072" Thk, Belt pulley lub port plug

1шт.

Выбрано товаров: 118