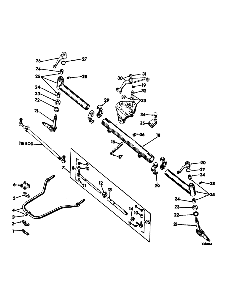
Запчасти Case IH 21206 (J-14) - STEERING MECHANISM, ADJUSTABLE WIDE TREAD FRONT AXLE AND CONNECTIONS, INTERNATIONAL TRACTORS Steering Mechanism

Схема запчастей Case IH 21206 - (J-14) - STEERING MECHANISM, ADJUSTABLE WIDE TREAD FRONT AXLE AND CONNECTIONS, INTERNATIONAL TRACTORS Steering Mechanism
21
11
2
30
26
25
9
31
12
29
22
23
1
17
8
27
32
33
35
7
15
27
13
11
24
18
36
22
23
24
24
16
19
20
28
10
29
14
9
5
10
6
34
4
21
28
3
37
25
24
FIT
1:1
100%

Артикул

Название

Примечание

Количество

1

380008R1

PLATE ASSY.

PLATE, stay rod ball socket cap lock

1шт.

2

379953R1

CAP

stay rod ball socket

1шт.

3

10546D

BALL

stay rod

1шт.

4

379951R11

STAY ROD ASSY

1шт.

427546

JAM NUT,Jam, 1 3/8"-12, G5

1-3/8-12 hex. jam

2шт.

118028

WASHER, 1-3/8 light lock

2шт.

5

379954R1

SHIM

stay rod ball socket cap

1шт.

6

380007R1

SOCKET

stay rod ball

1шт.

326-1032

BOLT,Hex, 5/8" - 11 x 2", Gr 8

SCREW, 5/8-11 x 1-7/8 hex-hd cap

2шт.

13-1052

BOLT,Hex, 5/8" - 11 x 3-1/4", Gr 5

SCREW, 5/8-11 x 3-1/4 hex-hd cap

2шт.

7

384432R91

ROD ASSY, tie

2шт.

8

384434R91

END

ROD ASSY, tie, LH

1шт.

9

374701R1

NUT

tie rod end, optional with 374548R1

2шт.

9

374548R1

SLOTTED NUT

tie rod end, optional with 374701R1

2шт.

10

387280R1

SEAL

COVER, dust

2шт.

11

109461

LUBE NIPPLE,1/8"-27 x .66 lg

NIPPLE, LUBE, , PTF 1/8"-27 x .66 lg

2шт.

12

359986R1

CLAMP

tie rod

1шт.

25-118

NUT,1/2"-20, G5

1/2-20 hex.

1шт.

181436

BODY,Hex, 1/2" - 20 x 2 1/4", Gr 5

SCREW, 1/2-20 x 2 hex-hd cap

1шт.

13

384433R1

TUBE,0.957" ID, 1.187" OD, 17.125" Length

tie rod

1шт.

14

374062R1

JAM NUT

NUT, jam

1шт.

15

384006R91

END

ASSY, tie rod, RH thread

1шт.

16

379941R1

AXLE PIN,38.1mm OD x 219.2mm L

PIN, front axle pivot

1шт.

17

219-45

LUBE NIPPLE,65 Degree Elbow, 1/4" NPTF

FITTING, 1/4 65 deg angle drive type lub

1шт.

18

380004R21

AXLE ASSY, front

1шт.

19

219-53

LUBE NIPPLE,65 Degree Elbow, 3/16" NPTF

FITTING, 3/16 65 deg angle drive type lo\ub

1шт.

20

384017R1

ARM

RH steering knuckle

1шт.

427546

JAM NUT,Jam, 1 3/8"-12, G5

1-3/8-12 hex. jam

1шт.

Q326

WASHER

1-13/32 x 2-3/4 x 18 ga

1шт.

21

401768R91

KNUCKLE

W/OIL SEAL, 370254R91 and shield, 48701D, steering, replaces 371343R92

2шт.

22

374387R1

WASHER

steering knuckle pivot felt

2шт.

23

369131R91

THRUST BEARING

ASSY, steering knuckle pivot thrust

2шт.

24

358958R2

BUSHING,42.57mm ID x 46.08mm OD x 51.05mm L

steering knuckle pivot pin

4шт.

25

383995R12

EXTENSION

ASSY, front axle

2шт.

26

384016R1

STEERING ARM

ARM, LH steering knuckle

1шт.

427546

JAM NUT,Jam, 1 3/8"-12, G5

1-3/8-12 hex. jam

1шт.

Q326

WASHER

1-13/32 x 2-3/4 x 18 ga

1шт.

27

361850R1

RING

steering knuckle retaining

2шт.

193-12

LOCK WASHER,Ext Tooth, 0.52" ID x 0.89" OD, STL, PLN

WASHER, LOCK, Ext Tooth, 1/2"

1шт.

28

80722

LUBE NIPPLE,3/16" x .55" lg, Drive

FITTING, 3/16 drive type str lub

2шт.

29

383994R1

CLAMP, front axle

4шт.

102639

NUT,5/8"-11, G5

4шт.

425-1012

NUT,3/4"-10, G5

3/4-10 hex.

2шт.

631191R1

BOLT,Hex, 5/8" - 11 x 5", Gr 8

SCREW, 5/8-11 x 5 hex-hd cap

4шт.

20843R1

BOLT,3/4" x 6 3/4", Gr 8

SCREW, 3/4-10 x 6-3/4 hex-hd cap

2шт.

30

379946R21

ARM ASSY, center steering

1шт.

31

379947R1

BUSHING,38.14mm ID x 41.27mm OD x 50.42mm L

center arm pivot

1шт.

32

379948R2

PIN, center arm pivot

1шт.

33

399976R91

NO LONGER SERVICED

BOLSTER ASSY, lower, replaces 379940R41

1шт.

102635

NUT,3/8"-16, G5

1шт.

17892R1

BOLT,Hex, 3/8" - 16 x 6 1/4"

SCREW, 3/8-16 x 6-1/4 hex-hd cap

1шт.

20296R1

HEX SOC SCREW,5/8"-11 x 2"

5/8-11 x 2 hex-soc-hd cap

2шт.

20295R1

HEX SOC SCREW,5/8"-11 x 3"

SCREW, 5/8-11 x 3 hex, soc, hd cap

1шт.

5360

LID

PIN, 3/8 x 6-1/8 headed

1шт.

103384

COTTER PIN,1/8" x 3/4"

Pin, Split (Cotter), 1/8" x 3/4"

1шт.

34

522246R1

HEADED PIN,19.05mm OD x 63.5mm L

PIN, 3/4 x 2-1/2 clevis

1шт.

108639

BRACKET

1/4 x 1-1/8 cotter

1шт.

35

389052R1

CLEVIS COUPLING

CLEVIS, cylinder end

1шт.

179845

BOLT,Hex, 3/8" - 16 x 1 3/4", Gr 5

SCREW, 3/8-16 x 1-3/4 hex-hd cap

1шт.

36

379943R1

BUSHING,38.11mm ID x 41.41mm OD x 38.1mm L

front axle pivot pin

2шт.

37

392991R1

SHIM

center arm pivot pin, .020

1шт.

37

392990R1

SHIM

center arm pivot pin, .010

1шт.

Выбрано товаров: 62