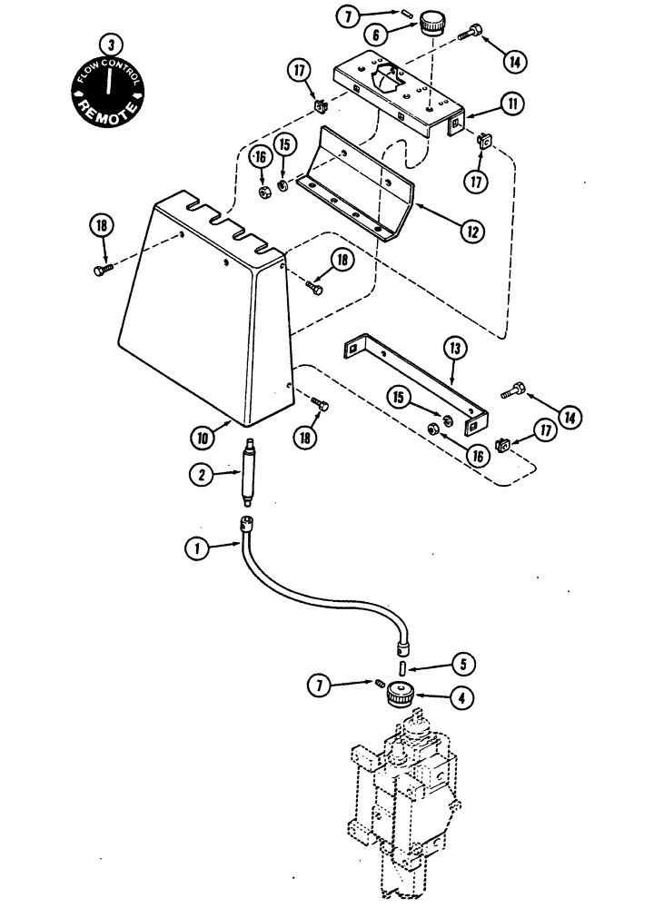
Запчасти Case IH 2290 (8-400) - REMOTE HYDRAULICS, REMOTE FLOW CONTROL KITS (08) - HYDRAULICS

Схема запчастей Case IH 2290 - (8-400) - REMOTE HYDRAULICS, REMOTE FLOW CONTROL KITS (08) - HYDRAULICS
3
16
15
14
12
14
5
15
16
10
13
18
18
11
17
17
7
7
6
18
1
2
17
4
FIT
1:1
100%

Артикул

Название

Примечание

Количество

A67476

KIT

- remote flow control, Includes: Ref. 1-7

2шт.

1

A149146

SHAFT

- flexible, flow control

1шт.

2

A147636

SHAFT

- rigid flow control knob

1шт.

3

321-4129

DECAL

- control knob

1шт.

4

A160814

KNOB

- valve, flow control

1шт.

5

A160815

PIN

- flexible shaft

2шт.

6

A160814

KNOB

- flow control (Replaces A145805)

1шт.

7

178-1108

SET SCREW,Hex Soc, #10-32 x 5/8"

SCREW - socket head cone point set, no. 10-32 x 5/8 inch

3шт.

A67475

KIT

- console, remote flow control, Includes: Ref. 10-18

1шт.

10

A160259

PANEL

SHROUD - flow control

1шт.

11

A160256

SUPPORT

- flow control shroud

1шт.

12

A160257

BRACKET

- flow control

1шт.

13

A160314

KNOB

BRACKET - flow control

1шт.

14

113-17

BOLT,Hex, 1/4" - 20 x 1-1/4", Gr 5

4шт.

15

92-4

LOCK WASHER,1/4"

WASHER, LOCK, 1/4"

4шт.

16

7770

NUT,Hex, 1/4 - 20, Cl 5

1/4"-20, G5

1шт.

17

A67319

NUT

- shroud

6шт.

18

187-575

SELF-TAP SCREW,Hex Washer, 1/4" - 20 x 3/4"

BOLT - hex self tapping, 1/4 x 3/4 inch

6шт.

Выбрано товаров: 18