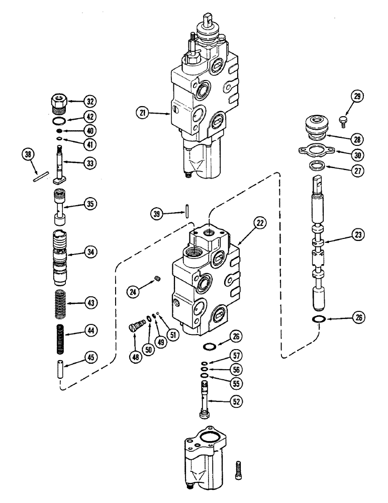
Запчасти Case IH 2290 (8-446) - REMOTE CONTROL VALVE, ADD ON FOR THIRD CIRCUIT, WITH LOCKOUT, WITH LOCKOUT QUADRANT, CONTINUED (08) - HYDRAULICS

Схема запчастей Case IH 2290 - (8-446) - REMOTE CONTROL VALVE, ADD ON FOR THIRD CIRCUIT, WITH LOCKOUT, WITH LOCKOUT QUADRANT, CONTINUED (08) - HYDRAULICS
38
39
40
26
32
49
30
44
56
48
28
42
55
51
35
45
24
34
23
50
57
21
29
22
33
26
27
41
43
52
FIT
1:1
100%

Артикул

Название

Примечание

Количество

A169456

VALVE

ASSEMBLY - remote control (Continued from Figure 8-444), Includes: Ref. 21-57, and Kits

1шт.

21

A48945

HOUSING

BODY ASSEMBLY - remote valve, Includes: Ref. 22-57, and Kits

1шт.

22

NSS

NOT SOLD SEPARAT

BODY - valve (Order A48945)

1шт.

23

NSS

NOT SOLD SEPARAT

SPOOL - valve (Order A48945)

1шт.

24

A47105

PLUG

- expansion

1шт.

26

A27365

O-RING,0.103" Thk x 0.75" ID, -116, Cl 5, 75 Duro

- body

2шт.

A48938

KIT

FILTER KIT - body and spool (Order components), Includes: Ref. 27-30

1шт.

27

A47205

SEAL,22.61mm ID x 32.13mm OD x 2.67mm Thk

FILTER - spool

1шт.

28

A47188

COVER

- dust

1шт.

29

86019274

SCREW,Hex, 1/4"-20 x 1/2", G5

- retainer

2шт.

30

A47196

RETAINER

- filter

1шт.

32

A48925

PLUG

HOUSING - flow control

1шт.

33

A48929

SHAFT

- adjusting

1шт.

34

A48956

TUBE

- flow control

1шт.

35

A48957

SPOOL

- flow control

1шт.

A48941

SEAL

KIT - flow control, Includes: Ref. 38-44

1шт.

38

138-63

LOCK PIN,1/8" x 1 1/4", Slotted

PIN, 1/8" x 1 1/4", Slotted

1шт.

39

138-61

LOCK PIN,1/8" x 1", Slotted

PIN, 1/8" x 1", Slotted

1шт.

40

D71056

RING,Split, 4.47mm ID x 7.21mm OD x 1.32mm Thk

- backup

1шт.

41

A27880

O-RING,0.07" Thk x 0.18" ID, -8, Cl 5, 75 Duro

- shaft

1шт.

42

237-6010

O-RING,0.097" Thk x 0.755" ID, -910, Cl 6, 90 Duro

- 3/4 x 61/64 x 3/32 inch (19 x 24 x 2 MM)

1шт.

43

A48963

SPRING

- outer

1шт.

44

A48964

SPRING

- inner

1шт.

45

A48937

PIN

- guide, spring

1шт.

A47210

PLUG

ASSEMBLY - shuttle, secondary, Includes: Ref. 48, 49, 50, and Seal Kit

1шт.

48

A47204

PLUG

- shuttle

1шт.

A48939

KIT

SEAL KIT - shuttle (Order components), Includes: Ref. 49, 50

1шт.

49

A47101

O-RING,0.07" Thk x 0.176" ID, -8, Cl 6, 90 Duro

-008, 90 Duro, .176" ID x .070" Thk, shuttle

1шт.

50

218-5002

O-RING,0.064" Thk x 0.301" ID, -903, Cl 6, 90 Duro

3-1, .301" ID x .064" Thk, shuttle

1шт.

51

211-255

BALL,3/16 Dia

(5 mm), chrome steel 3/16 Dia

1шт.

52

A47209

SPOOL

SHUTTLE ASSEMBLY - primary, Includes: Ref. 55, 56, 57, and Seal kit

1шт.

N6632

SEAL KIT

SEAL KIT - shuttle, Includes: Ref. 55, 56, 57

1шт.

55

218-5003

O-RING,0.072" Thk x 0.351" ID, -904, Cl 6, 90 Duro

- 11/32 x 1/2 x 5/64 inch (9 x 13 x 2 MM)

1шт.

56

D31411

O-RING,0.07" Thk x 0.239" ID, -10, Cl 6, 90 Duro

-010, 90 Duro, .239" ID x .070" Thk (6 mm ID), shuttle

1шт.

57

A47223

O-RING,0.07" Thk x 0.208" ID, -9, Cl 6, 90 Duro

- shuttle, 7/32 inch (6 MM) ID

1шт.

Выбрано товаров: 35