Запчасти Case IH 2290 (8-468) - DRAFT CONTROL SENSING LINKAGE, TRANSMISSION SERIAL NUMBER 10203915 AND AFTER (08) - HYDRAULICS

Схема запчастей Case IH 2290 - (8-468) - DRAFT CONTROL SENSING LINKAGE, TRANSMISSION SERIAL NUMBER 10203915 AND AFTER (08) - HYDRAULICS
39
17
10
9
60
20
52
42
21
24
38
51
13
25
1
19
9
32
32
41
53
8
27
28
55
43
11
16
8
46
14
10
6
7
40
30
50
32
50
54
32
22
5
29
18
2
26
47
32
44
37
45
8
4
23
31
56
3
12
FIT
1:1
100%

Артикул

Название

Примечание

Количество

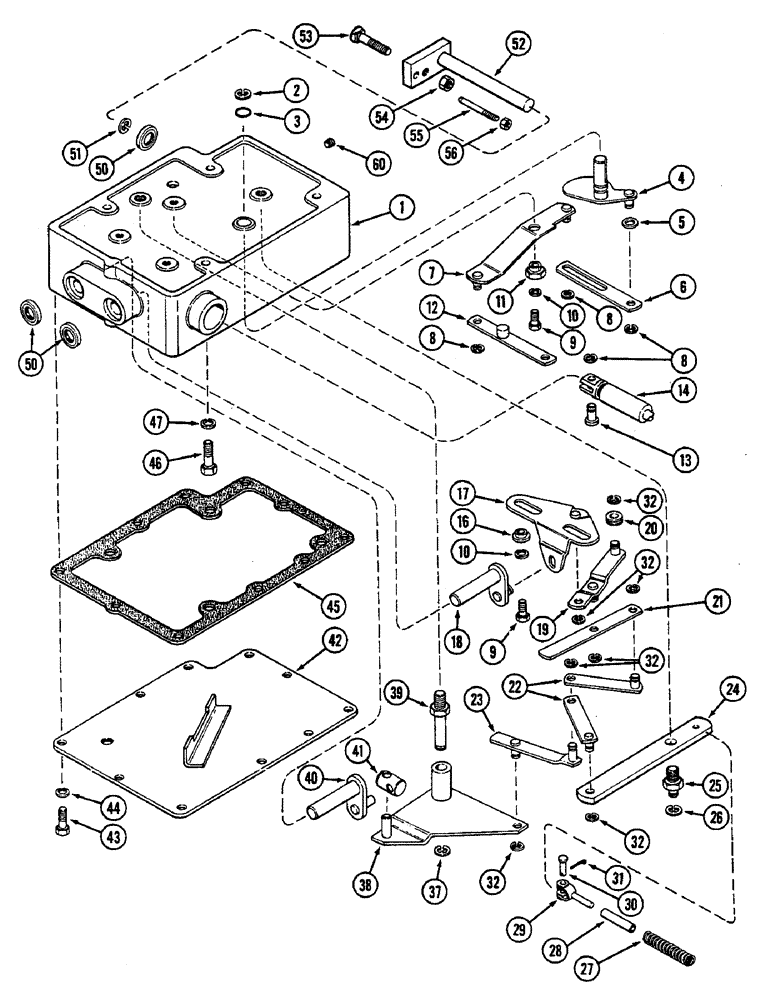
1

A147792

HOUSING

- linkage

1шт.

2

A27785

CIRCLIP,#62, .480" Dia, E-Type

Ring, Retaining, , follow-up camshaft #62, .480" Dia, E-Type

1шт.

3

D26872

O-RING

- 1/2 x 5/8 x 1/16 inch (13 x 16 x 2 MM) (Order A18414)

1шт.

4

A63403

CAM

- follow-up

1шт.

5

122-19

GROMMET

- steel, 3/8 inch

2шт.

6

A63424

LINK

- J, valve lockout

1шт.

7

A65087

ARM

- H, valve lockout

1шт.

8

A27795

RING

- retaining

4шт.

9

13-516

BOLT,Hex, 5/16" - 18 x 1", Gr 5

3шт.

10

92-5

LOCK WASHER,5/16"

3шт.

11

A63423

TRUNNION

- eccentric

1шт.

12

A137498

LINK

- G, valve spool

1шт.

13

A63428

PIN

- valve spool

1шт.

14

REF

INSTRUCTION

SPOOL - valve (See page 8-472)

1шт.

16

A164738

SLIDE

- trunnion (Replaces A63415)

2шт.

17

A63413

SLIDE

- manual signal

1шт.

18

A63407

SHAFT

- manual signal

1шт.

19

A63416

LINK

- F, draft control

1шт.

20

A63418

ROLLER

- cam follower

1шт.

21

A63419

LINK

- E, draft control

1шт.

22

A63429

LINK

- D, draft control

2шт.

23

A63433

LINK

- B, draft control

1шт.

24

A160867

LEVER

LINK - C, draft control

1шт.

25

A63432

STUD

- link pivot, C (In housing)

1шт.

26

A27804

CIRCLIP,#50, .392" Dia, E-Type

Ring, Retaining, , C link to stud #50, .392" Dia, E-Type

1шт.

27

A160868

SPRING

- control link

1шт.

28

A160869

GUIDE

- spring

1шт.

29

213-12

CLEVIS

YOKE - spring to link (Order A162295)

1шт.

30

141-2

CLEVIS PIN,1/4" x .770"

PIN - yoke

1шт.

31

132-7

COTTER PIN,1/16" x 3/4"

Pin, Split (Cotter), 1/16" x 3/4"

1шт.

32

A27795

RING

- retaining

7шт.

37

A27804

CIRCLIP,#50, .392" Dia, E-Type

Ring, Retaining, , pivot stud #50, .392" Dia, E-Type

1шт.

38

A63436

LINK

- A, draft control

1шт.

39

A63439

STUD

- link pivot A

1шт.

40

A63411

SHAFT

- sensitivity adjustment

1шт.

41

A139420

BLOCK

- sliding pivot

1шт.

42

A161547

COVER

- linkage housing

1шт.

43

13-514

BOLT,Hex, 5/16" - 18 x 7/8", Gr 5

10шт.

44

92-5

LOCK WASHER,5/16"

10шт.

45

A137621

GASKET

-, Serial Range: cover-housing

1шт.

46

13-620

BOLT,Hex, 3/8" - 16 x 1-1/4", Gr 5, Full Thd

Housing to transmission case Hex, 3/8"-16 x 1 1/4", G5, Full Thd

4шт.

47

92-6

LOCK WASHER,3/8"

4шт.

50

A63399

OIL SEAL,15.87mm ID x 28.73mm OD x 6.35mm Thk

- oil, Serial Range: shaft-housing

3шт.

51

A27785

CIRCLIP,#62, .480" Dia, E-Type

Ring, Retaining, #62, .480" Dia, E-Type

1шт.

52

A160493

SHAFT

- signal, draft control

1шт.

53

118-143

PLOW BOLT,3/8"-16 x 1 3/4", G5

BOLT - no. 3 plow head, 3/8 NC x 1-3/4 inch (replaces 19-628)

1шт.

54

25-146

JAM NUT,Jam, 3/8"-16, G5

- hex jam

1шт.

55

A139133

GUIDE

- signal arm

1шт.

56

129-141

JAM NUT,Jam, 1/4"-20, G5

1шт.

60

221-849

PLUG,Hex Soc, 1/8"-27

- square socket, 1/8 inch PT

1шт.

Выбрано товаров: 50