Запчасти Case IH 2290 (9-476) - HITCH SPRINGS AND SHAFT (09) - CHASSIS/ATTACHMENTS

Схема запчастей Case IH 2290 - (9-476) - HITCH SPRINGS AND SHAFT (09) - CHASSIS/ATTACHMENTS
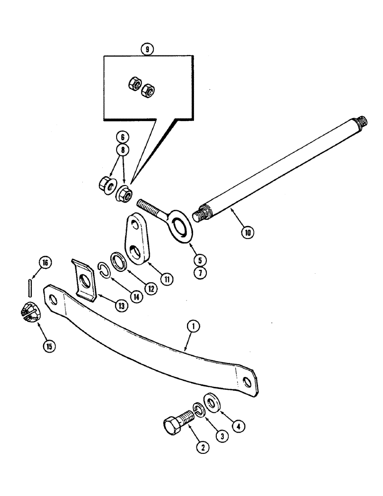
5
1
7
3
16
11
6
14
10
8
2
12
13
15
4
9
FIT
1:1
100%

Артикул

Название

Примечание

Количество

1

A145753

SPRING

- sensing

2шт.

2

113-257

BOLT,Hex, 3/8" - 16 x 2-1/2", Gr 5

- hex, 1 NC x 2-1/2 inch

2шт.

3

192-31

LOCK WASHER,1"

WASHER, LOCK, 1"

2шт.

4

195-2100

WASHER,1 1/32" x 2" x .238"

- 1-1/32 x 2 x 1/4 inch (26 x 51 x 6 MM)

2шт.

5

A160056

BOLT

- eye, 3/4 inch NC thread (Prior to transmission serial no. 10207171) (Order ref 7 and 8)

2шт.

5

A160470

BOLT

- eye 7/8 inch NC thread (Transmission serial no. 10207171 and after) (Order A161356 and 131-925)

2шт.

6

A160520

NUT

- flanged, 3/4 inch (Prior to transmission serial no. 10207171)

2шт.

6

A160483

NUT

- flanged, 7/8 inch (Transmission serial no. 10207171 and after)

2шт.

7

A161356

BOLT

- eye, 7/8 inch NF thread (Replaces A160470)

2шт.

8

131-925

NUT,Flg, USR, 7/8"-14

- hex flange, 7/8 inch NF

2шт.

9

129-129

NUT,7/8"-14, G5

- hex, 7/8 inch NF

2шт.

10

A176635

BRACE

SHAFT - cross, draft arm and sending spring (Replaces A139126)

1шт.

11

A139127

LINK

- shaft support

2шт.

12

A62435

WASHER

- spacer, draft arm

2шт.

13

A139548

BUSHING

SPACER - spring

2шт.

14

A57588

RING

- snap

2шт.

15

A33404

NUT

- cross shaft

2шт.

16

138-2014

PIN,3/16" x 1 7/8", Coiled

2шт.

Выбрано товаров: 18