Запчасти Case IH 2290 (9-592) - CAB, AIR CONDITIONING EVAPORATOR, PRIOR TO CAB SERIAL NUMBER 12023102 (09) - CHASSIS/ATTACHMENTS

Схема запчастей Case IH 2290 - (9-592) - CAB, AIR CONDITIONING EVAPORATOR, PRIOR TO CAB SERIAL NUMBER 12023102 (09) - CHASSIS/ATTACHMENTS
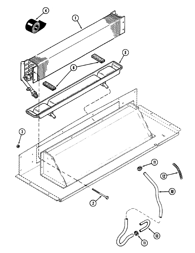
13
10
1
5
3
11
12
11
2
6
4
FIT
1:1
100%

Артикул

Название

Примечание

Количество

1

F63870

EVAPORATOR

- evaporator

1шт.

2

113-49

BOLT,Hex, 1/4" - 20 x 4", Gr 5

- hex, 1/4 NC x 4 inch

4шт.

3

86625061

NUT,1/4"-20, GB

NUT - hex lock, 1/4 inch NC

4шт.

4

345-37

TAPE

- cork insulator, core end, 2-1/2 x 12 x 1/8 inch (62 x 305 x 3 MM)

3шт.

5

F63684

PAN

- condensation (Order F64529)

1шт.

6

F63670

SEAL

- pan to core, 1 x 3-1/2 x 1/4 inch (25 x 89 x 6 MM)

2шт.

10

NSS

NOT SOLD SEPARAT

HOSE - drain, clear plastic 75 inch long (1905 MM) (Order A42698)

2шт.

A42698

HOSE

- 1/2 ID (15 MM) x 50 foot roll (15 M) (Cut to desired length)

1шт.

11

214-253

HOSE CLAMP,#10, 0.56" - 1.06", Type F Worm

CLAMP - hose, 9/16 to 1-1/16 inch (14 to 27 MM)

2шт.

12

F63327

SPRING

- stiffener, drain hose

2шт.

13

F63873

TUBE

- trap, rain hose

2шт.

Выбрано товаров: 11