Запчасти Case IH 2290 (3-058) - FUEL INJECTION SYSTEM, 504BDT DIESEL ENGINE (03) - FUEL SYSTEM

Схема запчастей Case IH 2290 - (3-058) - FUEL INJECTION SYSTEM, 504BDT DIESEL ENGINE (03) - FUEL SYSTEM
24
17
26
5
11
16
17
15
2
17
6
3
10
13
12
8
1
25
23
11
12
27
12
13
7
8
4
17
16
12
8
9
22
8
11
11
FIT
1:1
100%

Артикул

Название

Примечание

Количество

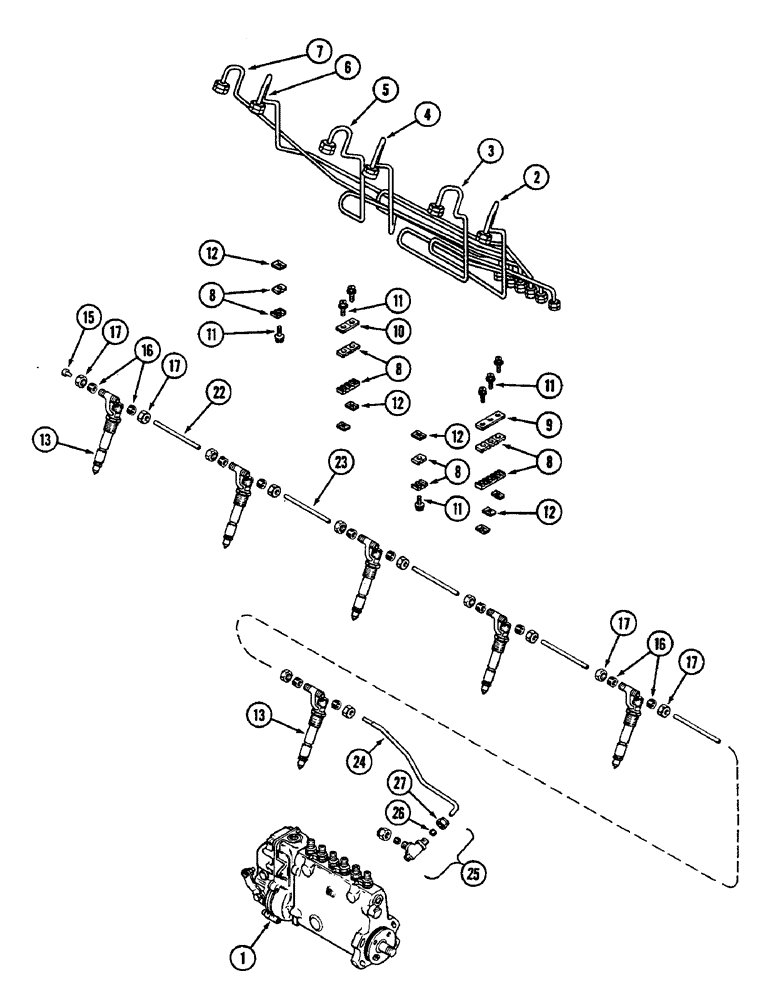
1

REF

INSTRUCTION

PUMP - fuel injection (See Figure 3-54)

1шт.

2

A156885

TUBE

- fuel injection, no. 1 cylinder (Replaces A67353)

1шт.

3

A156886

TUBE

- fuel injection, no. 2 cylinder (Replaces A67354)

1шт.

4

A156887

TUBE

- fuel injection, no. 3 cylinder (Replaces A67355)

1шт.

5

A156888

TUBE

- fuel injection, no. 4 cylinder (Replaces A67356)

1шт.

6

A156889

TUBE

- fuel injection, no. 5 cylinder (Replaces A67357)

1шт.

7

A156890

PIPE

TUBE - fuel injection, no. 6 cylinder (Replaces A67358)

1шт.

8

A58709

BRACKET

- injection tube

14шт.

9

A58708

PLATE

- injection tube bracket (For 6 lines)

1шт.

10

A58710

PLATE

- injection tube bracket (For 4 lines)

1шт.

11

163-19

SCREW,Sl Hex Wshr Hd, #10 - 24 x 1"

- hex slotted, no. 10 NC x 1 inch

7шт.

12

131-612

SPRING NUT,Flat, #10 - 24, 0.022" Thk

NUT - Tinnerman, no. 10 NC

7шт.

13

REF

INSTRUCTION

NOZZLE - fuel injection (See page 3-60)

6шт.

15

47-37

RIVET,FH, 3/16" x 7/16"

- flat head, 3/16 inch tube (5 MM)

1шт.

16

222-101

SLEEVE,3/16" Tube

- for 3/16 inch tube (5 MM)

12шт.

17

222-111

TUBE NUT,7/16" - 24

NUT - for 3/16 inch tube (5 MM)

12шт.

22

A76642

TUBE

- leak off, 4-13/16 inch long (122 MM)

3шт.

23

A76641

TUBE

- leak off, 5-3/4 inch long (146 MM)

2шт.

24

A153816

TUBE

- leak off, no. 1 nozzle to valve (Replaces A151770)

1шт.

25

A59097

VALVE

ASSEMBLY - restrictor, leak off, Includes: Ref. 26, 27

1шт.

26

222-102

SLEEVE,1/4" Tube

(6 mm) 1/4" Tube

2шт.

27

87017024

TUBE NUT,1/2"-24

NUT - for 1/4 inch tube (6 MM)

2шт.

Выбрано товаров: 22