Запчасти Case IH 2294 (6-270) - PTO CONTROL LINKAGE (06) - POWER TRAIN

Схема запчастей Case IH 2294 - (6-270) - PTO CONTROL LINKAGE (06) - POWER TRAIN
12
27
23
29
18
6
15
4
13
22
28
17
2
3
5
14
30
6
19
16
21
9
26
1
13
12
10
24
8
7
FIT
1:1
100%

Артикул

Название

Примечание

Количество

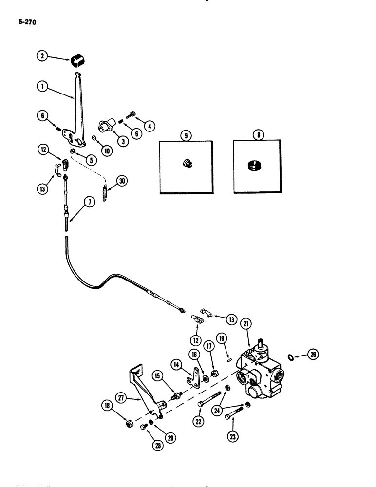
1

A162858

LEVER

- hand PTO

1шт.

2

A177440

KNOB

- lever (Yellow)

1шт.

3

A160500

BUSHING,15.95mm ID x 25.4mm OD x 55.37mm L

BEARING - lever

1шт.

4

113-17

BOLT,Hex, 1/4" - 20 x 1-1/4", Gr 5

2шт.

5

131-1180

LOCK NUT,1/4"-20, GA

NUT, LOCK, 1/4"-20, GA

2шт.

6

B51407

SPRING

- hand lever

2шт.

7

A177635

CABLE

- PTO control (Replaces A141402)

1шт.

8

A141389

GROMMET

- cable (Order A145925)

1шт.

9

A162961

PLUG

- cable

2шт.

10

195-518

WASHER,1/4", SAE

- flat, 9/32 x 5/8 x 1/16 inch (7 x 16 x 2 mm)

4шт.

12

213-1

ADJUSTABLE CLEVIS,#10-32

YOKE - plastic

2шт.

13

A149683

PIN

- clevis, 3/16 inch

2шт.

14

A181455

LEVER

- PTO (Replaces A63048 and A177844)

1шт.

15

A160040

STUD

- PTO lever

1шт.

16

195-103

WASHER,5/16"

- flat, 3/8 x 7/8 x 5/64 inch (10 x 22 x 2 mm)

1шт.

17

131-1306

JAM NUT,Jam, 3/8"-16

NUT - hex jam, 3/8 inch

1шт.

18

129-105

NUT,Hex, 1/2" - 13, Gr 5

1шт.

19

138-71

LOCK PIN,5/32" x 5/8", Slotted

PIN, 5/32" x 5/8", Slotted

1шт.

21

REF

INSTRUCTION

VALVE ASSEMBLY - PTO control (See Figures 6-272 and 274)

1шт.

22

113-252

BOLT,Hex, 3/8" - 16 x 3-3/4", Gr 5

1шт.

23

113-248

BOLT,Hex, 3/8" - 16 x 2-3/4", Gr 5

2шт.

24

192-21

LOCK WASHER,3/8"

WASHER, LOCK, 3/8"

3шт.

26

F62075

O-RING,0.139" Thk x 0.734" ID, -210, Cl 5, 75 Duro

- regulator valve (Order A42597)

1шт.

27

A163044

BRACKET

- PTO cable mounting

1шт.

28

113-2

BOLT,Hex, 1/4" - 20 x 5/8", Gr 5

2шт.

29

192-19

LOCK WASHER,Helical Spring, 0.256" ID, CST, ZND

WASHER, LOCK, 1/4"

2шт.

30

A164415

SPRING

- lever return

1шт.

Выбрано товаров: 27