Запчасти Case IH 2294 (8-380) - REMOTE CONTROL VALVE, ADD ON FOR THIRD CIRCUIT, WITH LOAD CHECK (08) - HYDRAULICS

Схема запчастей Case IH 2294 - (8-380) - REMOTE CONTROL VALVE, ADD ON FOR THIRD CIRCUIT, WITH LOAD CHECK (08) - HYDRAULICS
29
40
26
49
30
39
27
51
34
43
33
46
56
55
21
35
28
45
38
41
44
24
26
57
42
23
50
52
22
32
FIT
1:1
100%

Артикул

Название

Примечание

Количество

A169456

VALVE

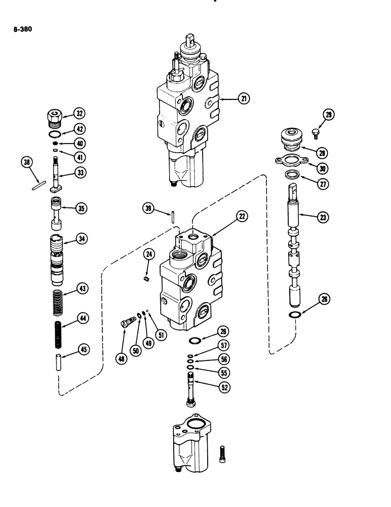
ASSEMBLY - remote control (Continued from Figure 8-378), Includes: Ref. 21 - 57, 2 - 20 on Figure 8-378, and 60 - 96 on Figure 8-382

1шт.

21

A48945

HOUSING

BODY ASSEMBLY - remote valve, Includes: Ref. 22 - 57

1шт.

22

NSS

NOT SOLD SEPARAT

BODY - valve (Order A48945)

1шт.

23

NSS

NOT SOLD SEPARAT

SPOOL - valve (Order A48945)

1шт.

24

A47105

PLUG

- expansion

1шт.

26

A27365

O-RING,0.103" Thk x 0.75" ID, -116, Cl 5, 75 Duro

- body

2шт.

A48938

KIT

FILTER KIT - body and spool (Order components), Includes: Ref. 27 - 30

1шт.

27

A47205

SEAL,22.61mm ID x 32.13mm OD x 2.67mm Thk

FILTER - spool

1шт.

28

A47188

COVER

- dust

1шт.

29

86019274

SCREW,Hex, 1/4"-20 x 1/2", G5

- retainer

2шт.

30

A47196

RETAINER

- filter

1шт.

32

A48925

PLUG

HOUSING - flow control

1шт.

33

A48929

SHAFT

- adjusting

1шт.

34

A48956

TUBE

- flow control

1шт.

35

A48957

SPOOL

- flow control

1шт.

A48941

SEAL

KIT - flow control (Order components), Includes: Ref. 38 - 44

1шт.

38

138-63

LOCK PIN,1/8" x 1 1/4", Slotted

PIN, 1/8" x 1 1/4", Slotted

1шт.

39

138-61

LOCK PIN,1/8" x 1", Slotted

PIN, 1/8" x 1", Slotted

1шт.

40

D71056

RING,Split, 4.47mm ID x 7.21mm OD x 1.32mm Thk

- backup

1шт.

41

A27880

O-RING,0.07" Thk x 0.18" ID, -8, Cl 5, 75 Duro

- shaft

1шт.

42

237-6010

O-RING,0.097" Thk x 0.755" ID, -910, Cl 6, 90 Duro

- 3/4 x 61/64 x 3/32 inch (19 x 24 x 2 mm)

1шт.

43

A48963

SPRING

- outer

1шт.

44

A48964

SPRING

- inner

1шт.

45

A48937

PIN

- guide, spring, Includes: Ref. 48 - 50

1шт.

A47210

PLUG

ASSEMBLY - shuttle, secondary

1шт.

48

A47204

PLUG

- shuttle

1шт.

A48939

KIT

SEAL KIT - shuttle (Order components), Includes: Ref. 49 and 50

1шт.

49

A47101

O-RING,0.07" Thk x 0.176" ID, -8, Cl 6, 90 Duro

-008, 90 Duro, .176" ID x .070" Thk, shuttle

1шт.

50

218-5002

O-RING,0.064" Thk x 0.301" ID, -903, Cl 6, 90 Duro

3-1, .301" ID x .064" Thk

1шт.

51

211-255

BALL,3/16 Dia

(5 mm), chrome steel 3/16 Dia

1шт.

52

A47209

SPOOL

SHUTTLE ASSEMBLY - primary, Includes: Ref. 55 - 57

1шт.

N6632

SEAL KIT

SEAL KIT - shuttle (Order components), Includes: Ref. 55 - 57

1шт.

55

218-5003

O-RING,0.072" Thk x 0.351" ID, -904, Cl 6, 90 Duro

- 11/32 x 1/2 x 5/64 inch (9 x 13 x 2 mm)

1шт.

56

D31411

O-RING,0.07" Thk x 0.239" ID, -10, Cl 6, 90 Duro

-010, 90 Duro, .239" ID x .070" Thk (6 mm ID), shuttle

1шт.

57

A47223

O-RING,0.07" Thk x 0.208" ID, -9, Cl 6, 90 Duro

- shuttle, 7/32 inch (6 mm) ID

1шт.

Выбрано товаров: 35