Запчасти Case IH 2294 (8-396) - DRAFT CONTROL SENSING LINKAGE (08) - HYDRAULICS

Схема запчастей Case IH 2294 - (8-396) - DRAFT CONTROL SENSING LINKAGE (08) - HYDRAULICS
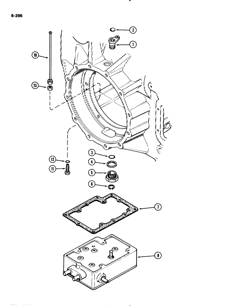
5
11
6
8
1
3
13
12
4
10
2
7
FIT
1:1
100%

Артикул

Название

Примечание

Количество

1

A162080

LEVER

- follow-up, draft sensing

1шт.

2

41-12

PLUG,Exp, 3/4"

- 3/4 inch expansion type

1шт.

3

A30843

O-RING,0.103" Thk x 0.799" ID, -117, Cl 5, 75 Duro

- plug

1шт.

4

A63447

GASKET

- bushing

1шт.

5

A64429

BUSHING

- follow-up lever (in transmission case)

1шт.

6

B18208

SNAP RING,#100, Ext

lever #100, Ext

1шт.

7

A137621

GASKET

- linkage housing

1шт.

8

REF

INSTRUCTION

HOUSING ASSEMBLY - draft control linkage (See Figure 8-399)

1шт.

10

A141014

TUBE

- breather

1шт.

11

A141002

FITTING

- tube to transmission case

1шт.

13

218-1276

LOCK NUT,Blkhd, 1/2"-20

NUT - fitting, hex, 1/2 inch NF

1шт.

12

218-5004

O-RING,0.072" Thk x 0.414" ID, -905, Cl 6, 90 Duro

5-1, 90 Duro, .414" ID x .072" Thk (10 x14 x 2 mm)

1шт.

Выбрано товаров: 0