Качественные детали и логистика
Оригинальные и аналоговые запчасти с доставкой по России, Казахстану и Беларуси
©2022 PartSell ООО "Система" ИНН 2463123282 ОГРН 1212400004838
Центральный офис: г. Красноярск, Академика Киренского, д.87, пом.4
Телефон: 8 (800) 777-65-74 Email: zakaz@partsell.ru
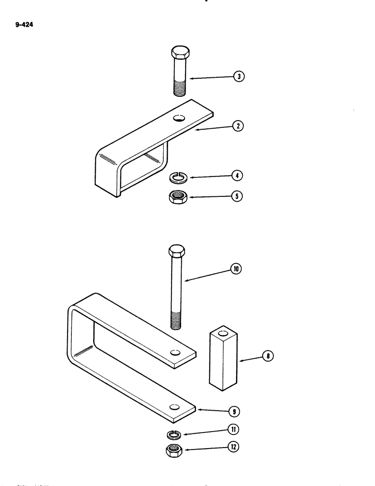
(9-424) - IMPLEMENT SAFETY CHAIN SUPPORT
№
Артикул
Название
Примечание
Количество
A169123
SUPPORT KIT - safety chain (Order Components), Includes: Ref. 2 - 12
1шт.
2
A166390
RETAINER
- support spring
3
113-716
BOLT,Hex, 3/4" - 10 x 3", Gr 5
4
192-167
LOCK WASHER,3/4"
WASHER, LOCK, 3/4"
5
25-1612
NUT,3/4"-10, G5, Hvy
- heavy hex, 3/4 inch NC
8
A166965
BLOCK
- clevis
9
A165682
CLEVIS
- safety chain
10
113-630
BOLT,Hex, 5/8" - 11 x 6", Gr 5
- hex, 5/8 NC x 6 inch
11
192-165
LOCK WASHER,5/8"
WASHER, LOCK, 5/8"
12
25-1610
NUT,5/8"-11, G5, Hvy
- heavy hex, 5/8 inch NC
Выбрано товаров: 0