Запчасти Case IH 2294 (4-072) - FORWARD COMPONENT HARNESS (04) - ELECTRICAL SYSTEMS

Схема запчастей Case IH 2294 - (4-072) - FORWARD COMPONENT HARNESS (04) - ELECTRICAL SYSTEMS
6
1
3
10
2
6
5
4
8
7
FIT
1:1
100%

Артикул

Название

Примечание

Количество

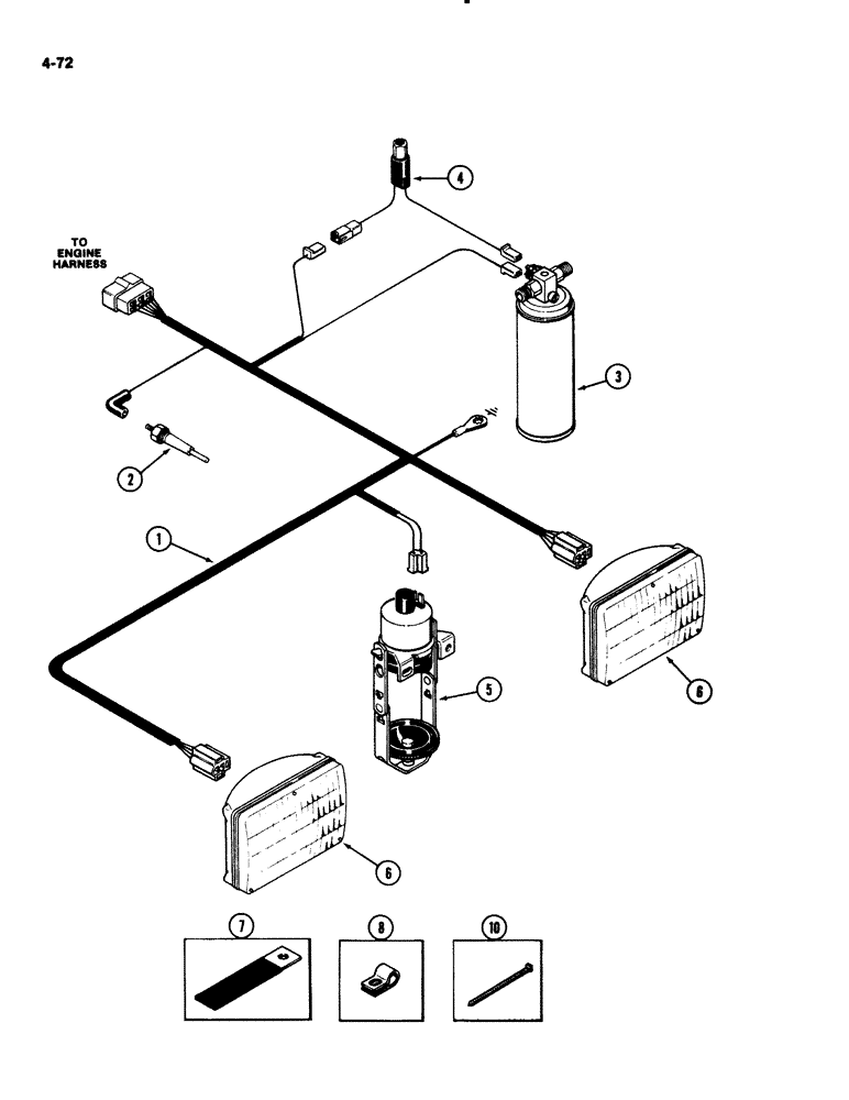
1

A163110

HARNESS

- forward

1шт.

2

A145513

SENSOR

PROBE - sensing, coolant level

1шт.

3

REF

INSTRUCTION

RECEIVER-DRIER - air conditioning (See Figure 9-544)

1шт.

4

REF

INSTRUCTION

SWITCH - air conditioning cutout (See Figure 9-516)

1шт.

5

A143381

SOLENOID

- ether start (See Figure 2-012)

1шт.

6

A139458

LAMP

LIGHT - head (See Figure 4-100)

2шт.

7

A149624

CLIP

- wire

3шт.

8

A7922

CLIP

- wire

1шт.

10

R38237

STRAP

- nylon, harness (Order L18337)

5шт.

Выбрано товаров: 9