Запчасти Case IH 2294 (4-108) - FLASHER AND FLOOD LAMP KIT, TRACTOR WITHOUT CAB (04) - ELECTRICAL SYSTEMS

Схема запчастей Case IH 2294 - (4-108) - FLASHER AND FLOOD LAMP KIT, TRACTOR WITHOUT CAB (04) - ELECTRICAL SYSTEMS
7
3
8
12
5
2
11
10
6
4
9
5
13
4
FIT
1:1
100%

Артикул

Название

Примечание

Количество

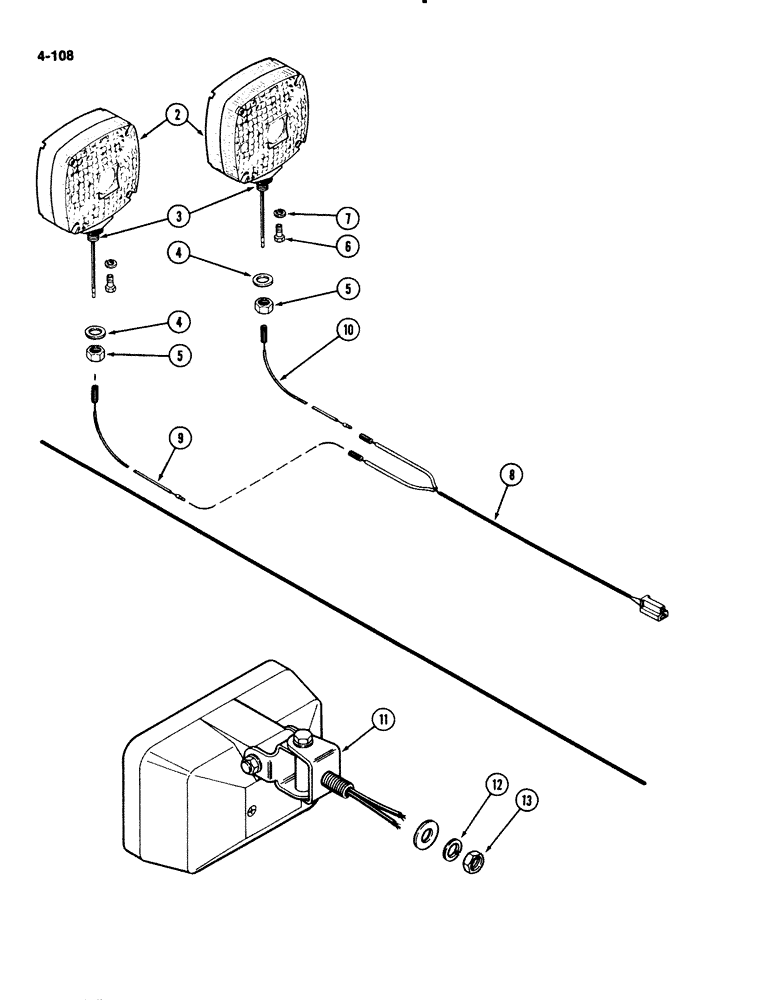
A176163

KIT - light (Export only) (Machinery Item), Includes: Ref. 2 - 13

1шт.

2

REF

INSTRUCTION

LIGHT - flasher warning (See Figure 4-100)

2шт.

3

A45118

STUD

- light mounting

2шт.

4

195-106

WASHER,1/2"

- flat, 9/16 x 1-3/8 x 7/64 inch (14 x 35 x 3 mm)

2шт.

5

129-125

NUT,1/2"-20, G5

2шт.

6

113-1

BOLT,Hex, 1/4" - 20 x 1/2", Gr 5

4шт.

7

192-19

LOCK WASHER,Helical Spring, 0.256" ID, CST, ZND

WASHER, LOCK, 1/4"

4шт.

8

A169888

HARNESS

- flasher

1шт.

9

A160292

ELECTRICAL WIRE

WIRE - flasher, right

1шт.

10

A160293

ELECTRICAL WIRE

WIRE - flasher, left

1шт.

11

A165347

LAMP

- flood (Order A177347 kit, See Figure 4-110)

2шт.

12

192-23

LOCK WASHER,1/2"

WASHER, LOCK, 1/2"

2шт.

13

129-105

NUT,Hex, 1/2" - 13, Gr 5

2шт.

Выбрано товаров: 13