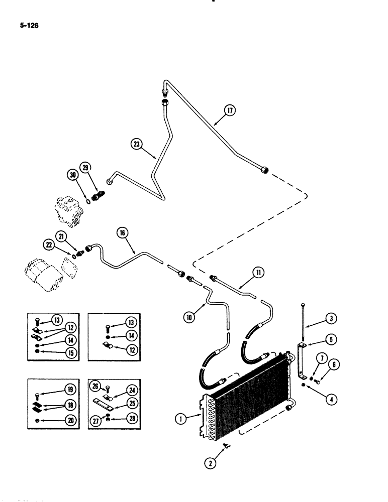
Запчасти Case IH 2294 (5-126) - OIL COOLER (05) - STEERING

Схема запчастей Case IH 2294 - (5-126) - OIL COOLER (05) - STEERING
6
13
5
13
16
7
17
21
15
19
10
1
26
3
11
14
12
18
4
22
2
25
24
20
27
12
23
29
28
14
30
FIT
1:1
100%

Артикул

Название

Примечание

Количество

1

A160399

COOLER

- hydraulic oil

1шт.

2

A141485

THUMB SCREW,5/16" - 18 x 5/8"

- wing head, 5/16 NC x 5/8 inch

2шт.

3

17-4136

BOLT,Sq Hd, 1/4" - 20 x 8 1/2", Gr 2

- pivot, hex, 1/4 NC x 8-1/2 inch (Grade 2)

1шт.

4

131-204

NUT,1/4"-20

NUT - hex lock, 1/4 inch NC (Order 131-204)

1шт.

5

A141489

SUPPORT

BRACKET - pivot, oil cooler

1шт.

6

113-118

BOLT,Hex, 5/16" - 18 x 5/8", Gr 5

2шт.

7

192-20

LOCK WASHER,Helical Spring, 0.318" ID, CST, ZND

WASHER, LOCK, 5/16"

2шт.

10

A147957

HOSE

- inlet

1шт.

11

A147958

TUBE

HOSE - outlet

1шт.

12

A169743

CLAMP

- hose (Replaces A63323) (Order 49885)

4шт.

13

113-103

BOLT,Hex, 5/16" - 18 x 1", Gr 5

2шт.

14

192-20

LOCK WASHER,Helical Spring, 0.318" ID, CST, ZND

WASHER, LOCK, 5/16"

2шт.

15

9635082

NUT,5/16" - 18, Gr 5

2шт.

16

A147956

TUBE

- inlet

1шт.

17

A164407

TUBE

- outlet

1шт.

18

A60224

CLAMP

- tube

4шт.

19

113-17

BOLT,Hex, 1/4" - 20 x 1-1/4", Gr 5

2шт.

20

7770

NUT,Hex, 1/4 - 20, Cl 5

1/4"-20, G5

2шт.

21

218-5059

HYD CONNECTOR,3/4"-16, 37 Degree x 3/4"-16, O-Ring

CONNECTOR ASSEMBLY - straight, 1/2 tube 3/4-16 inch thread, Incl. Ref 22

1шт.

23

A167221

TUBE

- rear

1шт.

24

A169743

CLAMP

- tube (Replaces A63323) (Order 49885)

1шт.

25

A141174

SUPPORT

PLATE - clamp

1шт.

26

113-103

BOLT,Hex, 5/16" - 18 x 1", Gr 5

1шт.

27

192-20

LOCK WASHER,Helical Spring, 0.318" ID, CST, ZND

WASHER, LOCK, 5/16"

1шт.

28

9635082

NUT,5/16" - 18, Gr 5

1шт.

29

218-5242

TEE,3/4" - 16 Male JIC x 3/4" - 16 Male JIC x 3/4" - 16 Male ORB

ASSEMBLY - swivel, 1/2 inch tube 3/4-16 inch thread, Includes: Ref. 30

1шт.

22

218-5006

O-RING,0.087" Thk x 0.644" ID, -908, Cl 6, 90 Duro

- 1/2 x 21/32 x 3/32 inch (13 x 17 x 2 mm)

1шт.

30

218-5006

O-RING,0.087" Thk x 0.644" ID, -908, Cl 6, 90 Duro

- 1/2 x 21/32 x 3/32 inch (13 x 17 x mm)

1шт.

Выбрано товаров: 28