Запчасти Case IH 2390 (8-250) - A148160 TRANSMISSION CONTROL VALVE (08) - HYDRAULICS

Схема запчастей Case IH 2390 - (8-250) - A148160 TRANSMISSION CONTROL VALVE (08) - HYDRAULICS
3
2
19
29
28
46
52
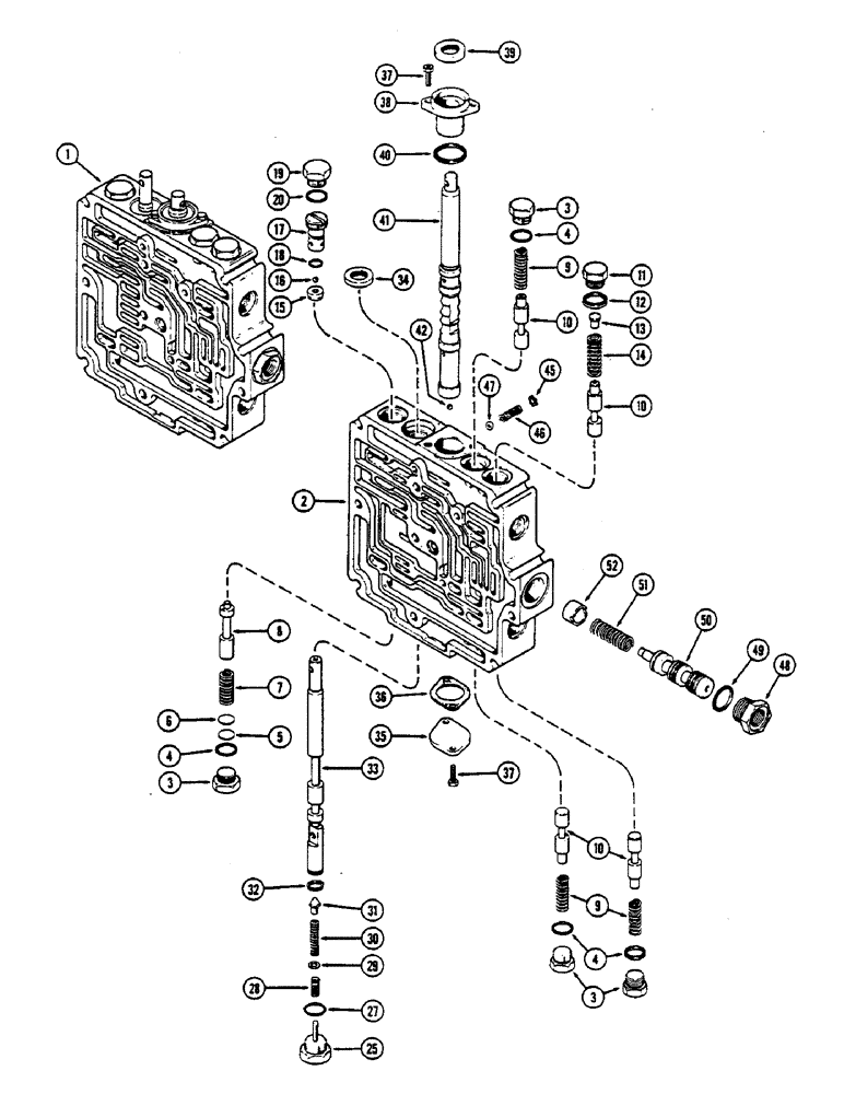
1
37
20
32
45
15
7
33
38
4
37
51
14
40
17
47
10
25
16
49
10
10
9
4
9
6
11
18
30
13
8
3
31
39
3
35
4
42
34
41
12
5
36
27
50
48
FIT
1:1
100%

Артикул

Название

Примечание

Количество

1

A148160

VALVE

ASSEMBLY - transmission control

1шт.

2

NSS

NOT SOLD SEPARAT

BODY - valve (Order A148160)

1шт.

3

A62564

PLUG

ASSEMBLY - pilot spool and pressure regulator, Includes: Ref. 4

4шт.

5

A37554

SHIM,.0269" Thk

Pressure regulator (0.683 mm) .0269" Thk

1шт.

6

A37555

SHIM,.0120" Thk

Pressure regulator (0.30 mm) .0120" Thk

1шт.

7

A58436

SPRING

- regulator, 1-3/8" (35.05 MM) free length

1шт.

8

A146644

SPOOL

PLUNGER - pressure regulator

1шт.

9

A58271

SPRING

- return, pilot spool 1-49/64" (44.96 MM) free length

3шт.

10

A146590

SPOOL

- pilot

4шт.

11

A62641

PLUG

ASSEMBLY - pilot spool bore, Includes: Ref. 12

1шт.

13

A62640

STOP

- pilot spool

1шт.

14

A66692

SPRING

- return, spool 1-23/32" (43.69 MM) free length

1шт.

15

A58441

SEAT

- shuttle valve ball

1шт.

16

211-7

BALL,1/4" Dia

(6.35 mm) chrome steel, shuttle valve 1/4" Dia

1шт.

17

A154804

SLEEVE

- shuttle valve (Replaces A58440)

1шт.

18

A27410

O-RING,0.487" ID x 0.693" OD x 0.103"

- 1/2 x 11/16 x 3/32" (12.7 x 17.53 x 2.29 MM)

1шт.

Part of Seal Kit, P/N A42885

1шт.

19

86512512

PLUG,7/8" - 14 ORB

Assy, Shuttle valve bore, Incl. Ref. 20 Hex Hd, 7/8"-14 ORB

1шт.

20

237-6010

O-RING,0.097" Thk x 0.755" ID, -910, Cl 6, 90 Duro

- 5/8 x 3/4 x 3/32" (15.75 x 19.05 x 2.29 MM)

1шт.

Part of Seal Kit, P/N A42885

1шт.

A42887

KIT

- clutch modulator, Includes: Ref. 25 - 31

1шт.

25

A61985

PLUG

ASSEMBLY - modulator, Includes: Ref. 27

1шт.

27

237-6010

O-RING,0.097" Thk x 0.755" ID, -910, Cl 6, 90 Duro

- 5/8 x 3/4 x 3/32" (15.75 x 19.05 x 2.29 MM)

1шт.

28

A61988

SPRING

- clutch modulator, secondary 1-43/64" (42.42 MM) free length

1шт.

29

A61989

WASHER,4.95mm ID x 9.27mm OD x 1.02mm Thk

- spring guide

1шт.

A60155

SPRING

POINT AND SPRING ASSEMBLY - clutch modulator, Includes: Ref. 30 and 31

1шт.

30

NSS

NOT SOLD SEPARAT

SPRING - modulator, primary 1-39/64" (40.89 MM) free length

1шт.

31

NSS

NOT SOLD SEPARAT

POINT - modulator

1шт.

32

G46176

SNAP RING,#56, Ext

Ring, Snap, , clutch control spool #56, Ext

1шт.

33

A62636

SPOOL

- clutch control

1шт.

34

A37558

SEAL,14.27mm ID x 28.7mm OD x 6.73mm Thk

- clutch control spool

1шт.

35

A58429

COVER

- selector, spool bore

1шт.

36

A66110

GASKET

- selector, bore cover

1шт.

Part of Seal Kit, P/N A42885

1шт.

37

61-412

HEX SOC SCREW,1/4"-20 x 3/4"

- 1/4 x 3/4" NC hex socket head

4шт.

38

A62839

SLEEVE

- selector spool

1шт.

39

A50421

OIL SEAL,19.05mm ID x 31.95mm OD x 6.73mm Thk

- oil, selector spool

1шт.

Part of Seal Kit, P/N A42885

1шт.

40

A59066

O-RING,1.239" ID x 1.379" OD

- 1-3/16 x 1-1/4 x 1/16" (30.23 x 31.75 x 1.52 MM)

1шт.

41

A60550

SPOOL

ASSEMBLY - selector, Includes: Ref. 42

1шт.

42

211-8

BALL,9/32" Dia

(7.11 mm), chrome steel (Order A60550) 9/32" Dia

1шт.

45

A58439

RETAINER

- retard check spring

2шт.

46

A58438

SPRING

- retard check, 15/16" (23.88 MM) free length

2шт.

47

211-8

BALL,9/32" Dia

(7.11 mm), chrome steel 9/32" Dia

2шт.

48

A63293

BUSHING

- reducer, reverse lockout

1шт.

49

218-5008

O-RING,0.116" Thk x 0.924" ID, -912, Cl 6, 90 Duro

- 3/4 x 59/64 x 7/64" (19.05 x 23.37 x 2.79 MM)

1шт.

50

A146637

SPOOL

- reverse lockout

1шт.

51

A58432

SPRING

- reverse lockout

1шт.

52

A153140

SLEEVE

- stop, reverse lockout spool (Replaces A61033)

1шт.

A42885

SEAL KIT

- seal, Includes: ref. nos. 4, 12, 18, 20, 27, 34, 36, 39, 40, 49

1шт.

4

218-5006

O-RING,0.087" Thk x 0.644" ID, -908, Cl 6, 90 Duro

- 1/2 x 41/64 x 5/64" (12.7 x 16.26 x 2.03 MM)

1шт.

Part of Seal Kit, P/N A42885

1шт.

12

218-5006

O-RING,0.087" Thk x 0.644" ID, -908, Cl 6, 90 Duro

- 1/2 x 41/64 x 5/64" (12.7 x 16.26 x 2.03 MM)

1шт.

Part of Seal Kit, P/N A42885

1шт.

Выбрано товаров: 54