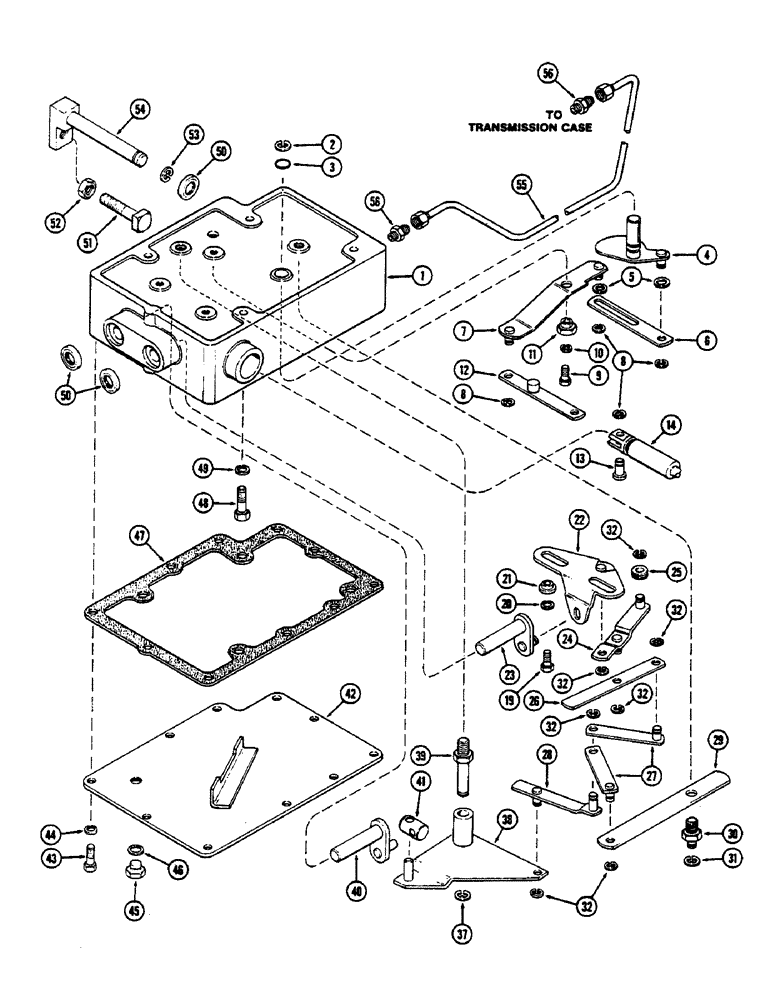
Запчасти Case IH 2390 (8-304) - HITCH SYSTEM, DRAFT CONTROL SENSING LINKAGE, PRIOR TO TRANSMISSION SERIAL NO. 10203915 (08) - HYDRAULICS

Схема запчастей Case IH 2390 - (8-304) - HITCH SYSTEM, DRAFT CONTROL SENSING LINKAGE, PRIOR TO TRANSMISSION SERIAL NO. 10203915 (08) - HYDRAULICS
14
32
27
44
6
29
32
39
56
32
38
31
25
3
47
51
50
53
26
32
8
32
10
41
20
12
22
21
54
24
48
7
43
42
8
45
32
23
37
11
52
50
49
13
40
46
30
28
2
5
19
4
55
9
1
56
FIT
1:1
100%

Артикул

Название

Примечание

Количество

1

A147792

HOUSING

- draft control linkage

1шт.

2

A27785

CIRCLIP,#62, .480" Dia, E-Type

Ring, Retaining, , follow up camshaft #62, .480" Dia, E-Type

1шт.

3

A18414

O-RING,0.07" Thk x 0.489" ID, -14, Cl 5, 75 Duro

- 1/2 x 5/8 x 1/16" (12.7 x 15.75 x 1.52 MM) (Order D26872)

1шт.

4

A63403

CAM

- follow up

1шт.

5

122-19

GROMMET

- steel, 3/8"

2шт.

6

A63424

LINK

- J, valve lockout

1шт.

7

A65087

ARM

- H, valve lockout

1шт.

8

A27795

RING

- retaining

4шт.

9

113-102

BOLT,Hex, 5/16" - 18 x 3/4", Gr 5

Hex, 5/16"-18 x 3/4", G5, Full Thd

1шт.

10

92-5

LOCK WASHER,5/16"

1шт.

11

A63423

TRUNNION

- eccentric

1шт.

12

A137498

LINK

- G, valve spool

1шт.

13

A63428

PIN

- valve spool

1шт.

14

REF

INSTRUCTION

SPOOL - valve (See Figure 8-310)

1шт.

19

113-102

BOLT,Hex, 5/16" - 18 x 3/4", Gr 5

Hex, 5/16"-18 x 3/4", G5, Full Thd

2шт.

20

92-5

LOCK WASHER,5/16"

2шт.

21

A63415

SLIDE

- trunnion

2шт.

22

A63413

SLIDE

- manual signal

1шт.

23

A63407

SHAFT

- manual signal

1шт.

24

A63416

LINK

- F, draft control

1шт.

25

A63418

ROLLER

- cam follower

1шт.

26

A63419

LINK

- E, draft control

1шт.

27

A63429

LINK

- D, draft control

2шт.

28

A63433

LINK

- B, draft control

1шт.

29

A63431

LINK

- C, draft control (Order A160867)

1шт.

30

A63432

STUD

- link pivot, C (In housing)

1шт.

31

A27804

CIRCLIP,#50, .392" Dia, E-Type

Ring, Retaining, , C link to stud #50, .392" Dia, E-Type

1шт.

32

A27795

RING

- retaining

7шт.

37

A27804

CIRCLIP,#50, .392" Dia, E-Type

Ring, Retaining, , pivot stud #50, .392" Dia, E-Type

1шт.

38

A63436

LINK

- A, draft control

1шт.

39

A63439

STUD

- link pivot A

1шт.

40

A63411

SHAFT

- sensitivity adjustment (Order A161547)

1шт.

41

A139420

BLOCK

- sliding pivot

1шт.

42

A160916

COVER

- control linkage

1шт.

43

113-113

BOLT,Hex, 5/16" - 18 x 7/8", Gr 5

10шт.

44

92-5

LOCK WASHER,5/16"

10шт.

45

A20826

PLUG

- draft control housing cover

1шт.

46

A11530

GASKET

- draft control housing cover plug

1шт.

47

A137621

GASKET

- draft control linkage cover

1шт.

48

113-208

BOLT,Hex, 3/8" - 16 x 1-1/4", Gr 5

4шт.

49

92-6

LOCK WASHER,3/8"

4шт.

50

A63399

OIL SEAL,15.87mm ID x 28.73mm OD x 6.35mm Thk

- draft control linkage housing

3шт.

51

181-480

SET SCREW,Sq Hd, 1/2"-13 x 2 1/4"

SCREW - 1/2 x 2-1/2" oval point

1шт.

52

129-145

JAM NUT,Jam, 1/2"-13, G5

1шт.

53

A27785

CIRCLIP,#62, .480" Dia, E-Type

Ring, Retaining, , draft control signal shaft #62, .480" Dia, E-Type

1шт.

54

A63400

SHAFT

- signal, draft control

1шт.

55

A141805

TUBE

- hitch breather

1шт.

56

218-453

HYD CONNECTOR,9/16" - 18 Male JIC x 1/8" - 27 Male NPTF

CONNECTOR, HYD., , Tube 9/16"-18, 37º x 1/8"-27, NPTF

2шт.

Выбрано товаров: 48