Запчасти Case IH 2390 (9-316) - THREE POINT HITCH, UPPER LIFT LINK (09) - CHASSIS/ATTACHMENTS

Схема запчастей Case IH 2390 - (9-316) - THREE POINT HITCH, UPPER LIFT LINK (09) - CHASSIS/ATTACHMENTS
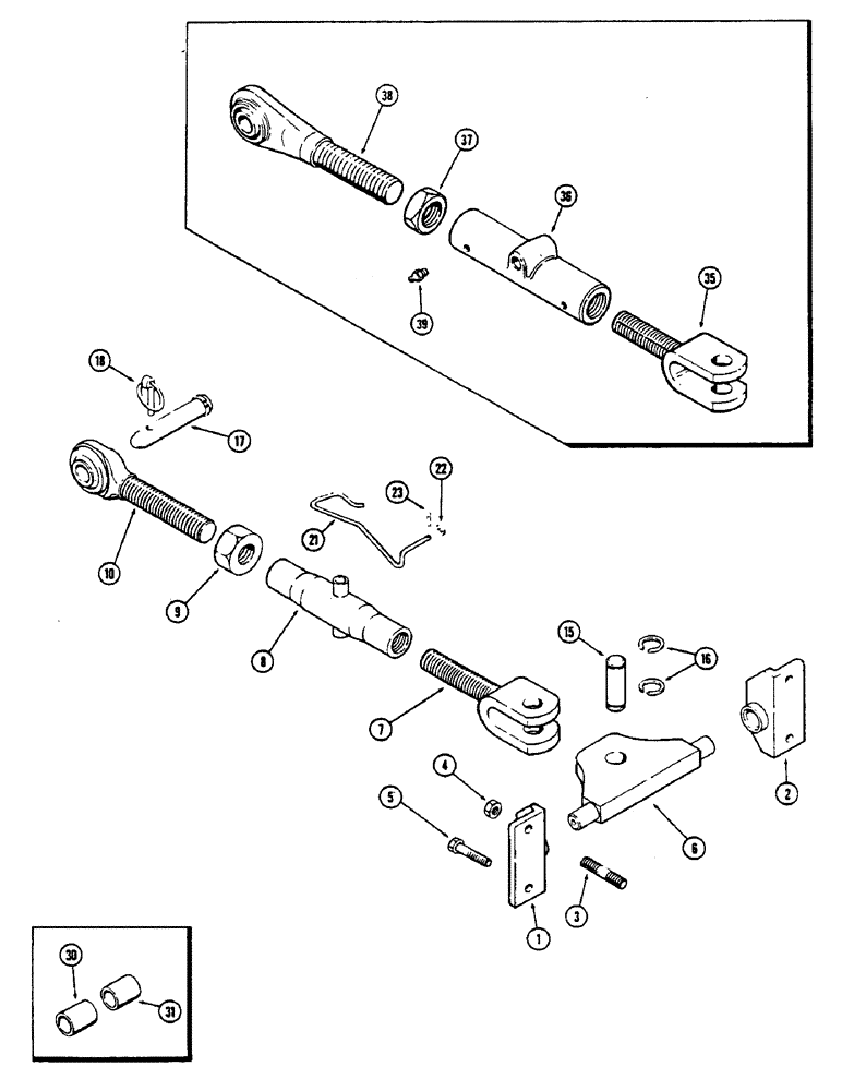
31
10
17
23
3
15
7
35
18
2
39
9
22
36
4
21
5
16
30
1
37
8
38
6
FIT
1:1
100%

Артикул

Название

Примечание

Количество

1

A160141

BRACKET

ANGLE - upper link bracket, RH (Replaces A66218)

1шт.

2

A160140

BRACKET

ANGLE - upper link bracket, LH (Replaces A66219)

1шт.

3

A63254

STUD

- 5/8" NC x 3-1/4"

2шт.

4

129-563

NUT,5/8"-11, G8

- 5/8" NC hex

2шт.

5

26-1040

BOLT,Hex, 5/8" - 11 x 2-1/2", Gr 8

- 5/8 x 2-1/2" NC hex (Grade 8)

2шт.

6

A66217

PLATE

- upper lift bracket

1шт.

7

A63523

CLEVIS

- upper link (See Ref 35)

1шт.

8

A63527

TURNBUCKLE

- upper link (See Ref 36)

1шт.

9

25-1124

NUT,1 1/2"-12, G5

- 1-1/2" NF hex (See Ref 36)

1шт.

10

A137557

BALL

ROD - upper link end (See Ref 38)

1шт.

15

A63529

PIN

-, Serial Range: link-plate

1шт.

16

A28253

RING

- snap, link to plate pin

1шт.

17

A143993

PIN,31.6mm OD x 161.54mm L

- upper, Serial Range: link-implement

1шт.

18

A64204

PIN

- klik, upper link pin and lower, Serial Range: point-implement

1шт.

21

A141059

HOOK

- upper link storage

1шт.

22

195-515

WASHER,#12

- 1/4 x 1/2 x 1/16"

1шт.

23

132-7

COTTER PIN,1/16" x 3/4"

Pin, Split (Cotter), 1/16" x 3/4"

1шт.

30

L10462

BUSHING

ADAPTER - upper hitch pin (Cagetory II) 1 x 1-1/4 x 2" (25.4 x 31.75 x 50.8 MM)

1шт.

31

L10463

BUSHING

ADAPTER - lower hitch pin (Category II) 1-1/8 x 1-7/16 x 1-25/32" (28.45 x 36.58 x 45.21 MM)

2шт.

A161479

LINK

ASSEMBLY - upper (Heavy duty) (Order components), Includes: Ref. 35 - 39

1шт.

35

A161204

CLEVIS

- upper link

1шт.

36

A160905

TURNBUCKLE

- upper link

1шт.

37

129-174

JAM NUT,Hex, 1 1/2" - 12, Gr 5

NUT - 1-1/2" NF hex jam

1шт.

38

A160907

TURNBUCKLE

ROD - upper link end

1шт.

39

219-1

LUBE NIPPLE,1/8" - 27 NPTF

FITTING - grease, 1/8" PT straight

2шт.

Выбрано товаров: 25