Запчасти Case IH 2390 (9-324) - QUICK HITCH COUPLER, CATEGORY II AND III (09) - CHASSIS/ATTACHMENTS

Схема запчастей Case IH 2390 - (9-324) - QUICK HITCH COUPLER, CATEGORY II AND III (09) - CHASSIS/ATTACHMENTS
35
1
28
3
2
27
21
30
7
9
7
31
19
16
29
11
17
36
25
5
24
8
26
12
6
7
22
23
4
20
10
33
32
37
18
32
9
FIT
1:1
100%

Артикул

Название

Примечание

Количество

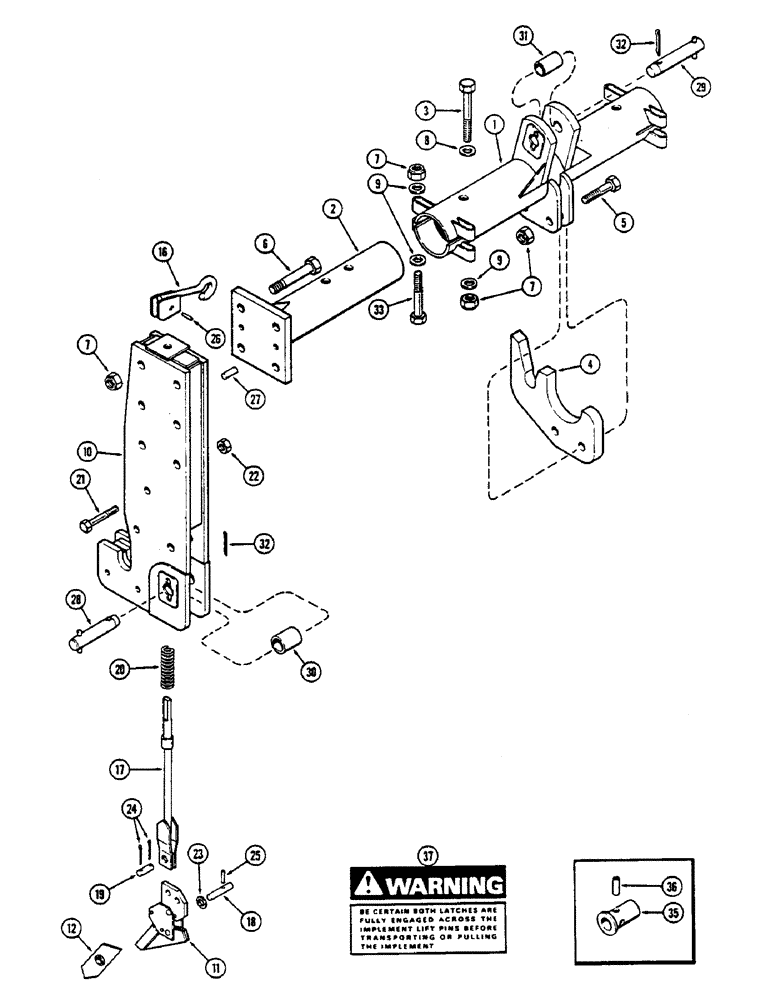
A137262

COUPLER ASSEMBLY - hitch (Machine item), Includes: Ref. 1 - 33

1шт.

1

A45449

CROSS

PIPE - cross, outer

1шт.

2

A45450

CROSS

PIPE - cross, inner

2шт.

3

A45451

BOLT,Hex, 3/4" - 10 x 5 5/8"

BOLT - 3/4 x 5-1/4" NC hex

2шт.

4

A45452

LUG

- upper arm hitch

1шт.

5

113-716

BOLT,Hex, 3/4" - 10 x 3", Gr 5

2шт.

6

A45464

SCREW

BOLT - 3/4 x 4-1/4" NC hex

12шт.

7

129-108

NUT,3/4"-10, G5

16шт.

8

195-45

WASHER,3/4"

4шт.

9

A45468

WASHER

- 3/4" (19.05 MM) flat, special

8шт.

10

A45453

BRACKET

HITCH - lower arm bracket, RH

1шт.

10

A45455

BRACKET

HITCH - lower arm bracket, LH

1шт.

11

A45454

LEVER

- lock, RH

1шт.

11

A45457

LEVER

- lock, LH

1шт.

12

A44470

LEVER

- lower trip ratchet, RH

1шт.

12

A44471

LEVER

- lower trip ratchet, LH

1шт.

16

A45456

HANDLE

- hitch release

2шт.

17

A45458

ROD

- handle to tripping device

2шт.

18

A45459

PIN

- 2-1/2" long (63.5 MM)

2шт.

19

A45460

PIN

- 1-3/8" long (35.05 MM)

2шт.

20

A45461

SPRING

- release rod

2шт.

21

113-447

BOLT,Hex, 1/2" - 13 x 3-1/2", Gr 5

2шт.

22

131-165

NUT,1/2"-13, GA

NUT - 1/2" NC hex top lock

2шт.

23

195-41

WASHER,5/8"

- 21/32 x 1-5/16 x 1/8" (16.67 x 33.14 x 3.17 mm)

2шт.

24

132-48

COTTER PIN,1/8" x 1"

Pin, Split (Cotter), 1/8" x 1"

4шт.

25

135-54

ROLL PIN

PIN - roll, 3/16 x 1"

2шт.

26

135-75

GROOVED PIN,1/4" x 1", Type A

PIN - roll, 1/4 x 1"

2шт.

27

135-293

PIN

- dowel, 1/2 x 1-1/4"

4шт.

28

A45462

PIN

- 4-3/4" long (120.65 MM)

2шт.

29

A45463

PIN

- 5-1/2" long (139.7 MM)

1шт.

30

A43542

SLEEVE

- coupler arm (Category III)

1шт.

31

A44474

SLEEVE

- upper draft arm pin

1шт.

32

T50113

PIN

- clinch, 3/8 x 1-1/2" (9.65 x 38.1)

3шт.

33

A45469

STUD

BOLT - stud, 3/4 x 4-3/4" NC hex

4шт.

35

T32995

ADAPTER

- hitch coupler (Category II)

2шт.

36

138-188

LOCK PIN,7/16" x 1 1/2", Slotted

Pin, 7/16" x 1 1/2", Slotted

2шт.

37

321-3339

DECAL

- warning, implement lift pins

1шт.

Выбрано товаров: 37