Запчасти Case IH 2390 (9-344) - SWIVEL SEAT ASSEMBLY, SWIVEL BASE AND MOUNTING (09) - CHASSIS/ATTACHMENTS

Схема запчастей Case IH 2390 - (9-344) - SWIVEL SEAT ASSEMBLY, SWIVEL BASE AND MOUNTING (09) - CHASSIS/ATTACHMENTS
19
28
35
16
27
4
11
32
1
2
10
25
8
9
17
5
18
6
7
33
12
26
34
15
20
3
31
30
FIT
1:1
100%

Артикул

Название

Примечание

Количество

A161408

SEAT

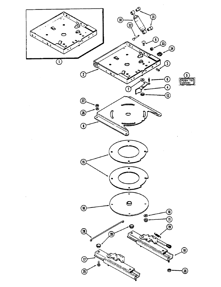
AND SUSPENSION ASSEMBLY (Continued from Figure 9-342), Includes: Ref. 1 - 35

1шт.

1

A45525

BASE

- swivel (Order A47758, A47762 and 131-407)

1шт.

2

A47758

BASE

- swivel (Replaces A45525)

1шт.

3

138-134

LOCK PIN,1/4" x 1", Slotted

PIN, , Ride adjustment pointer 1/4" x 1", Slotted

1шт.

4

A45520

LATCH

- swivel

1шт.

5

A47779

DECAL

- push to swivel (Replaces 321-3791)

1шт.

6

A45521

SPRING

- swivel latch

1шт.

7

A45519

WASHER

- spacer, swivel plate (Order 1-A45110 and 1-A45116)

1шт.

8

A47378

PLATE

- swivel latch

1шт.

9

111-319

CARRIAGE BOLT,Short NK, 3/8"-16 x 1 1/4", G2

BOLT, CARRIAGE, Short NK, 3/8"-16 x 1 1/4", G2

4шт.

10

195-25

WASHER,3/8"

- 13/32 x 13/16 x 1/16" (10.32 x 20.64 x 1.59 MM)

4шт.

11

131-6

LOCK NUT,3/8"-16, GC

NUT - 3/8" NC hex lock

4шт.

12

131-425

PUSH-ON NUT,Push, 1/2"

NUT, LOCK, Push, 1/2"

1шт.

15

A45514

DISC

BEARING - swivel plate

2шт.

16

A45526

PLATE

- swivel, bottom

1шт.

17

A45523

SLIDE

ASSEMBLY - RH, seat mounting (Includes spring)

1шт.

18

A45522

SLIDE

ASSEMBLY - LH, seat mounting (Includes lever and spring)

1шт.

19

A45060

SPRING

- latch return

1шт.

20

NSS

NOT SOLD SEPARAT

SPACER - slide (Supplied with slides)

4шт.

25

111-237

CARRIAGE BOLT,Short NK, 5/16"-18 x 1", G5

BOLT, CARRIAGE, , Slide to base Short NK, 5/16"-18 x 1", G5

4шт.

26

92-5

LOCK WASHER,5/16"

4шт.

27

9635082

NUT,5/16" - 18, Gr 5

4шт.

28

A45524

ROD

- latch connecting

1шт.

30

A45503

SHOCK ABSORBER

1шт.

31

A45501

BUSHING,0.504" ID x 0.87" OD x 1.417"

BEARING - shock absorber

2шт.

32

A45056

STEP BOLT

BOLT - shoulder

1шт.

33

131-203

LOCK NUT,3/8"-16, GB, LH

NUT - 3/8" NC hex lock

1шт.

34

A45054

BUMPER,Neoprene

- rubber

2шт.

35

131-176

LOCK NUT,Prev Torque, Hex, 5/16" - 18, Gr A

NUT - 5/16" NC hex

4шт.

Выбрано товаров: 29