Запчасти Case IH 2390 (9-386) - CAB, PLENUM (09) - CHASSIS/ATTACHMENTS

Схема запчастей Case IH 2390 - (9-386) - CAB, PLENUM (09) - CHASSIS/ATTACHMENTS
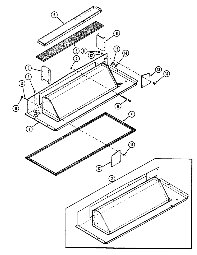
11
12
4
1
3
5
2
7
8
15
10
12
6
12
9
9
10
13
14
11
FIT
1:1
100%

Артикул

Название

Примечание

Количество

1

F98173

DUCT

CHANNEL - air passage (Cab serial no. 12050251 and after)

1шт.

2

F89395

CHANNEL

- air passage (Prior to cab serial no. 12050251)

1шт.

3

187-1088

SELF-TAP SCREW,Hex Wash Hd, #10 x 1/2"

SCREW - #10-16 x 1/2" washer head self tapping

4шт.

4

NSS

NOT SOLD SEPARAT

SEAL - duct floor 111-1/2" (2832.1 MM) (Order F64119)

1шт.

F64119

SEALING STRIP

- seal 100' roll (32.8 M) (Cut to desired length)

1шт.

5

F63841

COVER

- top, air duct

1шт.

6

113-49

BOLT,Hex, 1/4" - 20 x 4", Gr 5

- 1/4 x 4" NC hex (Grade 5)

8шт.

7

86625061

NUT,1/4"-20, GB

NUT - 1/4" NC hex lock

8шт.

8

F63671

SEAL

- top cover

1шт.

9

F63614

PLATE ASSY.

PLATE - filler, air duct side

2шт.

10

113-1

BOLT,Hex, 1/4" - 20 x 1/2", Gr 5

4шт.

11

7770

NUT,Hex, 1/4 - 20, Cl 5

1/4"-20, G5

4шт.

12

192-19

LOCK WASHER,Helical Spring, 0.256" ID, CST, ZND

WASHER, LOCK, 1/4"

4шт.

13

F64013

PLATE ASSY.

PLATE - end, air duct (Without air conditioning)

1шт.

14

353-3

PLUG,Cap, .302" OD

- plastic, 5/16" hole (7.87 MM) (Without heater)

4шт.

15

353-14

PLUG,Cap, .787" OD

- plastic, 13/16" hole (20.57 MM) (Without heater)

2шт.

Выбрано товаров: 16