Запчасти Case IH 2390 (9-392) - CAB, AIR CONDITIONING EVAPORATOR, CAB SERIAL NO. 12029327 AND AFTER (09) - CHASSIS/ATTACHMENTS

Схема запчастей Case IH 2390 - (9-392) - CAB, AIR CONDITIONING EVAPORATOR, CAB SERIAL NO. 12029327 AND AFTER (09) - CHASSIS/ATTACHMENTS
2
7
6
12
5
4
10
3
11
1
FIT
1:1
100%

Артикул

Название

Примечание

Количество

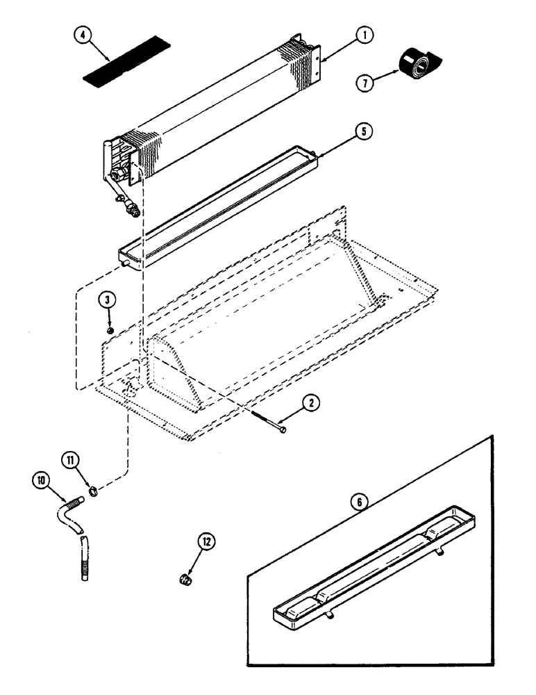
1

F63870

EVAPORATOR

- evaporator

1шт.

2

113-49

BOLT,Hex, 1/4" - 20 x 4", Gr 5

- 1/4 x 4" NC hex (Grade 5)

4шт.

3

86625061

NUT,1/4"-20, GB

NUT - 1/4" NC hex lock

4шт.

4

345-37

TAPE

- cork, core insulator, 2-1/2 x 12 x 1/8" (63.50 x 304.80 x 3.05 MM) (Order A42902)

3шт.

5

F64487

PAN

- condensation (Cab serial no. 12050251 and after)

1шт.

6

F64529

PAN

- condensation (Prior to cab serial no. 12050251)

1шт.

7

A42902

SEALING STRIP

INSULATION - press on, 2-1/2" (63.5 MM) wide 30' (9.14 M) long

1шт.

10

NSS

NOT SOLD SEPARAT

HOSE - drain, corrugated, 90" (2286.0 MM) long (Order A64508)

2шт.

F64508

HOSE,0.43" ID x 100' Bulk

- corrugated 0.43" ID x 100' Bulk

1шт.

11

214-300

CLAMP

- hose, Serial Range: 7/16"-9/16"

2шт.

12

F64504

BUSHING

-, Serial Range: hose-post

2шт.

Выбрано товаров: 11